---------------------------------------------------------------
 Раздел: Наука и техника / Инженерная экология
 Вопросы пылеулавливания, аппараты пылеулавливания.
 Жанр: научно - популярный
 Год издания: 1984
 OCR, spellcheck: Виктор Иванов (monday2000@yandex.ru)
---------------------------------------------------------------

51.21

Ж79

Рецензент --

кандидат технических наук

О. Л. Лебедев

Жолондковский О. И.

Ж79 Внимание, воздух! -- М.: Моск. рабочий, 1985.--

159с.

С загрязнением атмосферы вредными примесями нужно бороться. А чтобы борьба была успешной, необходимо хорошо знать врага. В книге рассказано о различных видах пыли и вредных газах, как и откуда они появляются, что должны делать люди для того, чтобы воздух над городами стал чистым. Много внимания уделено изобретениям, помогающим в борьбе с загрязнением атмосферы. Рассчитана на массового читателя.

Ж

4104020000--199

М172(03)--85

162--85

ББК 51.21

613

© Издательство "Московский рабочий", 1985 г.

*****************************************************************************

Академик Г. М. Кржижановский рассказывал, что в один из солнечных дней 1922 года Владимир Ильич Ленин обратил внимание на дым, валивший из труб первой московской электростанции, и заметил: "Социализм немыслим без дружбы с природой... Серьезно, очень серьезно подумайте об этом в Госплане".

Коммунистическая партия и Советское правительство с каждым годом все больше внимания уделяют вопросам борьбы с загрязнением воздуха. Создана сеть санитарно-эпидемиологических станций и региональных инспекций для контроля за вредными выбросами заводов, фабрик и энергетических предприятий. Ежегодно увеличиваются капитальные вложения в строительство пылеулавливающих и газоочистных устройств. В стране действуют несколько институтов, разрабатывающих новые способы очистки воздуха, пылеуловители и газоочистные установки.

В "Основных направлениях экономического и социального развития СССР на 1981--1985 годы и на период до 1990 года" сказано, что необходимо "совершенствовать технологические процессы и транспортные средства с целью сокращения выбросов вредных веществ в окружающую среду и улучшения очистки отходящих газов от вредных примесей. Увеличить выпуск высокоэффективных газопылеулавливающих аппаратов, водоочистного оборудования, а также приборов и автоматических станций контроля за состоянием окружающей природной среды".

Особенно большое внимание охране воздушного бассейна уделяет общественность. В коллективных договоpax, заключаемых ежегодно между администрацией предприятий и коллективом рабочих и служащих, один из основных пунктов зачастую посвящен совершенствованию существующих и строительству новых пылегазо-улавливающих устройств, освоению безотходных, технологий. Безусловно, полностью безотходные технологии -- оптимум для охраны окружающей среды, но для многих отраслей промышленности -- это вопрос еще далекого будущего. Пока же приходится все более и более совершенствовать очистные сооружения, организовывать системы контроля и наладки действующих пылеуловителей. Проблема сейчас особенно остра не только потому, что загрязненность атмосферы наносит огромный вред здоровью людей и экологической среде, но и потому, что очень часто пыль представляет собой ценное сырье для металлургических предприятий, заводов строительных материалов и химии.

К сожалению, новинки техники, направленные на борьбу с вредными выбросами, распространяются все еще очень медленно. В современных учебниках и специальных книгах приводятся те же устройства, что ив литературе 50-х годов.

В предлагаемой книге вопросы газоочистки и пылеулавливания изложены в популярной форме, в ней описаны признанные Госкомизобретений устройства для борьбы с пылью, приводятся случаи из практики внедрения пылеуловителей. Выход книги своевременен и потому, что в постановлении'III пленума ВСНТО от 18 мая 1984 г. об участии организаций НТО в работе по охране окружающей среды, в частности, говорится и о задачах, стоящих перед Научно-техническим обществом энергетики и электротехнической промышленности имени Г. М. Кржижановского. Это быстрейшее внедрение высокоэффективных золоулавливающих установок для мощных котлов, парогенераторов, работающих на режимах, обеспечивающих максимальное подавление окислов азота, создание установок по улавливанию сернистого ангидрида. Перед НТО черной металлургии поставлена задача по внедрению новых методов очистки коксовых газов от сероводорода, сокращению выбросов окислов азота, разработке и внедрению установок, позволяющих предотвратить загрязнение атмосферы.

Подобные же вопросы предстоит решить НТО цветной металлургии, Всесоюзному химическому обществу имени Д. И. Менделеева, НТО нефтяной и газовой ромышленности имени академика И. М. Губкина др.

Уже сейчас первичные партийные, профсоюзные и комсомольские организации, НТО и ВОИР на многих предприятиях участвуют в охране атмосферного воздуха.

О. И. Жолондковский является энтузиастом охраны воздушной среды. Он не только известный журналист-популяризатор по этой теме, но и автор многих конструкций пылеулавливающих и газоочистных устройств, примененных на таких предприятиях, как завод "Ростсельмаш", Московский чугунолитейный завод имени Войкова, красногорский завод "Цеммаш", Магнитогорский металлургический комбинат и др. Все это позволяет надеяться, что книга.О. И. Жолондковского поможет в решении многих задач по очистке атмосферы. Итак, "Внимание, воздух!".

Б. А. СИМКИН,

заместитель председателя ВСНТО, доктор технических наук, профессор

*****************************************************************************

Введение в пылевыведение

Еще в середине XIX в. пылеулавливание мало кого интересовало. Единственной мерой, которую лондонцы приняли против пыли, было запрещение пользоваться каменным углем для отопления. В каминах жарко потрескивали огромные поленья, и старые леди кутались в теплые пледы.

Может быть, в один из таких зимних вечеров, сидя у камина, молодой физик Джордж Габриэль Стокс задумался над тем, что настанет время и мельчайшая пылинка вырастет в проблему угрожающих размеров. А какие силы влияют на свободное парение пыли? Как применить здесь закон Ньютона, безошибочный при расчете падения крупных тел? Ведь железный шарик размером в несколько микрометров при падении явно чем-то тормозится. И сэр Джордж вывел закон, определяющий силу сопротивления, действующую на твердый шар при медленном перемещении в вязкой среде. Впоследствии закон лег в основу всех расчетов движения частиц в жидкости и газе.

Если, купаясь в реке, нырнуть, открыть глаза и взглянуть вверх с рыбьей точки зрения, увидишь множество взвешенных частичек. Здесь и песок, и глина, и какие-то организмы, и шарики мазута. Все это несется течением и никак не хочет осесть.

В воздухе творится приблизительно то же самое. Только вязкость его намного меньше, чем воды, поэтому и частицы в нем удерживаются лишь очень маленькие и легкие.

Декабрьским днем 1952 г. над Лондоном появились барашки кучевых облаков. Погода была тихая. Дымили трубы фабрик и заводов, работали дробилки и мельницы, врезались в металл наждачные круги, полировальные шкурки драили дерево. А облачность росла. На третий день затишья над городом образовался темный свод, через который едва просвечивало солнце. Люди оказались в положении рыб, живущих в загрязненном водоеме. И вдруг эта дымно-пылевая туча, получившая позже название инверсионного слоя, стала выдавать обратно все, чем ее напитали люди. Пыль больше не могла удержаться в верхних слоях атмосферы и стала оседать. С нею спускались вниз гарь, капельки кислоты, газы.

Первыми жертвами смога, а это был именно он, оказались легочные больные. За четыре дня смог унес 4 тыс. жизней.

Лишь тогда засуетились санитарные инспекции. Фирмы, выпускающие автомобили, начали разрабатывать системы очистки и дожигания выхлопных газов. Вновь решили строить не выдержавшие когда-то конкуренции электромобили. Под угрозой разорительных штрафов к заводским трубам кое-где стали приделывать фильтры.

Владельца одного из металлургических заводов посетил необычный визитер. Он предложил избавить хозяина предприятия от всех неприятностей, связанных с требованиями санитарной инспекции, а взамен просил пустяк -- разрешение поставить возле дымовых труб свои фильтры. Хозяин, считая, что перед ним сумасшедший, тем не менее дал согласие и обязался всю уловленную этим чудаком пыль отдавать ему безвозмездно.

Прошло несколько месяцев, на территории завода выросли какие-то башни, а вскоре их владелец пришел к хозяину и предложил ему купить порошок металла, добытого из пыли. И тут хозяин подсчитал, что ему намереваются ежемесячно продавать ровно 6% выпускаемого продукта без затрат на доставку сырья и оплату труда плавильщиков...

Оказывается, пылеулавливание -- выгодное дело! Из золы электростанций можно извлекать редкие и даже драгоценные металлы, а основную массу сдавать как сырье на цементные заводы. Из сернистого газа получать серу. Из, казалось бы, никому не нужной минеральной пыли делать строительные блоки. И так далее -- без конца. Пылеулавливание выгодно!

Сейчас, в 80-х годах, на большинстве предприятий тем или иным методом 90% пыли из газов все-таки ловят. В воздух летят 10%. Конечно, можно сказать: "Подумаешь, всего десять процентов!" Но правильней воскликнуть: "Целых десять процентов!" Нужно воевать даже за доли процента. "Воевать", но уместно ли здесь это слово? Ведь на каждом заводе есть специализированные службы, в обязанности которых входит контроль за работой пылеуловителей. Конечно, это так, но силы загрязнителей и очистителей атмосферы несоизмеримы. Службе газоочистки без помощи рационализаторов не справиться со смогом. Значит -- война?

Но чтобы воевать, нужно знать врага. В данном случае-- физико-химические свойства пыли и газов. Нужно владеть оружием -- знать весь арсенал средств, уже придуманных инженерами и учеными.

В любой патентной библиотеке вы найдете массу таких изобретений, как советских, так и зарубежных. Каких только систем нет: и пылеосадочные камеры, где пыль осаждается за счет расширения газа, и рукавные фильтры из шерстяной фланели, в которые загоняют газ и заставляют его выходить наружу через поры материи. Фильтров построено множество, но чтобы их поры очистить от пыли, рукава надо трясти, продувать и выколачивать, а это гибельно для ткани. Ведь в дырявом мешке пыль не удержать.

Очень много патентов на электрофильтры. Если в пылеосадочной камере подвесить проволочные электроды и подвести к ним высокое напряжение, то заряженные частицы, образующиеся из воздуха, начнут двигаться по силовым линиям электрического, поля. По пути они захватят с собой частицы пыли и тумана и доставят их к электроду. Потом электроды встряхнут, и пыль с них упадет в бункер. Но и этот пылеуловитель имеет ряд недостатков. Он очень громоздок, его электрооборудование сложно в эксплуатации, а во время встряхивания часть пыли с электродов все же уносится в атмосферу.

Есть другой фильтр -- полная противоположность этому: не громоздок, не требует никакого электрооборудования, эксплуатировать его просто. На основе электрического, точнее электростатического, явления химики создали фильтрующие материалы из ультратонких волокон. Частицы пыли, пробиваясь между паутинками этой ткани, трутся о них. На волокнах возникают мощные электрические заряды, притягивающие даже не видимые глазом частицы. Но и это не абсолютный пылеуловитель. Горячий газ в него подавать нельзя -- ткань расплавится, как капроновый чулок. После загрязнения вторично использовать ткань невозможно, старую приходится выбрасывать и ставить новую.

Одно время многие инженеры большие надежды возлагали на ультразвуковой способ.

В библейской легенде рассказывается о том, как стены Иерихона рухнули от рева множества труб осаждающей его армии. Это, может быть, одно из первых упоминаний о работе, проделанной звуком. В трудах немецкого физика Августа Кундта описан один из его опытов: стеклянную трубку, заполненную дымом, "озвучивали" свистком. Результат -- дым моментально исчезал. На стенках трубки оставались лишь крупные частицы сажи. Под действием ультразвука частицы дыма соударялись и слипались друг с другом. Кундт сделал вывод: если озвучивать поток частиц достаточно долгое время, от соударений они превратятся в крупинки-драже, которые могут легко выпасть из потока воздуха.

На этой основе были созданы более мощные, чем свисток, ультразвуковые генераторы. Газ пробовали обрабатывать прямо в дымовой трубе. Но мощность "неслышимого", ультразвука, так велика, что рядом с таким пылеуловителем просто невозможно находиться. Так что пока не прижилось и это устройство.

Пытались конструкторы копировать, и природу. Вот прошел дождь. Пыль прибило, и воздух посвежел. Решили подражать дождю. Построили оросительную камеру, включили форсунки. Ливень обрушился на запыленный газ, но... Одни пылинки сразу смыло водой, а другие летят себе дальше, пройдя, казалось бы, непроходимую водяную завесу. Оказывается, все дело в зарядах. Пылинки, имеющие разноименные с каплями воды заряды, притягиваются к ним и улавливаются, а с одноименными зарядами старательно обходят каждую каплю. Следовательно, перед улавливанием нужно всю пыль зарядить одноименным зарядом? Но как это сделать? Надо приспособить "заряжающее" устройство, которое будет напоминать уже знакомый электрофильтр. Но получится нагромождение двух известных аппаратов?! Да, двухступенчатые пылеуловители -- не абсурдное решение. О некоторых вариантах спаривания двух разных систем мы еще поговорим.

Итак, звучат мощные сирены, бушуют фонтаны воды, сверкают высоковольтные разряды, а зловредная пылинка продолжает летать.

Зайдите в прачечную и посмотрите на цвет воротника рубашки в том месте, где он касается шеи, и вы сразу узнаете, в каком районе города живет клиент.

Коричневый цвет -- цвет окислившегося железа: человек обитает где-то у металлургического завода; синий -- это кубовый краситель: клиент -- сосед анилино-красочного производства; серый -- цвет окиси алюминия; зеленый -- меди. Над каждым заводом облако своей пыли.

Как же изловить сверхлетучую пылинку? Снизить бы вязкость воздуха! Но этого мы не умеем, а если и умели, не стали бы применять этот способ. Через атмосферу, лишенную вязкости, нас атаковал бы дождь мелких метеоритов.

Может быть, поможет химия? Представьте себе какое-то очень дешевое микропенистое или микропористое активное вещество, через которое газ проходит легко, а все частицы задерживаются. Загрязнился этот очиститель -- его убрали вместе с пылью. Но для этого он должен быть крайне дешевым...

На любой ТЭЦ горячий воздух, газы, дым проходят через дымосос. Там вращается ротор -- большое колесо, как у водяной мельницы. Взгляните, до какого блеска отполированы его лопасти. Это сделала тончайшая зола.

Я видел фотографии газовых потоков, возникающих между лопастями ротора. Вот гаа поток газа и частичек золы набегает быстро вращающийся ротор. Зола ударяется о его лопасти, скользит по металлу, как бы полирует его. Лопасти быстро срабатываются. Местами они утоньшаются до толщины бумажного листа. Были попытки использовать соударения пылинок и лопастей ротора для осаждения пыли, но сводились они к прикреплению на лопастях разных ловушек, лабиринтов и изгибов -- всего того, что пагубно сказывается на коэффициенте полезного действия дымососа. И все же заставить дымосос по совместительству вылавливать частицы золы-- задача разрешимая.

Возможных решений -- множество. Но в идеале нужен совершенно универсальный и эффективный абсолютный пылеуловитель, сокращенно АПУ, Он должен не бояться высокой температуры, иметь ничтожное сопротивление воздуху, не требовать больших затрат электроэнергии, не загрязнять водоемы пульпой, иметь удобное устройство для извлечения уловленной пыли. Задача такого АПУ -- ловить, ловить и ловить пыль. Магнитную и немагнитную, грубую и тонкую, электропроводную и изоляционную, гладкую и пушистую. АПУ ждут. На него надежда проектировщиков домен, конвертеров и химических реакторов.

Изобретательские предложения нужны остроумные, с элементом неожиданности, но не скороспелые. Надо помнить не только об эффективности пылезадержания, но и об экономике. Иначе можно прийти к абсурдным конструкциям. Например, один француз предложил нагнетать дым в многокилометровый подземный тоннель с тем, чтобы он фильтровался через слой земли и выходил очищенным наружу через мельчайшие поры. Было также высказано предложение надевать на дымовую трубу большой валяный сапог. Слов нет, и первая, и вторая конструкции работоспособны. Но во что обойдется прокачка газа через землю и как часто придется менять прогоревшие валенки?!

И еще. Встав на путь изобретательства, любой новатор обязательно должен ознакомиться не только с технической литературой по избранному направлению, но и начать регулярный просмотр "Бюллетеня изобретений и товарных знаков". Правда, там публикуются только чертежи и формулы изобретений, но зачастую этого достаточно для того, чтобы узнать, как развивается данная отрасль техники.

Словом, не изучив вопроса, изобретать лучше не браться. Девятьсот девяносто девять шансов из тысячи, что вы пойдете уже хоженым путем.

Борьба с промышленным загрязнением атмосферы стала осознанной необходимостью миллионной армии инженеров. Дают свои предложения Всесоюзный научно-исследовательский институт охраны труда, Научно-исследовательский институт очистки газов, Всесоюзный НИИ санитарной техники и еще множество НИИ, КБ и ОКБ. В Государственный комитет по делам изобретений и открытий СССР одна за другой поступают заявки на. фильтры для газов, на новые бездымные способы производства. И комитет, и технические советы предприятий с особым вниманием подходят к работам, посвященным охране окружающей среды.

Автор ставит перед собой задачу -- помочь новаторам сориентироваться в потоке информации, посвященной пылеулавливанию и газоочистке, уберечь от ошибок, которые неизбежны, если за дело берется неспециалист, и тем не менее привлечь и их к работе по охране атмосферного воздуха. Ведь самые оригинальные идеи, позволяющие решить вопрос, стоящий перед специалистами многие и многие годы, зачастую рождаются у исследователей, работающих в других отраслях науки и техники, свободных от целого ряда "цеховых" предрассудков.

ЛОВЦЫ ПЫЛИНОК

ЧТО ТАКОЕ ПЫЛЬ ?

Английский ботаник Роберт Броун, наблюдая под микроскопом движение цветочной пыльцы в воде, подумал, что перед ним микроорганизмы. Пылинки, как живые существа, суетились, расталкивая друг друга. Он нагрел воду до температуры, при которой никакая жизнь невозможна, и с удивлением увидел, что движение пылинок осталось прежним. Ученый решил исследовать поведение тонкодисперсной пыли в воздухе, заключенном в сосуд. Пляска частиц продолжалась. Позже стало понятно, что пылинки движутся под влиянием молекул окружающей среды. В честь первооткрывателя это явление назвали броуновским движением.

Так был сделан основополагающий вклад в физику, и в частности в теорию пылеулавливания, с которой читателю хотя бы вкратце нужно ознакомиться. Прежде всего уточним, что такое пыль? Пыль -- это мельчайшие твердые вещества, витающие в воздухе или промышленных газах.

Наиболее распространена та, с которой мы боремся в обиходе и которую поднимаем на дорогах. С ней, кстати, труднее всего бороться, но она и наименее вредна. Прочая -- это те неуловимые 10%, о которых я упоминал раньше,-- основной враг и предмет данного разговора.

По происхождению пыль делится на органическую -- из растительных материалов, неорганическую -- из металлических, минеральную и смешанную. Взвешенные частицы пыли значительно отличаются от родственного вещества в нераздробленном состоянии, и соответственно меняются их взаимоотношения с окружающей средой. Пыль различается по удельному весу, форме, электрозаряженности, воспламеняемости, способности поглощать, или адсорбировать, разные вещества и другим физико-химическим свойствам.

Для определения состава пыли и содержания ее в воздухе или газах необходим химический анализ. Пыль классифицируется по размерам частиц --фракциям, которые измеряются в микрометрах. Степень измельчения частиц пыли называется дисперсностью. Отсюда и специальные термины: дисперсионная среда -- газы или воздух, дисперсная фаза -- взвешенные частицы, вся система -- аэродисперсная, или аэрозоли.

Всем нам известный туман -- это не что иное, как аэрозоль из мельчайших частиц жидкости; дым -- из мельчайших твердых частиц. Пыль же -- это грубодис-персная аэрозоль.

Вы смололи кофе и немного просыпали его -- воздух сразу наполнился ароматом: это вы вдохнули кофейную аэрозоль. Кроме удовольствия, вы ничего от этого иметь не будете. Но есть ведь пыль железная, медная, чугунная, алюминиевая, цементная, кварцевая, асбестовая, наждачная, свинцовая, цинковая... Постоянно, а во многих случаях круглосуточно работают заводы, фабрики, шахты. Там идут помол, дробление, истирание, бурение. Там сжигают, обжигают, плавят, сушат, возгоняют и т. д. и т. п. А в результате в воздухе появляются вредные туманы, пыль, дымы. Частицы, их составляющие, тем вредней, чем больше дисперсность пыли. Ведь при этом увеличивается суммарная поверхность раздробленного вещества, и оно куда активней вступает в химические реакции, у него становится больше объемных электрических зарядов, идет повышенное поглощение газов.

От дисперсности пыли зависит и оседание ее частиц. Крупные частицы оседают быстрее. На частицы размером 0,1--1 микрометр (мкм) оказывают влияние воздушные тепловые потоки и броуновское движение, и они гораздо дольше находятся во взвешенном состоянии.

Каждая взвешенная в воздухе частица подвергается действию противоположно направленных сил -- силы тяжести и силы трения частицы о воздух при ее падении. При определенных значениях удельного веса, размера и формы частицы сила трения может уравновесить силу, тяжести и падение ее будет продолжаться с постоянной скоростью по закону Стокса.

При движении частиц в воздухе происходит их столкновение, при этом отдельные частицы высокодисперсной пыли соединяются (коагулируют) в более крупные частицы.

Сближение частиц, приводящее к их столкновению, может быть самопроизвольным (самопроизвольная коагуляция) и вынужденным (вынужденная коагуляция).

Самопроизвольная коагуляция может быть обусловлена одним лишь тепловым (броуновским) движением частиц (тепловая или броуновская коагуляция) или одними лишь электрическими силами, действующими между заряженными частицами при отсутствии внешнего электрического поля (самопроизвольная электрическая коагуляция).

Вынужденная коагуляция обусловлена внешними силами, действующими на частицы высокодисперсной пыли, К ней относится ультразвуковая, аэродинамическая, турбулентная и вынужденная электростатическая коагуляция, обусловленная действием внешнего электрического поля.

Однако не всякое столкновение частиц ведет к их коагуляции. Это объясняется тем, что на поверхности высокодисперсных частиц имеется слой адсорбированного газа, который сильно мешает их слипанию. Если же притяжение частиц все-таки происходит, то получается слабое сцепление их с образованием очень непрочного хлопьевидного агрегата.

Представим себе пылинку, падающую в воздухе. Сила притяжения тянет ее вниз, и частица начинает разгоняться. Но при этом возникает и сила сопротивления воздуха, которая направлена вверх. Сначала сила притяжения больше, чем сила сопротивления, и частица движется с ускорением, но по мере роста ее скорости увеличивается и сила сопротивления воздуха. Через некоторое время сила притяжения будет полностью уравновешена силой сопротивления. После этого движение частицы не будет ни ускоряться, ни замедляться, и она начнет двигаться с постоянной скоростью, называемой предельной.

Например, пылинка размером 1 мкм, содержащаяся в газах, выходящих из дымовой трубы, будет опускаться со скоростью всего 0,003 см/с, а капелька дождя диаметром 1 мм -- со скоростью 460 см/с. В отличие от дождевых капель частицы дыма и пыли падают настолько медленно, что фактически они как бы взвешены в воздухе и вместе с ним поднимаются, перемешиваются с чистым воздухом и распространяются в атмосфере. Оказавшись в ней, частицы там не остаются. Подсчитано, что примерно за две недели состав атмосферы обновляется. Этот период называется временем оборачиваемости частиц. Но это не значит, что за это время атмосфера полностью очищается. Так было бы, если бы в нее больше ничего не попадало. К сожалению, скорость поступления туда новых частиц примерно такая же, как скорость их удаления.

Таким образом, общее содержание дыма и пыли вроде бы остается приблизительно одним и тем же. Однако в наше время есть основания полагать, что загрязненность атмосферы увеличивается.

Некоторые думают, что очищению атмосферы способствуют дождь и снег. Действительно, в какой-то мере это так. Многие наблюдали, как в ветреный, пыльный день прошедший вдруг дождь переносил грязь из воздуха на стекля автомобилей, сохнущее белье, на волосы. Очищается одно -- загрязняется другое.

В теории пылеулавливания очень важно знать размеры частиц промышленной пыли. Условно их разделяют на три группы:

частицы радиусом больше 10 мкм (грубая пыль), которые можно рассмотреть в микроскоп при малом увеличении;

микроскопические частицы радиусом 10--1 мкм, различимые при обычных методах микроскопии;

v ультрамикроскопические частицы радиусом меньше 1 мкм, видимые в ультрамикроскопе или в электронном микроскопе.

Диаметр частицы можно определить по скорости ее витания, или падения, в спокойном воздухе. Ну, а как же узнать, что собой представляет та или иная уловленная пыль? Прежде всего ее нужно суметь поймать. Чем тоньше пыль, тем сложней и дороже приборы, предназначенные для ее улавливания. На большинстве московских заводов созданы службы, следящие за работой пылеулавливающих установок. Чаще всего для взятия проб пыли они используют воздуходувку с присоединенными к ней ротаметрами -- стеклянными трубками, внутри которых находятся легкие алюминиевые колпачки. Резиновые шланги соединяют ротаметры с пылезаборными трубками, к ним же подсоединены расширители с предварительно взвешенными тончайшими фильтрами, сделанными из синтетических волокон.

Заметив время, лаборант устанавливает пылезаборные трубки в помещении, где необходимо отобрать пробу воздуха, и включает прибор. Воздуходувка начинает всасывать воздух по резиновым шлангам через ротаметры и фильтры. Проходя через стеклянные трубочки ротаметров, потоки отсасываемого воздуха поднимают алюминиевые колпачки. Чем больше объем отсасываемого воздуха, тем выше поднимаются колпачки. Лаборант следит, чтобы они находились на заданном уровне, соответствующем определенному расходу воздуха. По истечении заданного времени отсос воздуха прекращают и фильтры взвешивают. Узнав, насколько они потяжелели, лаборант делит полученную величину на количество пропущенного через фильтр воздуха. Например: привес фильтра 2 г, а пропущено через него 10 м3 воздуха. Выходит, запыленность в помещении катастрофически велика -- 200 мг/м3! Данные испытания передается вентбюро с предписанием срочно принять меры по обеспыливанию данного участка.

Несколько сложней отобрать пробу воздуха из газохода, по которому пыль летит с большой скоростью. Главное условие правильности отбора -- это создание в устье пылезаборной трубки, введенной в газоход, точно такой же скорости, как и в сечении газохода. Дело в том, что при более быстром заборе частиц мы будем брать не только те частицы, которые оказываются перед устьем, но и подсосем соседние. В результате количество попавших в фильтр частиц будет больше, чем фактически их было в газоходе. И наоборот, при низкой скорости отбора пробы пыли в устье трубки возникает воздушная пробка, мешающая попасть в фильтр всем частицам, которые оказались перед устьем трубки в момент отбора пробы. В результате проба окажется заниженной по сравнению с фактической запыленностью, которая в данное время была в газоходе.

Сложность, которую приходится преодолевать лаборантам при отборе проб,-- выпадение росы в пылезаборной трубке. Конденсат попадает на фильтр и затрудняет просасывание воздуха. Нередко фильтр разрывается, и тогда опыты повторяют. Чтобы избежать этого, иногда приходится делать электроподогреватели для пылезаборных трубок или ставить специальные емкости для выделения конденсата из отсасываемой пробы воздуха.

Еще большие сложности лаборанты испытывают, когда требуется определить размеры пылинок в отобранной пробе. Возьмите ватный шарик и бросьте его с определенной высоты. Сколько времени потребовалось ему, чтобы достичь пола? Секунда? Меньше? Но то же количество ваты, если ее распушить на волокна, проделает этот путь не за одну, а за несколько секунд. Причина этого несовпадения -- сопротивление воздуха. Высота, с которой сбросили частицы, поделенная на время падения, называется скоростью витания. Чем она выше, тем легче поймать пылинки с соответствующим размером в поперечнике.

Но как измерить его? Что считать поперечником пылинки, если сами эти пылевые частицы имеют, как правило, самую разнообразную форму: это и спиральки, и пластиночки, и стержни. Для простоты расчетов ученые условились все пылинки считать шариками, а диаметры их определять в соответствии со скоростью витания. Чем она больше, тем, стало быть, больше диаметр пылинок. Условно пылинка с низкой скоростью витания -- это шарик диаметром 5 мкм, а фактически это может быть чешуйка с поперечником 50 мкм. Только падает она очень медленно из-за того, что парашютирует в воздухе. На практике почти нет монофракционных пылей -- с одинаковыми размерами всех частиц. Инженерам приходится иметь дело с полифракционными пылями, и скорости витания их отдельных частиц разнятся в десятки раз. Особенно заметно это во время "залповых" пылевых выбросов, связанных с падением больших масс земли, когда крупные песчинки сразу падают на землю, а мелкие фракции глины еще долго парят над карьером. На основе сравнения скорости витания пылинок с их диаметрами разработан и метод исследования -- воздушная сепарация в вертикальных цилиндрах. Принцип ее действия заключается в том, что исследуемую пыль вводят в воздушный поток, имеющий постоянную скорость. При этом мелкие частицы выносятся из цилиндра, а остальные падают вниз. Оставшуюся, пыль пропускают через другой цилиндр с более высокой скоростью, и вновь в нем оседает только часть пробы. Пропустив навеску пыли через несколько цилиндров и каждый раз взвесив остаток, можно рассчитать процентное соотношение частиц с различными скоростями витания и, следовательно, с разными условными диаметрами.

ПЫЛЕВОЙ ПОТОК НА ПРОСВЕТ

В июне 1984 г. над Токио появились НЛО (неопознанные летающие объекты). Ярко-зеленые светящиеся диски зависли над городом. Возникла паника. Люди ждали массового десанта инопланетян. Только под утро выяснилось, что это были блики от многократно отраженного луча лазера, которым доктор Сакурао определял уровень запыленности воздуха. Вопреки ожиданиям плотность инверсионного слоя оказалась настолько велика, что луч от него отразился, как от стенки. А сейчас немного истории.

В 1899 г. с помощью филигранной экспериментальной техники П. Н. Лебедеву удалось измерить световое давление. И теперь оно становится привычным инструментом для инженера. Практическое применение лазеров до недавнего времени в основном относилось либо к области чистой оптики, либо было связано с тепловыми воздействиями светового луча. Таковы лазерные микроскопы, лазерные резаки, прошивные и сварочные аппараты, которые сверлят алмазы, лечат сетчатку глаза, выжигают татуировку и раскраивают текстильные ткани.

Остроумные эксперименты, недавно проведенные в научных лабораториях, убедительно говорят о большом изобретательском потенциале этого физического феномена. Применяются лазеры и в цехах заводов.

В производственных условиях многих предприятий, особенно металлургических, необходимы автоматические приборы, надежно следящие за запыленностью помещений. Требуется также неослабный контроль за нарастающей концентрацией пыли силиката кальция и ферросилиция в закрытых трубопроводах и бункерах. Ведь при повышенной концентрации (30--40%) возможны самопроизвольные взрывы.

Поэтому большим достижением явилось создание в Ждановском металлургическом институте универсального пылемера, основанного на лазерном методе определения концентрации любой пыли в воздухе. Появляется возможность вести измерения непрерывно, не разрушая агрегаты частиц, что имеет место при пользовании другими способами.

При анализе загрязнений воздуха необходимо узнать и вес парящих в нем частиц на единицу объема. Иначе не определишь, не превышает ли его запыленность допустимые нормы. Свой способ, как взвесить пылинку, показала на выставке в Москве фирма "Сарториус" из ФРГ. Автоматический пылеуловитель, прокачав заданный объем воздуха (до 25 м3/ч), собирает взвешенные в нем пылинки механическими и электростатическими фильтрами. "Добыча" автоматически заворачивается в салфеточку из стеклоткани и помещается в кассету, точный вес которой известен. Собранные загрязнения взвешиваются затем на электронных весах, пружина или коромысло которых заменены электромагнитным полем. Вибрации и смена температур на точность весов не влияют, а сама точность в 10 раз выше, чем у весов механических. Все показатели обрабатываются встроенной в корпус весов мини-ЭВМ. Она ведет свою "бухгалтерию" пылинок: учитывает вес отдельного сбора или нескольких за определенный период, среднее значение всех взвешиваний, сравнение их между собой. Результат выдается за 2 с на табло.

Воздушная среда над городами и крупными промышленными центрами требует постоянного контроля. Незначительное изменение состава воздуха может повлечь за собой катастрофу.

По сведениям, распространенным "Юнайтед пресс Интернейшнл" 11 мая 1982 г., сотрудники Вашингтонского университета доктор Роберт Чарлсон и Нормал Алквист получили патент на прибор, предназначенный для определения содержания вредных примесей в атмосфере. Принцип действия нового прибора, названного интегральным нефелометром, основан на явлении рассеяния света мельчайшими твердыми частицами, содержащимися в воздухе. Аналогичный принцип, кстати, использовался раньше в приборах для определения видимости на аэродромах.

Воздух в приборе засасывается в трубообразное устройство, в котором проба облучается светом лампы-вспышки, и количественное содержание твердых частиц определяется по яркости рассеиваемого света.

В настоящее время интегральный нефелометр используется в обсерватории на одном из Гавайских островов, где проводится серия экспериментов по определению оптических свойств чистого воздуха и разработке методов оценки загрязнения атмосферы твердыми частицами в глобальном масштабе.

Все эти приемы относятся к взятию проб пыли, которую уже не поймаешь. Так сказать, картина запыленности воздуха есть, а точно узнать, откуда какая пылинка взялась, крайне трудно.

Гораздо чаще нужно брать пробы газов прямо на месте, непосредственно у пылящего и дымящего, оборудования, в воздуховодах, дымовых трубах, открытых проемах световых фонарей. Делается все это по определенным методикам. Запыленность газа выражают в граммах или миллиграммах на 1 м3 газа при нормальных условиях. Для ее определения применяют прямой и косвенные методы. Чаще используют прямой метод. Он состоит из отбора из запыленного газового потока части газа, в котором концентрация и дисперсный состав пыли не отличаются от этих показателей в основном потоке. Место отбора газа должно быть на прямом и ровном участке газопровода, чтобы газовый поток находился в установившемся состоянии и пыль в нем была равномерно распределена по сечению газопровода. Для получения правильных значений запыленности газопровод разбивают на равные по площади участки. Распределение пыли по сечению газопровода называют полем запыленности. По полученным результатам находят средневзвешенную величину запыленности газа по сечению газопровода. При прямом методе определения запыленности газа применяют внешнюю и внутреннюю фильтрации.

При внешней фильтрации газ отбирают заборными трубками. Их вводят внутрь газопровода, а фильтр для осаждения пыли из пробы газа располагают вне газохода. При внутренней фильтрации устройство для улавливания пыли помещают прямо в газоход. Этот метод применяют, когда в газах содержатся смолы, липкая пыль или другие компоненты, которые могут засорить заборную трубку и привести к неправильным результатам при определении запыленности газа.

Для измерения объема отобранной пробы газа и приведения его к нормальным условиям чаще всего применяют ротаметры.

Есть и косвенные методы установления величины запыленности газа. Густоту окраски газа, выходящего из дымовой трубы, сравнивают со специальной шкалой; с помощью оптических приборов судят о величине поглощения пылью световых или тепловых лучей и т. д. Но это не дает точных результатов.

Скорость газа в газоходе замеряют пневмометрической трубкой, соединенной с микроманометром, температуру и разрежение газа -- термометром и микроманометром, влажность газа -- психрометром.

Определение запыленности газа внешней или внутренней фильтрацией -- сложная и трудоемкая операция. Поэтому в производственных условиях часто применяют упрощенные ловушки, которые вводят на определенное время в газоход, и по разности массы фильтра ловушки до и после запыления судят о запыленности газа.

Применяют их иногда и для контроля золоуловителей. Одну такую ловушку мне пришлось сделать для быстрого определения качества помола угля в шахтной мельнице. Чтобы избежать подключения к ловушке вакуум-насоса, в качестве источника разрежения решено было использовать эжектор, действующий непосредственно от проходящего через него пылевоздушного потока. Ловушку прикрепляли к стальному прутку и помещали в исследуемом потоке -- за 5--6 мин она наполнялась пылью. Оставалось только просеять навеску пыли через набор сит различной плотности, и картина работы мельницы становилась ясна. Если пыль задерживалась только самым плотным ситом, значит, все оставалось в порядке, а если частицы оседали и на ситах с большими отверстиями, пора было мельницу ремонтировать, так как молотки, которыми она измельчает уголь, износились. И все-таки процесс отбора пробы был не совсем удобен. Устанавливать ловушку в характерных точках шахты, перемещать ее в поперечном сечении, следя за тем, чтобы она всегда была направлена носиком навстречу потоку,-- дело не из легких.

К счастью, упростить эту операцию помог случай.

ЛАБОРАНТ БЫЛ С ЛЕНЦОЙ

Нужно ли доказывать, что скрупулезность -- залог успеха научного эксперимента? Хотя бывают и исключения... Во время проведения опытов по снятию скоростных полей запыленного потока я пользовался прозрачными участками воздуховодов, в которых были просверлены отверстия для измерительных трубок. Согласно инструкции после извлечения трубки из отверстия его необходимо закрыть резиновой пробочкой. Таких, в общем-то правильных, требований в методиках немало, да вот только следуют им далеко не всегда.

Посмотрите на вентиляционные воздуховоды, проложенные в производственных помещениях. Что ни ответвление, то отверстие с двухкопеечную монету. Провели наладчики испытания, а загерметизировать дырочки забыли, а может, пробочек под рукой не оказалось.

Однажды после очередного опыта, осматривая прозрачные воздуховоды установки, я вдруг заметил напротив отверстия для трубки маленькое белое пятнышко. Проанализировав ситуацию, я понял, что пылевой нарост появился из-за попадания в пылевой поток чистого воздуха, струя которого пронизывает поток под углом в 90° и выносит из него пылевые частицы. Спасибо лаборанту, который поленился поправить наладчиков...

Возникла мысль, а что если использовать этот эффект для отбора представительной пробы пыли, идущей на технологические нужды. Тонина помола в целом ряде случаев играет решающую роль в самых разных процессах. Машинисту парового котла нужно знать дисперсный состав угольной пыли, вдуваемой в топку, машинисту мельницы и технологу цементного завода -- то же. Вместо пылезаборных трубок, фильтров и ротаметров можно сделать простейший пробоотборник, вся суть которого сводится к тому, что на противоположных стенках пылепровода просверливается по отверстию. В одно поступает воздух, а из другого вылетает проба. Если пылепровод под разрежением, не нужно никакого добавочного источника давления, а если под напором, достаточно от линии сжатого воздуха отвести 4-миллиметровую трубочку. Острая, как игла, воздушная струя пронижет запыленный поток и моментально выхватит из него встретившиеся на пути пылевые частицы.

На следующий день я и мои товарищи наладчики подготовили новый опыт. Для наглядности цементную сырьевую муку подкрасили тонкой цветной пылью, отверстие снабдили небольшим соплом для направления поперечной струи и включили установку. Через час напротив сопла образовался нарост из пыли, в которой были заметны и частицы красителя. Остальное, как говорится, было делом техники. На месте, где образовывался нарост, прорезали отверстие и установили ловушку с лючком для выпуска пробы. "Струйная ловушка" нашла свое применение всюду, где необходимо но условиям технологии вести постоянный отбор проб пыли. Простота и надежность этого устройства (авторское свидетельство No 270341) позволяют использовать его и для технологических нужд.

Задачу, как проще отбирать пробы из воздуховодов и пылепроводов, таким образом решили, но оставалась еще одна длительная и трудоемкая операция -- рассевка отобранной пробы. Она нужна для того, чтобы узнать фракционный состав пыли. Обычно пробу просеивают через набор сит разной проходимости.

Современные виброгрохоты и полигональные сита копируют движения бабушкиного решета. На заводах промышленности строительных материалов, на химических предприятиях и горнообогатительных фабриках техника просеивания дальше этого не шагнула. В конце концов с этим можно было бы мириться, если бы не ущербность самого принципа просеивания. Горка сыпучего материала контактирует с ситом только своим основанием. На остающиеся в сите частицы нижнего слоя давит еще не рассеянный материал и вдавливает их в ячейки. Чтобы очистить сито, его трясут с еще большими частотой и амплитудой, постукивают по обечайке, но все равно раньше чем через 15--20 мин даже 100-граммовую навеску не просеять. Еще неудобство: после каждой рассевки устройство останавливается -- нужно удалять крупные частицы, оставшиеся на сите.

В аппарате, разработанном в отделе сепарационных устройств ВНИИцеммаша О. К. Чекаловцом (авторское свидетельство No 187677), рассевка происходит мгновенно, крупные фракции ни секунды не задерживаются на сите. Добиться такого эффекта он сумел просто: сито расположил вертикально, а чтобы прогнать через него порошок, применил электрическое поле. Небольшой аппарат ничем не напоминает своих шумных и пылящих прототипов. В небольшом корпусе расположены плоский электрод, выполненный в виде проволочной решетки, а параллельно с ним -- металлическая разделительная сетка, являющаяся осадительным электродом. Поворот выключателя -- и легкое потрескивание извещает о том, что в аппарате создалось мощное электрическое поле. Питатель плоской струей направляет цемент в зазор между электродами. И тут частицы материала вместо того, чтобы упасть на дно аппарата, вдруг делают поворот на 90° и устремляются к сетке. "Приземляются" они, лишь пройдя разделительные ячейки. Крупные же частицы, коснувшись сетки, съезжают по ней вниз в приемный лоток.

Все делает электрический "ветер". Он возникает между коронирующим и осадительным электродами и несет рассеиваемый материал к сетке. Электрический "ветер" может моментально разделить сыпучий продукт на несколько различных фракций, заменив длительную вибрацию, необходимую для ситового анализа. Может из низкосортного цемента выделить, самые тонкие фракции, и при минимальных затратах электроэнергии прямо на строительной площадке вы получите цемент марки "600", которого так часто недостает для изготовления особо ответственных деталей. Электрический "ветер" в сотни раз сокращает время рассева сыпучего материала, поэтому новый сепаратор можно включить в любую непрерывно действующую линию производства, будь то завод порошковой металлургии или фабрика, выпускающая дамскую пудру. Прибор испытан на гипсе, цементе, меле, песке и других материалах. Эффективность классификации материалов достигает 95%. Износ сетки-электрода совершенно незначителен, поскольку с материалом она контактирует минимально.

Но не только производством строительных материалов ограничивается область применения сепаратора О. К. Чекаловца. Его уменьшенная модель может уже сейчас без особых переделок просеивать зубной порошок, различные абразивы, применяемые при изготовлении точильных и шлифовальных камней, производить точнейший анализ атмосферной пыли, помола пылевидного топлива, муки и различных химических веществ.

СМОГ: ТРЕВОГА НОМЕР ОДИН

Корреспондент ТАСС Ю. Устименко писал с Олимпийских игр 1984 г. в Лос-Анджелесе: "Верхних этажей небоскребов не видно за густыми клубами дыма -- ядовитой смеси выбросов заводских труб и выхлопных газов сотен тысяч автомобилей, которые в часы пик запруживают десятки километров дорог.

Световые табло на дорогах советуют водителям держать окна закрытыми. Да и без этого предупреждения вряд ли кто решится высунуть нос на улицу. Отравленный воздух саднит легкие, вызывает сухой кашель. По радио объявлена тревога номер один..."

Конечно, при добром согласии владельцев машин и промышленных объектов можно было бы прекратить пользование автомобилями без острой необходимости и приостановить процессы, сопровождающиеся пылевыделением. Смог --бедствие социальное. "Мы предупреждали, что будет именно так, но нас никто не слушал! -- говорил член муниципального совета Лос-Анджелеса К. Хэн.-- В таких условиях газеты мира будут писать не о спортивных рекордах, а о смоге, да и можно ли вообще говорить о спортивных достижениях?"

Олимпия, где проводились первые игры, была прекрасным городом с очень здоровым климатом. Думается, что пришло время подумать о том, чтобы будущие Олимпийские игры организовывались только в городах с чистым воздухом. Слова "смог" и "спорт" соседствовать не должны.

Непрерывно растущее промышленное производство влечет за собой использование различного сырья и топлива. В свою очередь, это увеличивает выброс газов и пыли в атмосферу.

Одной из самых насущных и трудных проблем сегодняшнего дня является борьба за чистоту атмосферы вообще. Не только в одном регионе, а над всей планетой. Ученые-исследователи находят частицы пыли и газов в воздухе самых отдаленных от цивилизованного мира местах, вплоть до Антарктиды.

Воздействие культурной деятельности человека на природу началось еще сотни лет назад, но основные сложности возникли, когда развилось массовое кузнечное производство.

...Множество небольших горнов, принадлежавших ремесленникам, дымило в графстве Додлей. Сын графа и простой женщины, Дод Додлей уже в юные годы в совершенстве овладел кузнечным мастерством, мог сложить из камня горн, выплавить отличный металл. Умения этого, кстати, в, Англии не гнушались многие представители аристократических фамилий. За столами владетельных особ кузнецы сиживали рядом с капелланами. Ведь один заботился о спасении души хозяина, а другой -- тела... И сейчас изображения щипцов и наковальни встречаются на гербах старого английского дворянства.

Плавильные горны, как правило, располагались далеко от мест добычи руды. Их нужно было строить поближе к лесным массивам, так как без древесного угля железо выплавлять не умели, а нужно его было во много раз больше, чем руды.

Кроме кузнечного дела Дод горячо любил природу и с тоской наблюдал, как под топором углежогов вековые леса превращались в дым.

До этого многие пробовали заменить каменным углем древесный, но все, как один, терпели неудачи. Вредные примеси, содержавшиеся в угле, делали железо непрочным. Молодой Додлей решил, прежде чем пускать уголь в плавку, извлекать из него серу. А однажды он попробовал получить железо не на свежем, а уже побывавшем в топке полусгоревшем угле, сера из которого уже улетучилась. Сейчас это называется коксом.

В 1620 г. король Англии выдал Додлею патент на новый способ выплавки железа.

Одним из великих благ для человечества стало бы уже тогда открытие Додлея, но... Оно задевало интересы многих мелких предпринимателей, занимавшихся по соседству кузнечным делом. Они разрушили горн Додлея, порезали на куски мехи, втоптали в грязь запасы кокса, растащили инструмент. Додлей был разорен, а его прекрасный способ выплавки железа не прижился. Воспользовались им только более 100 лет спустя, когда вокруг железоделательных заводов лесов уже не осталось, а металла требовалось все больше и больше. Появилось новое направление в металлургии -- чугунолитейное дело. Горны для выплавки чугуна, теперь называемые домнами, становились все выше и выше. Непрерывно, а не периодически, как при получении кричного железа, подавали теперь в домну кокс и руду.

Но возникла необходимость решать десятки новых проблем. В частности, как избавиться от дымовых и пыльных туч над промышленными центрами.

В прошлом веке началось применение жидкого топлива для двигателей внутреннего сгорания. Появилась масса автомобилей. Заработали тепловые электростанции.

Деятельность человека стала серьезно влиять на загрязнение атмосферы, и особенно на ее озонный слой, который поглощает ультрафиолетовые лучи, идущие из космоса. Не будь его, все живое неизбежно вымерло бы. Оксиды азота, содержащиеся в автомобильных выбросах, неумеренное и небрежное использование пестицидов и, казалось бы, такая мелочь, как наполнитель аэрозольных упаковок фреон,-- все это отрицательно влияет на озон. Порождаемое цивилизацией загрязнение окружающей среды грозит уничтожить все столь многообещающие достижения технического прогресса на нашей планете.

За последнее столетие в результате деятельности человека в атмосферу поступило около 360 млрд. т углекислого газа, а его содержание в атмосфере увеличилось на 13%. Никто пока точно не может определить последствия накапливания углекислого газа, однако если гипотезы ученых оправдаются, то температура на Земле повысится. Так как все большее количество углекислого газа будет растворяться в океане, то это повлияет и на океанические процессы.

В настоящее время атмосфера содержит 320 частей углекислого газа на 1 млн. частей воздуха, а ведь еще в 1860 г. их было всего 290. По ориентировочным оценкам, к 2000 г. количество углекислого газа составит 380 частей на 1 млн. Задача науки -- определить изменения климата, которые уже произошли в результате возросшего содержания углекислого газа в атмосфере, и оценить возможность его воздействия на климат в будущем.

Конечно, рост производства не будет продолжаться бесконечно и бесконечно не будет увеличиваться количество выбрасываемых в небо пылей и газов. Уже сейчас осваиваются безотходные технологии. В будущем будет создан и экологически чистый транспорт.

Над москвичами любят подшучивать: сколько бы раз по радио ни передавали метеосводку, вей семья кричит хором: "Тише --погода!" Действительно, долговременный прогноз для города почти невозможен. Температура в нем всегда выше, чем за городом, иные влажность, запыленность и атмосферное давление. Люди с сердечно-сосудистыми заболеваниями постоянно ощущают это на себе. На атмосферу воздействуют самые разные факторы. Здания-башни создают особые аэродинамические шлюзы, необычную конвекцию тепла. Бетон, из которого они построены, и асфальт улиц поглощают тепла значительно больше, чем почва и растительность в деревне. За день город накапливает его большое количество, а вечером это тепло выделяется в атмосферу, лишая пришедших с работы людей желанной прохлады. Кондиционеры, отсасывая тепло из помещений, выбрасывают его на улицу, внося свою лепту в нагрев атмосферы. Зимой здания нагревают улицу своими стенами. Осадки не задерживаются на асфальте, а тут же удаляются через ливневую канализацию в реку. За городом же дождь сначала увлажняет почву, а потом испаряется, охлаждая ее. Поэтому-то в городе и температура почти постоянно выше, чем в его окрестностях, и иной влажностный режим.

Особенно страдают от городского микроклимата жители Анкары. Город расположен в лощине, и приток свежего воздуха туда закрыт горами. В результате содержание вредных газов и пыли там превышает предельно допустимую норму в 30 раз! Над городом нависла угроза смога!

Смог состоит из дыма и тумана. Дым -- явление почти безопасное. Дыма без огня не бывает, и стоит лишь погасить огонь, исчезнет и дым. А вот смог... Сегодня с ним знакомы жители многих крупных городов мира. Желто-серым грозным маревом нависает он над населенными пунктами, сосредоточив в себе все, что люди выбросили в атмосферу. Гигантской полусферой накрывает он города со всеми его домами, заводами, котельными и автомобилями. Дым бы поднялся в верхние слои атмосферы и ушел, влекомый ветром. Но смог?.. Ему способствует особая метеорологическая ситуация, возникающая над городом, при которой вредные выбросы не поднимаются, выше границы купола -- полусферы.

ПОД ИНВЕРСИОННЫМ СЛОЕМ

В городском воздухе содержится много загрязняющих примесей, не встречающихся в сельской местности. Твердые частицы отражают солнечные лучи. Однако это не компенсирует других причин, вызывающих накопление тепла. Примеси препятствуют теплоотдаче в атмосферу от города. Это помогает накоплению тепла в нем.

Когда над городом выпадает дождь, углеродистые и сернистые дымы легко растворяются в дождевых каплях. Водяные капли становятся каплями слабых растворов серной или других кислот, оказывающих разрушительное действие на здания.

Целый комплекс особых условий города влияет на его климат, При ночном выхолаживании улиц и строений верхние слои городского воздуха оказываются теплее -- образуется температурная инверсия. Инверсия же, которая наблюдается над городом, замедляет ночное выхолаживание. Это дополнительно способствует накоплению тепла в центре города.

При инверсии над городом образуется куполообразная мутная пелена, самая плотная часть которой удерживается над центром. Такая пелена благоприятствует образованию тумана. Очищающее действие холодного ночного ветра в городе тоже ослаблено.

Уже проведен ряд исследований погодных и климатических условий в городах по сравнению с сельской местностью. Известны основные изменения условий, создаваемых городом: солнечная радиация в городе снижена на 15% по сравнению с сельской местностью; ультрафиолетовая радиация в городе ниже на 5% летом и на 30% зимой. Относительная влажность воздуха ниже на 6%.

В городах больше дней с низкой облачностью и выпадает больше осадков.

Скорость ветра уменьшена на 25%, а повторяемость туманов летом повышена на 30%, а зимой -- на 100% по сравнению с пригородами.

Все знают, что люди или животные не могут существовать без кислорода. Но когда мы говорим "кислород", то подразумеваем газ, молекула которого состоит из двух атомов кислорода (О2). Во всей атмосфере до высоты около 75 км содержание кислорода фактически постоянно и составляет около 210 тыс. частей на 1 млн. частей воздуха.

Однако атомы кислорода не всегда сочетаются попарно. Иногда соединяются между собой три атома, образуя молекулу газа, который и называется озоном (Оз). При достаточно высокой концентрации не в пример своему родственнику О2 озон сильно ядовит, он даже может убить человека. К счастью, основное количество озона находится в стратосфере на высотах 16--50 км. Там его концентрация достигает 8 частей на 1 млн. частей, воздуха. Сравните это с условиями вблизи от поверхности земли, где средняя концентрация озона составляет 0,07 и лишь во время смога достигает 0,5 части на 1 млн. Но и такая концентрация озона может в течение получаса привести к гибели растений некоторых видов.

То обстоятельство, что основная часть озона находится в верхних слоях атмосферы, благоприятствует нам. Ведь озон, находясь столь, далеко, превращается в нашего защитника, так как обладает свойством поглощать ультрафиолетовые лучи.

Если когда-нибудь вам придется подняться высоко в горы без специальной одежды и защитных очков, солнечных ожогов вам не избежать. И дело не в том, что вы оказались ближе к светилу. По сравнению со 150 млн. км, которые отделяют нас от солнца, пройденные вами 4--5 км сущие пустяки. Ожоги, которые вы получите, имеют вполне земную причину. Атмосфера, закрывающая все живое, как панцирь, на этой высоте уже перестала защищать вас от грозного Ярилы.

Как-то в газетах было опубликовано сообщение о том, что в Париже два гигантских пылесоса, предназначенных для очищения воздуха, загрязняемого отходами автомобилей и предприятий, были установлены на авеню Ледрю-Роллан. Эти пылесосы представляют собой две трубы высотой 5 м и диаметром 1,6 м. Расположенные друг от друга на расстоянии 150 м, они должны втягивать ежегодно 110 млн. м3 воздуха. После очищения воздух будет выбрасываться в атмосферу на высоте 5--6 м. Пылесосы работают практически бесшумно. Если подобное очищение воздуха принесет реальные результаты, то опыт парижан распространится и на другие города страны.

Используются и многие другие технические приемы, позволяющие заметно оздоровить воздух городов. Например, огромное значение имеет внедрение на предприятиях новых технологических процессов, исключающих загрязнение атмосферного воздуха.

Существенное значение в решении проблемы снижения загрязнения атмосферы городов имело также установление санитарных предельно допустимых концентраций более чем для 160 вредных веществ.

У нас в стране санитарный Контроль за эффективностью работы газоочистных сооружений осуществляют государственные и ведомственные инспекции. Они отбирают пробы атмосферного воздуха для анализа на загрязняющие ингредиенты. В случае выявления загрязнения атмосферного воздуха, превышающего предельно допустимые концентрации, санитарно-эпидемиологические службы требуют от предприятий устранить загрязнение атмосферы.

К сожалению, руководство некоторых предприятий предпочитает включать дымящее оборудование (вагранки, сталеплавильные электропечи и химические реакторы) в ночное время, когда "лисьи хвосты" неочищенных выбросов не так заметны.

Такое "скрытое" загрязнение атмосферы ничуть не лучше открытого. То же самое можно сказать о производствах, где выбросы в атмосферу носят нерегулярный, порой "залповый", кратковременный характер.

Уже разработана методика прогноза опасных условий загрязнения воздуха, и в некоторых городах заметно его эффективное снижение. Например, в Дзержинске предприятия систематически регулируют выброс, учитывая прогноз погоды, и это заметно сказывается на очищении атмосферы.

Государственный комитет гидрометеорологии и контроля природной среды СССР изучает условия загрязнения городов. Во многих городах страны создана сеть наблюдательных пунктов. Установлены специальные павильоны, где систематически измеряют (по 3--4 .раза в сутки) концентрацию основных примесей и метеорологических элементов. Регулярные маршрутные наблюдения ведутся с помощью специально оборудованных автомашин. Кроме того, разработан ряд автоматических газоанализаторов -- на сернистый газ, окись углерода. Они обеспечивают непрерывную регистрацию концентрации загрязняющих веществ, что при применении обычных методов практически сделать невозможно. В Ленинграде и Москве создана автоматическая система для контроля за состоянием воздушного бассейна. Она состоит из регистрирующих станций, расположенных в разных районах города. На очереди оснащение опытными автоматическими системами Киева, Липецка, Кемерова, Запорожья, Жданова.

В результате проводимой работы в крупных городах запыленность и загрязненность атмосферы за последние годы снизились в несколько раз. В Москве же за все время наблюдения за состоянием воздушного бассейна его запыленность и загрязненность не превышают допустимой нормы.

свежий или чистый ?

Какой воздух лучше с гигиенической точки зрения -- свежий или чистый? Вы не видите разницы в этих определениях? Между тем здесь скрыты ключевая проблема целой отрасли техники, парадокс изобретательства в этой области и сложный вопрос экономики.

Люди, строя свои дома, стремятся надежно изолировать какую-то часть атмосферы от влияния окружающей среды: от холода, ветра, дождя и снега. Если посмотреть на дом с этих позиций, то идеальным будет, вероятно, толстостенный герметичный бункер. Его даже не нужно будет отапливать! Человек, как и все теплокровные, сам по себе выделяет достаточно тепла. Но можно ли в таком бункере жить? Здесь скрыто противоречие номер один.

Немецкий врач-гигиенист Гаммонд еще в конце прошлого века заинтересовался этой проблемой. Для обыкновенной мыши он сделал такой бункер -- большую, бутыль. Углекислота и водяные пары, непрерывно выделяемые животным, поглощались химическими реагентами, а кислород подавался автоматически по мере потребления. Через час мышь погибла. А кислорода хватало! Исследуя состав воздуха в бутыли, он обнаружил органические соединения, которые, по всей вероятности, и сыграли губительную роль. В испарениях человеческого тела тоже нашли вредные вещества. Испытуемого помещали в свинцовую камеру с охлаждаемыми стенками, а затем со стенок камеры собирали сконденсировавшуюся на них жидкость. "Она при испарении и сжигании дает характерный запах жженых перьев,-- писал исследователь доктор Ангус Смит,-- а предоставленная самой себе быстро разлагается, превращаясь в клейкую массу с обильным образованием плесени".

О содержании органических примесей в спертом воздухе писал и знаменитый врач-гигиенист Федор Эрисман. Оказалось, что если весь выдыхаемый человеком или животным воздух пропустить через охлаждаемый водой змеевик, то в нем соберется очень вредный конденсат: 2 см3 конденсата, введенные в кровь собаки, убивают ее.

Теперь никто не станет спорить -- необходима вентиляция, чтобы в воздухе не скапливались вредные примеси, хотя без вентиляции теплее. Вот здесь-то и заключен грандиозный парадокс: стены и крыши нужны нам для удержания какого-то объема воздуха в состоянии относительного покоя,-- так нам теплее! -- а вентиляция -- для скорейшего обмена воздуха в этом помещении.

Человек всегда любил свежий воздух! Уже хижины наших далеких предков имели в крыше отверстие, через которое вместе с дымом от костра уходил спертый воздух. Древние инки оставляли в стенах дворцов большие вертикальные полости, наполненные камнями. Днем камни нагревались солнцем, и ночью из полостей в помещение входил теплый воздух. За ночь камни остывали, и весь день от них исходила приятная прохлада. Уделяли внимание вентиляции и строители средневековых замков. Камины, любимые в Англии, топились не из коридора, а непосредственно из жилых комнат и залов. Поток топочных газов, поднимаясь по трубе, увлекал за собой "отработанный" воздух, а на смену ему через щелеватые стены и окна проникал свежий уличный воздух. Правда, в просторных рыцарских залах было холодновато, но рыцари были людьми закаленными.

В 1835 г. горный инженер А. А. Саблуков изобрел центробежный вентилятор. Это была инженерная сенсация. Саблуков установил свой вентилятор на сахарном заводе. Там в то время всех замучила нестерпимая сырость. Буквально после нескольких минут работы вентилятора Саблукова пар из помещений исчез, а вскоре просохли стены и перекрытия.

Изобретатель надеялся с помощью своих недорогих и удобных устройств облегчить условия труда металлургов, текстильщиков, кочегаров. Однако заводчики охотно брались устанавливать новые машины только для технологических нужд: подавать воздух в сталеплавильные печи, в топки паровых котлов, в горны и веялки. Рабочие же помещения продолжали в лучшем случае вентилировать более дешевым способом -- открывая окна зимой и летом.

Инженеры того времени даже считали, что полная вентиляция помещения -- недостижимый идеал. Вот отрывок из статьи, посвященной проветриванию промышленных зданий, опубликованной в "Русской мысли" за 1899 г.: "Представим себе, что в обыкновенный стакан вливаются одновременно струя крепкого чайного настоя и струя чистой воды. Если эти две струи льются непрерывно и одновременно, то как бы. мы ни увеличивали силу одной в ущерб другой, никогда нельзя получить в стакане совершенно чистую воду, без всякого следа чайной окраски... Так и в деле вентиляции возможно только довести изменения в составе воздуха до некоторой наименьшей величины". Вот "теоретическое" обоснование неизбежности спертого воздуха!

А тем временем "Московские ведомости" сообщали о поголовном отравлении вредными испарениями рабочих Ярославского завода свинцовых белил. Журналисты взывали к совести предпринимателей. Но хозяева не спешили покупать вентиляторы. "Если уж сами инженеры не полагаются на новое средство,-- говорили они,-- зачем же деньги на воздух бросать?" "Теория" обернулась в первую очередь против рабочих.

Тогда известный русский физик Эмилий Христианович Ленц на заседании академии выступил с заявлением о том, что полная вентиляция механическим путем может быть достигнута. Но как? Отсасывая вредные газы и пыль непосредственно у места их возникновения. То есть, если продолжить рассуждения о чистой воде и крепком чае, это будет выглядеть примерно так: струйку чайного настоя отдельной трубочкой нужно отвести в сторону, и тогда в стакан пойдет только чистая вода.

И все же десятилетиями механическая вентиляция не применялась. Силикоз у горняков и туберкулез у текстильщиков были обычным явлением. Вентиляция из технической проблемы превращалась в проблему социальную.

Сейчас на Западе широко распространен аппарат под названием "Ротоклон", выпускаемый фирмой "Америкен компани эрфильтр". Экономически это выгодное устройство. Воздух, отсасываемый от пылящего станка или агрегата, очищается в нем от пыли водой и выбрасывается обратно в цех. Этот воздух - чистый. Но не свежий! Им уже дышали. При этом тепло осталось в помещении -- экономия, топлива на подогрев свежего, холодного воздуха с улицы. Отпала необходимость прокладывать короба для выпуска воздуха наружу -- опять выгода.

На многих современных предприятиях созданы системы кондиционирования воздуха. Мощные вентиляторы засасывают его с улицы и вдувают в оросительные камеры. Десятки фонтанчиков промывают этот воздух, а затем он поступает в помещение. Автоматические устройства поддерживают постоянную влажность и регулируют температуру в цехе. Последняя операция делается так: если на улице стало холодно, один пневматический клапан прикрывает окно, соединяющее всасывающую камеру вентилятора с улицей, а другой открывает такое же окно, соединяющее эту камеру с помещением цеха. Что же при этом, происходит с воздухом? Общий объем воздуха становится меньше. В морозные зимние дни такие кондиционеры работают на полной рециркуляции, на полностью замкнутом цикле.

Создавая круговорот воздуха внутри помещения, человек тем самым изолируется от свежей наружной атмосферы. Так сказать, отрывается от матери-природы, делаясь существом тепличным.

А между тем самые совершенные, самые современные системы кондиционирования основаны именно на рециркуляции воздуха через несколько последовательно расположенных камер. В одной воздух очищается от пыли, в другой охлаждается летом или подогревается зимой, в третьей увлажняется, в четвертой ароматизируется и т. д. Но сколько бы стадий обработки воздух ни проходил, тем не менее он остается воздухом, которым уже дышали.

Значит, обычное, проветривание лучше, чем кондиционирование? Проветривая помещение, мы приближаем его обитателей к естественным условиям. При этом, возможно, и температура воздуха, и влажность будут не всегда постоянны. Словом, человек, находясь в помещении, испытывает какую-то долю превратностей, к которым он привык за тысячелетия своего развития. Но зато ему не повредят и уличные прогулки в жару, дождь и мороз.

Здесь вновь возникает противоречие между зданием и вентиляцией. Ведь, увеличивая проветривание, можно прийти к абсурдной конструкции дома, напоминающего аэродинамическую трубу.

Конечно, рециркуляция, или веерная,система, часто дешевле системы с полной заменой отработанного воздуха свежим. Можно сэкономить на прокладке каналов под полом для выброса воздуха на улицу, на прокладке каналов для забора свежего воздуха, на установке калориферов для подогрева уличного воздуха в холодное время года.

Но возникает еще один вопрос: а нужно ли обязательно требовать экономического эффекта от применения вентиляции? Предоставим слово официальному документу. В "Инструкции по вознаграждению за открытия, изобретения и рационализаторские предложения" сказано, что изобретатель или рационализатор за предложение по охране труда может получить наивысшее денежное вознаграждение без подсчета экономии. Так наше законодательство решает спор между экономикой и гигиеной в пользу последней!

Впрочем, могут быть и компромиссные решения, которые удовлетворяют и экономике и гигиене. Сотрудники ВНИИ санитарной техники Лукомский, Каган и Немлихер сделали интересное изобретение. Оказывается, из пластмассовой пленки можно изготовить отличные калориферы, которые дадут возможность отнять тепло у выбрасываемого на улицу загрязненного воздуха и передать его свежему, уличному. Теплом они обмениваются по принципу противотока. Лишь тонкий слой полимера разделяет струи теплого, но уже не пригодного для дыхания воздуха, и холодного, но зато свежего. Пока поток входящего воздуха блуждает в лабиринтах калорифера, он нагревается. Теперь его можно подать в рабочую зону. При этом стоимость свежего подогретого воздуха будет даже меньше, чем отработанного рециркуляционного.

Итак, чем больше, свежего уличного воздуха подается в цех, тем лучше санитарно-гигиенические условия труда, но и здесь -- новый парадокс. Количество подаваемого воздуха пропорционально его скорости, так сказать подвижности, а ведь далеко не всегда подвижность воздуха воспринимается благоприятно. Чем меньше физических усилий делает человек, тем хуже он воспринимает действие воздушного потока. При достаточной механизации и автоматизации, отсутствии физического труда воздух в рабочую зону приходится подавать тоненькими струйками, через мелкие отверстия, проделанные в стенках воздухоотводов. Такие "дырявые", как дуршлаг, короба обеспечивают равномерный обмен воздуха во всем помещении. Зато возрастает мощность вентиляторов, которым все труднее и труднее продавливать воздух сквозь мельчайшие отверстия.

Одним словом, вентиляция -- это набор инженерных противоречий, почти целина для изобретательской мысли.

Некоторые инженеры говорят, что вентиляция -- отмирающая наука, что вскоре будут созданы полностью автоматизированные заводы, на которых человеку будет делать нечего, и вопрос вентиляции сам по себе отпадет.

Можно ли с этим согласиться? Не так давно мне пришлось видеть проект установки для кондиционирования воздуха в большом помещении, где установлена счетно-решающая машина и нет ни одного человека. Блоки машины отказываются нормально функционировать, если воздух вокруг не будет достаточно охлажден. Она не переносит пыли и углекислого газа; такая машина может перестать давать точные показания, если охрана ее труда окажется не на должном уровне.

Второй вывод: с развитием техники инженеры всеми мерами увеличивают объем выпускаемой продукции, заменяют машины более производительными, повышают температуру и давление в аппаратах, применяют более активные, но зачастую и более токсичные вещества. В то же время санитарные врачи регулярно снижают предельно допустимые нормы содержания вредных веществ в воздухе цехов и заводов. Это также скрытый парадокс технического прогресса.

Но есть ли оптимум, который решит противоречие: свежим или чистым воздухом лучше дышать?

Каждый из нас потребляет кислород и обогащает окружающую среду углекислым газом. Это общеизвестно. Менее известно то, что помимо углекислого газа человек выделяет в атмосферу еще несколько десятков веществ, каждое из которых может стать для него ядом, конечно, при достаточно высокой концентрации. Такие вещества, продукты жизнедеятельности человека, называют антропотоксинами.

До сих пор гигиенисты, оценивая воздушную среду в помещении, исходят по традиции из того, сколько в воздухе углекислого газа. Предел -- 0,1%, и если эта норма соблюдается, то считают, что все в порядке. Однако недавняя работа, проведенная в Институте общей и коммунальной гигиены АМН СССР, доказывает, что требуются более гибкие нормы.

В замкнутой камере с регулируемым микроклиматом находились испытуемые (трое или шестеро). Они спокойно читали, а исследователи тем временем с помощью газовых хроматографов, фотоколориметров и иных приборов следили за состоянием среды. Через два с половиной часа температура в камере поднялась более чем на 3°С, содержание СО2 выросло в 2 с лишним раза и превысило предельно допустимое. Втрое увеличились число ба'ктерий и концентрация аммиака, а количество пыли -- почти вдесятеро!

Что же касается антропотоксинов, то их обнаружили 25. В том числе немало новых: окись этилена, бутан, бутилен, бутадиен, изопропилен, винилацетат, метилстирол, хинолин и крезол.

Выраженных сдвигов в дыхании и сердечно-сосудистой деятельности у испытуемых не обнаружили, но умственная работоспособность у них заметно снизилась, особенно в сложных тестах. Вероятно, такое состояние знакомо многим, кому приходилось работать в душных помещениях.

Камеру стали проветривать, постепенно увеличивая подачу воздуха. И лишь когда на каждого человека приходилось не менее 120 м3 свежего воздуха в час, концентрация токсичных веществ стала приходить в норму и от прежних антропотоксинов осталась 1/5 часть, что вполне приемлемо.

Примем эту цифру во внимание и будем почаще проветривать комнаты, где мы живем и работаем. Право, от свежего воздуха пока еще никто не заболел.

ЧАСОВЫЕ ЗДОРОВЬЯ

КАМЕРЫ ДЛЯ ЗАДЕРЖИВАНИЯ ПЫЛИНОК

Первые установки для борьбы с пылью были предложены еще в прошлом веке. С учетом размеров и удельного веса частиц были построены пылеосадочные камеры, в которых двигался поток запыленного воздуха. Чтобы снизить скорость потока, камеры делали довольно большого сечения, а чтобы продлить в ней время пребывания частиц пыли,-- большой длины. Благодаря этому и достигали положительного эффекта. Но производительность предприятий росла, рос и объем запыленного выбросного воздуха. Размеры камер оказались малы. Пыль в них не оседала. Удвоить длину камер? Но место на заводах дорого... Решили сделать камеры с дополнительными ходами для запыленного воздуха по типу лабиринта. При строительстве текстильных предприятий предусматривались "пыльные подвалы" с резкими поворотами и коридорами, в которых оседали отходы, образующиеся при трепании, чесании и прядении волокна. Их и теперь можно увидеть на фабриках, сохранивших старые стены. Иногда "пыльные подвалы" и сейчас используются по назначению. Уж очень просты и надежны эти сооружения!

Иногда для обеспечения непрерывной работы пылео-садительная камера разделяется на две параллельные секции, из которых одна находится в работе, а другая в это время очищается от пыли.

Материалом для постройки камер чаще всего служит кирпич, реже -- бетон, сталь и дерево (для холодных газов). Усовершенствованная осадительная камера снабжается специальными устройствами для равномерного распределения газа по сечению камеры (например, газораспределительными решетками, диффузорами и т. д., затворами для включения и отключения газового потока) и бункерами для удобства выгрузки пыли.

Степень очистки в камерах не превышает 40--.50%, - поэтому их обычно применяют для предварительной очистки газа, чтобы облегчить работу установленных за ними аппаратов интенсивного пылеулавливания.

Практика показывает, что в пылеотстойных камерах улавливать пыль с частицами размером менее 40-- 50 мкм нецелесообразно; в них следует осаждать сравнительно крупную пыль (например, пыль горячих печных газов мышьяковых заводов, пыль вентиляционного воздуха асбестообогатительных фабрик и др.). Не исключена возможность использования этих аппаратов для улавливания частиц некоторых видов саж, металлургических возгонов, первоначально находившихся в газах в виде мелких частиц и соединяющихся с течением времени в агломераты со сравнительно большой массой.

Есть мнение, что пылеотстойные камеры устарели морально. Дескать, выглядят они на фоне современных заводов, как фраки пушкинских времен в сочетании с ботинками и джинсами. Но если пыль, подлежащая улавливанию, достаточно крупная и тяжелая, а заводская территория не перегружена другим оборудованием, почему бы и не установить "морально устаревшую" пылеотстойную камеру? Ее низкое сопротивление и высокая надежность окупят затраты на строительство "немодного" пылеуловителя. И, вообще, уместно ли в технике само понятие "мода"? Ведь говорили когда-то, что колесные тракторы изжили себя и на смену им пришли гусеничные. Однако и по сию пору машин на колесах работает на полях гораздо больше, чем гусеничных.

Словом, без точного расчета, учитывающего энергозатраты, стоимость и коэффициент полезного действия пылеотстойной камеры, как, впрочем, и любого другого пылеуловителя, отвергать или рекомендовать ее к внедрению нельзя.

Тем более нельзя спешить подписывать приговор пылеотстойной камере, если она уже имеется на предприятии. Повысить ее эффективность можно, используя некоторые несложные приемы. Проход для холодных газов может быть перегорожен несколькими рядами висящих бечевок, а для горячих -- рядами цепей. На входе в камеру можно установить трубы с мелкими отверстиями и через них подавать в газовый поток водяной пар. Это будет способствовать коагуляции и осаждению частиц.

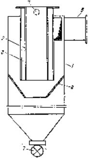
РОЖДЕНИЕ ЦИКЛОНА

Пылеосадочную камеру можно сделать круглой, и воздух в нее подать сбоку по касательной. Тогда по инерции поток будет долго вращаться, и из него выпадут даже мелкие частицы.

Так, между прочим, родился циклон. Это было гениальное изобретение! Прошло около 100 лет, а конструкция его практически не изменилась. Циклон представляет собой цилиндрический корпус с конусным днищем, внизу которого прорезано пылевыпускное отверстие. Входной патрубок для запыленного потока подключен к корпусу сбоку по касательной, а выходной патрубок для очищенного воздуха -- в центре по вертикальной оси. Первый же пуск циклона показал такой эффект, о котором и не мечтали. Пыль в его конусе образовала маленький смерч. Войдя в корпус, поток запыленного воздуха расслаивался под действием центробежной силы. Твердые частицы отбрасывались к стенке, а воздух, имеющий массу, в несколько тысяч раз меньшую, вращался в середине. Но, как всегда, без "но" не обошлось. Вращаясь, воздух образовывал восходящий вихрь, который захватывал с собой мелкие частицы пыли. А они-то и есть самые вредные... Десятки всяческих вставок были опробованы инженерами и учеными для разрушения восходящего вихря, но... в результате лишь увеличивалось сопротивление циклонов, а степень пылеулавливания повышалась крайне мало, а то и вообще становилась меньше. Поиск велся все время в области циклонных камер: очень уж заманчивым казался циклонный эффект. Построить модель с вихрем в круглом корпусе легче легкого. Провести испытания пробы пыли на предмет улавливания в циклоне тоже несложно. Циклоны прекрасно показали себя и как пылеуловители, и как теплообменники, и как разгрузители пневмотранспорта, и даже как топочные устройства. Циклонный эффект возникает в очень большом диапазоне скоростей -- от нескольких метров до нескольких десятков метров в секунду. Поток запыленного, воздуха, войдя в циклон со скоростью всего лишь 5 м/с, может создать в его конусной части вихрь, а при уменьшении- радиуса вращения за счет сохранения массы движения в нижней части конуса скорость достигнет своего максимального значения.

Но есть целый ряд областей техники, куда циклон внедрить почти невозможно. В нем нельзя улавливать легкие и пушистые частицы. Следовательно, циклону заказано внедрение в текстильной и легкой промышленности. Циклон не ловит сажу. Вот и еще одно "табу". Он пропускает слишком большое количество мелких фракций при очистке воздуха от литейной пыли и еще, и еще... И все же циклон, несмотря на все свои недостатки, продолжает оставаться на вооружении в пылеулавливании.

ВОДА ПОМОГАЕТ УДЕРЖАТЬ ПЫЛЬ

Во Всесоюзном теплотехническом институте решили подавать на стенки циклона воду. Пылинки, коснувшись стенки, не могут больше от нее оторваться. Для этого устанавливают несколько форсунок носиками по ходу вращения потока. Вода смывает пыль, выделяющуюся из вихря, и сливается через нижнее отверстие устройства.

Этот аппарат называется "цетробежный скруббер ВТИ". Он применяется и на тепловых электростанциях, и на химических заводах.

У центробежного скруббера есть один недостаток -- большой расход воды: 0,25 л на 1 м3 очищаемого газа. Если производительность скруббера 100 тыс. м3 газа в час, то для его очистки требуется подавать за тот же час более 20 тыс. л воды -- это целая река. Вода в скруббере загрязняется. Для ее очистки нужно строить огромные отстойники, тратить энергию на перекачку пульпы, проводить трубопроводы.

Существуют и другие устройства, работающие на центробежном принципе. Одно из них -- ротационный пылеуловитель, самый компактный аппарат для очистки газа. Все устройство для улавливания пыли расположено внутри вентилятора. В центробежном вентиляторе воздух вращается с очень большой скоростью. Следовательно, с пылинками там происходит то же, что и в циклоне. Нужно только суметь их уловить.

Концы лопастей ротора вентилятора можно изогнуть так, что частицы пыли, которые попадут на них, как по желобу, вылетят в бункер.

В последнее время разработано много таких пылеуловителей, но применяются они тогда, когда обычный циклон или скруббер поставить негде. Несмотря на компактность и высокую эффективность очистки воздуха, ротационный пылеуловитель -- несовершенное устройство. Расход электроэнергии на очистку 1 тыс. м3 запыленного газа в нем составляет 2,5 кВт-ч. Изгибание лопастей снижает коэффициент полезного действия самого вентилятора.

Многоступенчатый циклон --это не что иное, как реконструированный классический циклон, известный много десятков лет. Но очистка газа в нем не ограничивается только вихрем во внешнем цилиндрическом корпусе. Тридцать пять лет назад французский инженер Жозеф Ранк, исследуя модель обычного циклона, заметил, что в центре вихря температура, а следовательно, и давление значительно ниже, чем у краев. Вот почему часть пыли, вращающаяся в конусной части циклона, засасывается обратно в центр и вылетает в трубу. А нельзя ли использовать это явление для увеличения эффективности действия циклона?

В выбросной трубе циклона была установлена конусная вставка с закрепленным патрубком. Между вставкой и патрубком вварили косые направляющие лопатки. Получился еще один циклон, в который газ поступал после завершения первого цикла во внешнем корпусе. Дополнительный корпус стал вылавливать из газового потока частицы, которые не успел поймать внешний корпус.

Конусная часть внутренней вставки циклона соединяется воздуховодом небольшого диаметра с всасывающим патрубком вентилятора, который гонит в циклон пыль. А если на этом воздуховоде поставить еще маленький циклон, то система будет не только ловить пыль, но и сортировать ее по фракциям. Во внешнем корпусе будет улавливаться крупная пыль, а в маленьком циклоне-- мелкая.

Вихрь укрощен. Новый циклон имеет и небольшое сопротивление, и высокую эффективность. В нем улавливается до 99% пыли с диаметром частиц до нескольких микрометров. Многоступенчатые циклоны используют в системах пневмотранспорта коксохимических заводов, целлюлозно-бумажных комбинатов и котельных, работающих на угольной пыли.

Но в газах часто содержится пыль с гораздо меньшими частицами. Есть пылинки, масса которых настолько мала, что центробежная сила не оказывает на них воздействия, достаточного для их выделения из потока. В таких случаях пылинки нужно укрупнять.

УЛЬТРАЗВУК И ПЫЛИНКИ

Когда колонны демонстрантов идут по улицам, как ни странно, пыли в воздухе становится меньше. Английский ученый Алан Кроуфорд объясняет это тем, что разнобой голосов создает ультразвук, который не дает пыли подниматься в воздух. Аналогично работают и акустические пылеуловители. Если генератор ультразвука установить в пылеосадочной камере, эффективность ее действия возрастает в сотни раз. Пылинки, которые и без того участвуют в беспорядочном броуновском движении, под действием ультразвука начинают усиленно ударяться друг о друга. При этом они сливаются, и размер их увеличивается. Это остроумное устройство, но, кроме того что ультразвуковой пылеуловитель "шумит", у него есть еще один недостаток: расход электроэнергии на очистку 1 тыс. м3 газа составляет 3 кВт-ч. Поэтому акустические пылеуловители ставят для улавливания только очень ценной и тонкой пыли, например на свинцовых и бронзо-плавильных заводах. Если же ультразвуком улавливать не свинец, не бронзу, а, например, обычную суперфосфатную пыль, то стоимость ее будет в несколько раз меньше стоимости электроэнергии, затраченной на создание ультразвуковых волн. Но если выделяется очень тонкая и вредная пыль, то, конечно, с расходами не считаются.

КОРОННЫЙ ЭФФЕКТ ЭЛЕКТРОФИЛЬТРОВ

Иногда вокруг проводов линии электропередачи можно увидеть голубовато-фиолетовое свечение -- корону. Коронный разряд образуется и между электродами в электрофильтрах, к которым подведено высокое напряжение. Под действием коронного разряда в газе образуется большое количество ионов и свободных электронов и возникает ток. Когда загрязненный пылью газ пропускают между злектродами электрофильтров, заряженные частицы газа, двигаясь по силовым линиям электрического поля, по пути захватывают с собой частицы пыли или тумана, находившиеся в газовом потоке, и доставляют их к электроду.

На этом принципе основана работа промышленных электрофильтров. Положительный электрод здесь -- пластина или труба. Отрицательный коронирующий электрод -- проволока -- устанавливается по центру трубы или рядом с пластиной. Время от времени электроды встряхиваются и пыль с них осыпается в бункер. Для этого, правда, необходимо остановить фильтр, иначе пыль с потоком газа уйдет в атмосферу.

А вот в новой конструкции электрофильтра фирмы "Хаудел" электроды очищают во время фильтрации газа. В цилиндрическом корпусе, как соты, расположены металлические трубы; по их оси подвешены коронирующие электроды. Подвижный сектор, напоминающий раструб граммофона, медленно вращается электродвигателем, постепенно накрывая то одну, то другую группу труб. К раструбу подключены циклон и мощный вентилятор. Проходя над трубами, раструб высасывает осевшую на электродах пыль.

Расход электроэнергии на очистку 1 тыс. м3 газа в электрофильтрах составляет всего 0,2 кВт. Электрофильтры установлены на сажевых, графитных, суперфосфатных заводах. И все же они до сих пор не нашли достаточно широкого применения. Дело в том, что строительство электрофильтра довольно дорого, сам он громоздок, а для эксплуатации его сложного электрооборудования нужен высококвалифицированный персонал.

А нельзя ли построить такой электрофильтр, в котором совсем не будет электрооборудования?

Древнегреческий ученый Фалес Милетский, заметив, как к веретену, на котором пряла его дочь, прилипала тоненькая нитка, открыл свойство янтаря наэлектризовываться. Некоторые пластмассы обладают похожими свойствами.

Химики создали новый фильтрующий материал из ультратонких синтетических волокон -- ткань ФП. Этот материал обладает и гидрофобностью, и хорошими фильтрующими свойствами.

Но сопротивление такого фильтра нестабильно, и, кроме того, он неприменим при высокой температуре. Поток, в котором много пыли, быстро забивает пористый слой, и сопротивление его возрастает, а горячий газ может расплавить ткань. Этот фильтр широко применяется в лабораториях, где работают с радиоактивными веществами, в цехах сборки особо точных приборов -- везде, где на счету каждая пылинка. А как же быть, если пыли в потоке газа очень много и температура его довольно велика?

НАШ БАРБОТАЖ

О том, что бороться с пылью нужно с помощью воды, знает любая хозяйка. А вот на предприятиях этот вопрос еще обсуждается. Врачи санэпидстанций требуют поставить в пыльном цехе мокрый пылеуловитель. Начинается томительный диалог между администрацией и врачом.

-- Гидравлический воздухоочиститель нам не подходит. Его сложно эксплуатировать. Не лучше ли поставить какой-нибудь сухой пылеуловитель типа тканевого мешка?

-- Нет, не лучше. Ткань забьется пылью и перестанет фильтровать воздух. Нужно применять воду.

Применять, но как?

Сотни лет назад на Востоке курили длинную камышовую трубку с высушенной дыней на конце -- чилим. В дыню наливали воду, и дым, прежде чем попасть в легкие курильщика, пробулькивал через нее. Наверное, это был самый первый и самый простой газоочиститель барботажного типа.

В прошлом столетии механик-самоучка Петр Гуров писал на имя управляющего Деминской мануфактуры: "А еще доношу Вашему Высокоблагородию, что замечено мною в дни весеннего стояния воды, когда пыльный подвал прядильной фабрики до половины был залит водой, улавливание пыли в нем происходило куда как чисто. По своему разумению мы дверь из пыльного подвала открыли, и воздух, что машины в него с пылью качали, в цех выпустили. Оттого было в цеху чище и прохладней, и волокно не летало и нить не рвалась".

Казалось бы, вот он, случай. Сама природа услужливо подсовывает его в руки инженера. Однако прошло более 50 лет, прежде чем...

В анналах бюро патентов сохранилась привилегия, выданная в 1908 г. технику А. Г. Лопатникову на устройство для вылавливания твердых частиц из газового (воздушного) потока. Устройство состояло из емкости с входным и выходным патрубками, перегороженной переборкой, не доходящей до дна на 20 дюймов. В емкость заливалась вода, и газ, чтобы пройти из одного патрубка в другой, вынужден был подныривать под перегородку. Примерно так выглядел первый водяной фильтр для запыленного воздуха. Позже устройство это назвали барботером. Не правда ли, в этом газоочистителе много общего с затопленным пыльным подвалом, о котором "доносил по начальству" механик Гуров?

Есть предприятия, на которых улавливание пыли не просто требование санитарии, а основной технологический процесс. Например, заводы, выпускающие сажу для шинной промышленности. В их печах сжигают жидкое топливо при большом недостатке воздуха. Черный коптящий факел охлаждается водой, и продукт сгорания поступает в электрофильтры. Здесь сажа притягивается к электродам и периодически стряхивается в бункер.

Самую тонкую сажу электрофильтры, к сожалению, уловить не способны. Поэтому вокруг заводов и зимой и летом было черно. Только одну весеннюю неделю листва радует глаз зеленью. И кто знает, сколько бы времени так продолжалось, если бы не случай.

Произошла авария. Между электродами электрофильтра проскочила искра. Газ взорвался. Фильтр поставили на ремонт, а инженер и техник сели за чертежные доски.

Требовался очень простой и очень эффективный пылеуловитель, и на сей раз безопасный в обращении.

А что если попробовать древний азиатский чилим?

Для опыта потребовались ванна, решето и пылесос. Обечайка решета была опущена в воду, а под сито подвели шланг, соединенный с нагнетательным патрубком пылесоса. Кран ванны открыли так, чтобы струйка все время лилась на сито. Приготовились...

Три, два, один, пуск!

Взвыл пылесос, и над решетом забурлила вода. В качестве опытной среды во всасывающий патрубок пустили зубной порошок, крахмал, пудру, детскую присыпку,

Рис. 1. Простейший барботер:

1 -- корпус; 2 -- входной патрубок; 3 -- выходной патрубок; 4 -- перегородка с козырьком; 5 -- вторая перегородка

Эффект потрясающий! Ни пылинки не прошло через бурлящую водяную завесу.

Остальное свелось к обычной конструкторской разработке. Несколько листов ватмана -- и проект барботажного аппарата был готов.

Но почему все же произошел взрыв? Ведь газ, проходящий через электрофильтр,-- продукт сгорания жидкого топлива? Чему же в нем было взрываться? Анализ, произведенный в калориметрической бомбе, показал, что теплотворная способность 1 м3 газа, выходящего из сажекоптильной печи, составляет около 500 ккал.

"Fie попробовать ли дожигать этот газ в обычной топке?" -- решили работники Ярославского сажевого завода. Газ, прошедший очистку в барботажном аппарате, направили трубопроводом прямо в котельную...

Ну а как же наш барботер? Он действовал исправно. Исправно, значит, без дефектов? Нет, один маленький недостаток в работе пылеуловителя оставался. Вода... Слишком много воды требовалось для очистки газа. Она льется на решето, а газ выходит из ячеек и заставляет воду бурлить. Получалось, что чем лучше нужно очистить газ, тем больше воды необходимо подавать на решето. Но ведь чем больше воды загрязнится при барботаже, тем труднее ее осветлить. Сам по себе небольшой пылеуловитель обрастал длинным хвостом громоздких водоосветлительных устройств (рис. 1).

Барботажно-вихревой пылеуловитель системы инженера С. Морозова прекрасно объединял в себе и очистку газа, и осветление воды. Как и устройство Лопатникова, камера разделена перегородкой, но только не простой, а фигурной. Газ, проходя над зеркалом жидкости, залитой в пылеуловитель, захватывает с собой влагу и поднимает ее на верхнюю ступень. Здесь газ отсасывается вентилятором, а жидкость по трубам стекает в бак -- там-то и отделяется от нее уловленная пыль. Осветленная жидкость вновь подается в пылеуловитель и совершает тот же круговорот.

Кандидат технических наук А. А. Курников сконструировал барботажный пылеуловитель с отдельным водоосветлительным устройством.

ВОЛНА ЛОВИТ ПЫЛИНКУ

Недавно были изобретены и применены новые пылеуловители -- ротоклоны. Газ в них очищается водой. В корпусе смонтирована фигурная перегородка с зазором, делящая пылеуловитель на две части.

Запыленный газ, проходя через зазор между перегородками, с большой скоростью перемещается над зеркалом налитой в пылеуловитель воды. Газ, как ветер на море, гонит перед собой волну. Эта волна и запыленный газ создают пылегазоводяную смесь. Контакт газа и воды настолько тесен, что пыли в нем почти не остается. Она вся переходит в воду.

После этого газ отсасывается вентилятором, а вода с уловленной пылью сливается в нижнюю часть ротоклона. В нем можно очищать газ от мелкодисперсной, гидрофобной пыли и от легкосмачивающейся. Температура очищаемых газов может достигать 200°, а расход воды в ротоклоне ничтожен: она циркулирует по замкнутой системе. Правда, такие пылеуловители недостаточно компактны, и производительность их ограничена. На 1 м длины щели между перегородками нельзя подавать больше 3 тыс. м3 газа в час.

А что если свернуть щель для прохода газа кольцом? Тогда у потока не будет краев, следовательно, не будет и не заполненных водой углов, неизбежных при прямоугольном отверстии для стока воды. Диаметр круглого пылеуловителя будет в 3,14 раза меньше, чем длина ротоклона. Это тоже удобно.

Такую конструкцию создали и назвали гидродинамическим пылеуловителем (рис. 2). Он улавливает и тонкую серебряную пыль, и порошок суперфосфата, и волокнистую пыль, и мельчайший тальк.

Гидродинамические пылеуловители работают на производственном объединении "Минудобрения", на Московском чугунолитейном заводе имени Войкова и в других местах. Они улавливают пылинки размерами до 1 мкм, а расход электроэнергии на очистку 1 тыс. м3 газа не превышает 0,3 кВт  ч. Они достаточно компактны, просты и надежны. Можно сказать, что на сегодня -- это самая универсальная конструкция очистителя газов. Она, правда, неприменима, если газы загрязнены аэрозолями или если ценность пыли снижается после ее смачивания. Но ведь для аэрозолей существуют ткань ФП и электрофильтры, а для сухого улавливания обычной пыли можно применить и многоступенчатый циклон.

Было разработано еще одно пылеулавливающее устройство. Это барботер -- тот же сосуд с перегородками, только сделать его проще простого. Стоит ли объяснять, как согнуть из листового железа ящик и вварить в него две перегородки, а к верхней перегородке приделать козырек. Но, несмотря на простоту, ящик этот не уступает по эффективности действия ни одному самому сложному барботеру.

Запыленный воздух нагнетается вентилятором в одну полость ящика и давит на зеркало воды, понижая его. Потом он пробулькивает в зазоре между перегородками. Вода в этом устройстве постоянно циркулирует из одной полости в другую. Дело в том, что во время пробулькивания часть воды в виде пены попадает из вход

Рис. 2. Гидродинамический пылеуловитель:

1 -- корпус;. 2 -- входной патрубок; 3 -- выходной патрубок; 4 -- кольцевое сопло; 5 -- чаша; 6 -- шламовый затвор

ной полости в выходную. Она повышает уровень в выходной полости, и вода через зазор между дном и нижней перегородкой проходит во входную полость. В этом весь секрет хорошей очистки воздуха.

Ну а пыль из воды извлекают раз в неделю обычной лопатой через верхний люк.

Тканевые фильтры -- одно из самых простых и надежных воздухоочистительных устройств. Марлей закрывают хозяйки окна квартиры, если на улице пыльно. Широкими полотнищами закрывают нижнюю часть лица погонщики верблюдов...

Современный промышленный фильтр из ткани выглядит, конечно, несколько иначе. Установлено, что любой тканевый фильтр имеет свою предельно допустимую "нагрузку по запыленному воздуху". То есть 1 м2 натянутой поперек воздушного потока ткани может пропустить ограниченное количество воздуха. Например, на 1 м2 шерстяной фланели допускается нагрузка в 250-- 300 м3/ч воздуха, содержащего пыли не больше 100 мг/м3. Если, скажем, стоит задача очищать воздух, нагнетаемый вентилятором производительностью 5 тыс. м3/ч, то потребуется полотнище площадью 20 м2. Как же установить такую большую по площади ткань на пути воздушного потока?

Еще на заре мануфактурного производства рекомендовалось располагать ткань в "пыльных подвалах" зигзагообразно. Запыленный воздух проходит сквозь ткань и оставляет на ней слой пыли. Слой этот с каждым часом растет, и проход воздушному потоку постепенно затрудняется. Необходима чистка фильтра. Люди берут палки и щетки и начинают очищать уловленную пыль. Кому приходилось чистить ковровые дорожки, тот приблизительно знает, что это за работа... Во время чистки к тому же легко повредить и саму фильтровальную ткань. Поэтому на некоторых заводах ее заменяют металлической сеткой.

Ловят пыль и мешочным фильтром. Устройство его напоминает бытовой пылесос. К нагнетательному воздуховоду вентилятора присоединяются мешки, сшитые из пористой материи. Выходящий из вентилятора воздух раздувает их, как пузыри, и проходит через поры ткани уже очищенным. Пыль скапливается внутри мешка. Вытряхивать мешки не так сложно, как ковры-полотнища, но все-таки неприятно. И новаторы Всесоюзного НИИ цементного машиностроения разработали самоочищающиеся рукавные фильтры. Мешки в этих фильтрах вытянуты в Длину, они даже и не мешки вовсе, а рукава. Возможно, отсюда и название "фильтр рукавный". А принцип действия его тот же, что и мешочного фильтра. Есть, к примеру, такая конструкция самоочищающегося сетчатого фильтра. На большое колесо натягивается металлическая сетка. Оно вращается медленно -- всего два-три оборота в секунду. Запыленный воздух проходит через сетку внутрь колеса и удаляется по направлению, совпадающему с его осью. Уловленная пыль откладывается на внешней поверхности колеса. Кожух этого фильтра имеет два патрубка: один -- для подачи запыленного воздуха, другой --для выброса уловленной пыли. Под колесом прямо у пылеразгрузочного отверстия установлен вращающийся валик. Этот валик снимает с сетки колеса пыль и сбрасывает ее в пылеразгрузочное отверстие. Такие фильтры очень удобны для улавливания волокнистой пыли, но они не всегда исправно работают.

А нельзя ли сделать такой же фильтр, но попроще и понадежней. Можно. Вот довольно удачный пылеуловитель с сетчатым колесом, который работает благодаря центробежным силам. Сетчатое колесо вращается потоком воздуха, поступающего на фильтрацию. Колесо работает, как турбина. Турбофильтр можно сделать в любой мастерской из корпуса вентилятора.

Но не во всех случаях хорош турбофильтр. Его основной рабочий орган -- турбина -- требует постоянного внимания, ее нужно периодически осматривать, менять уплотняющее фетровое кольцо, смазывать подшипники.

Для очень легкой пыли можно построить совсем простой фильтр с центробежным эффектом. В нем нет вращающегося ротора, следовательно, нет и неудобств турбофильтра. Называется он "циклон с рукавом". Циклон можно сделать из оцинкованного железа. Внутри его цилиндрического корпуса подвешивается рукав из бязи, а к нижнему краю цилиндра прикрепляется мешок. Как в обычном циклоне, запыленный воздух тангенциально входит в корпус и вращается в нем. Часть пыли сразу выделяется из потока и ссыпается в мешок, а часть наиболее легкой пыли осаждается на рукаве. Но ведь воздух в корпусе вращается, значит, на пыль должна действовать какая-то дополнительная сила. Верно. Эта сила встряхивает рукав, сдувает скопившуюся на "ем пыль. Как и турбофильтр, этот циклон сам себя очищает. Единственный его недостаток -- он не очень компактный. В циклон можно подавать в час всего 600--700 м3 запыленного воздуха.

Итак, нужен более компактный и производительный фильтр с плоским корпусом, такой, чтобы его можно было поставить вдоль стен, чтобы фильтрующий слой был доступен для осмотра и чтобы очистка производилась автоматически... Однажды мне пришлось присутствовать на состязаниях парусных судов. Резкий порыв ветра -- и парус нашей яхты выгнулся в обратном направлении, щелкнув, как кнут пастуха. Не здесь ли кроется разгадка эффективного встряхивания фильтрующей ткани?.. Вскоре после этого был построен пылеуловитель, который авторы назвали "парусный фильтр".

В корпусе между разделительными досками зигзагообразно расположены паруса, плотно прижатые к доскам планками. В каждый парус зашиты рейки. Загрязненный воздух поступает в корпус фильтра, как обычно, через всасывающий патрубок, очищенный -- уходит через вытяжные патрубки. Продувочные патрубки расположены под вытяжными. В вытяжных и продувочных патрубках установлены мотыльковые поворотные шиберы, сблокированные попарно (с помощью тяг), так что открытым может быть только один из патрубков. Для сбора пыли под парусами расположены выдвигающиеся ящики. Для осмотра и ремонта парусов предусмотрена съемная стенка. Принцип действия парусного фильтра такой. Запыленный воздух очищается, проходя через паруса. Основной поток воздуха, выбрасываемый вентилятором, уходит наружу, а остальная часть через специальный воздуховод, встроенный в расходный патрубок вентилятора, может быть подана обратно в фильтр для продувки и встряхивания фильтрующей ткани (парусов),

По штреку из забоя идет запыленный воздух. Как преградить ему дорогу? Можно поставить перегородку. Но она будет мешать транспортеру, вагонетке. Изобретатели кафедры промышленной аэрологии и охраны труда Новочеркасского политехнического института разработали такую схему (авторское свидетельство No 365464): вентилятор забирает запыленный воздух и гонит его поперек штрека, подобно тому как теплый воздух из калорифера создает невидимую завесу в дверях магазинов и метро. Заборник подхватывает и гонит воздух по трубам на очистку. Здесь неподвижное колесо с искривленными лопатками (авторское свидетельство No 417171) завихряет поток. Этим "финтом" изобретатели обходят стандартное решение задачи. А оно заключается в том, что для электрической зарядки частиц пыли ставят электроды. Здесь в них нужды нет. Под воздействием центробежных сил тяжелые частицы угля отлетают к стенкам трубы, двигаясь по винтовой траектории, пылинки трутся о стену и получают электрический заряд. Далее отсекатель направляет угольную пыль в бункер. Там положительный электрод создает электростатическую ловушку, и пыль прочно оседает.

Еще красивее с изобретательской точки зрения устройство для коагуляции (укрупнения) пыли (авторское свидетельство No 361291). Мелкая пыль -- трудноуловима. Она проскакивает и через циклоны. Поэтому ее желательно укрупнить. Изобретатели предложили разделить тоннель, по которому идет запыленный воздух, на две трубы меньшего диаметра. Одну трубу изготовить из фторопласта, а другую -- из оргстекла. В каждую вставить неподвижные колеса -- завихрители потока. Пылинки в силу указанного выше обстоятельства получат определенный заряд. На частицах антрацита в трубе из фторопласта возникает положительный заряд, а в трубе из оргстекла -- отрицательный. Разноименно заряженные частицы пыли попадают в общую коагуляционную камеру и там притягивают друг друга. Образуются крупные хлопья, которые легко улавливаются циклоном.

НА СЛУЖБЕ -- ЖАЛЮЗИ

В жалюзийных пылеуловителях пыль выделяется из газового потока под действием инерционных сил при изменении направления запыленного газового потока. Жалюзийный пылеуловитель состоит из двух основных частей: жалюзийной решетки и циклона. Решетка состоит из ряда пластин, собранных в виде жалюзи; бывает она и конусообразной формы. Назначение жалюзийной решетки-- разделить газовый поток на два:, в одном потоке находится 90--95% всего количества газа, в значительной мере освобожденного от пыли, а в другом -- 5--10% газа, в котором сосредоточена основная масса содержащейся в газе пыли.

Циклон служит для улавливания пыли из обогащенной части" газа, не прошедшего через жалюзийную решетку.

Схема жалюзийного пылеуловителя, разработанного инженером Я. З. Ефремовым, выглядит следующим образом. На пути запыленного газа в газопроводе вертикально установлена решетка, состоящая из ряда конусов. После каждого конуса струйка газа делает резкий поворот; проходя между конусами, газовый поток снова меняет направление и продолжает свое движение в газопроводе по другую сторону решетки в первоначальном направлении.

Частицы пыли, несущиеся вместе с газом, при изменении направления движения газовой струйки стремятся сохранить первоначальное направление. При этом они ударяются о поверхность конусов и отскакивают в сторону, противоположную движению основного потока газа. В результате газ, прошедший через решетку, в значительной мере очищается от пыли; оставшаяся по другую сторону решетки часть газа, насыщенная пылью, поступает через отсосный воздуховод в циклон для ее улавливания.

ВЫТЯЖНАЯ ТРУБА ПОД НАПРЯЖЕНИЕМ

Чтобы очистить воздух, выходящий из вентиляционных коробов предприятий, приходится идти на большие затраты. Как уже говорилось, самые распространенные сейчас очистные устройства -- это циклоны. Чтобы избавиться от мелкой пыли, внутри вытяжной трубы циклона устанавливают проволочный коронирующий электрод. Электростатическое поле отбивает пыль в отстойник. Многие частицы не долетают вниз, а оседают на стенках вытяжной трубы и, если ее периодически не чистить, отслаиваются, попадают в воздушный поток и все-таки выносятся наружу.

Циклон периодически останавливают и тщательно чистят. Ставят дополнительно щетки, скребки. Однако все это плохо помогает.

Работники Всесоюзного заочного политехнического института С. П. Павлов, Н. Д. Киселев, В. Г. Борисенко, Н. Ф. Воропаев и Э. Ж. Немировский сумели совместить простоту и компактность электроциклонов с надежностью и эффективностью электрофильтров. Чтобы пыль не засоряла вытяжку, было решено отбивать ее еще у входа. Для этого не стали, как обычно, помещать электрод внутрь трубы, а саму трубу превратили, в электрод: полый металлический цилиндр, утыканный иголками -- так называемыми фиксированными точками. И не только с боков, но и снизу по периметру входного отверстия. Пыль, попадая в циклон, теперь сразу же наталкивается на мощное электрическое поле, создаваемое вытяжной трубой. Она уже не только в атмосферу -- в трубу не проберется.

Стали испытывать. Пока шла цементная и прочая токонепроводящая пыль, циклон великолепно работал, а когда пустили токопроводящую, стенд чуть не сгорел. Изолятор, отделяющий выхлопную трубу от металлического корпуса, покрылся толстым слоем пыли, и произошло короткое замыкание.

Сделали изолятор составным. Один цилиндр в другом. Если движется нисходящий .поток, загрязняется внешнее кольцо, если восходящий, частично очищенный, частички оседают на внутреннем кольце, а центральный основной цилиндрик всегда остается чистым и надежно предохраняет установку от короткого замыкания. А чтобы чистить изолятор, предусмотрена продувка сжатым воздухом -- останавливать для этого установку не надо. Новый электроциклон компактен, вылавливает высокодисперсную пыль, прост в изготовлении и эксплуатации, имеет коэффициент полезного действия 95%. Его мы испытывали на Московском электродном заводе. Пыль там мелкодисперсная, электропроводная, но установка работала безупречно. Использовать новый электроциклон можно на предприятиях металлургической, химической, горной, горнообогатительной, строительной, пищевой и других отраслей промышленности.

СЛУЖБУ ОЧИСТКИ -- В ОСНОВУ ПРОЕКТИРОВАНИЯ

СКОЛЬКО СТОИТ МЕШОК ДЫМА?

И все же специалистам по пылеулавливанию пока приходится иметь дело с уже созданными технологическими процессами. Нет ни свободного места, ни резервов мощности, ни возможности исправить что-либо в оборудовании. Такой подход к делу в корне неправилен. Сначала необходимо решить вопрос экологии. Ведь зачастую можно с самого начала создать процесс, при котором будет вдвое меньше выделяться дыма и пыли, меньше расходоваться топлива.

Уж так сложилось, что упоминание о городе Тольятти ассоциируется со знаменитым Волжским автомобильным заводом. Но Тольятти славен не только этим.. В городе находится крупнейший в стране завод цементного машиностроения "Волгоцеммаш", где на уникальных станках изготовляются огромные валы, автоматы сваривают толстые листы стали, в цехах сборки мощные мостовые краны манипулируют деталями в десятки тонн весом. Там же, в Тольятти, расположен и Всесоюзный научно-исследовательский институт цементного машиностроения.

...Цементное производство -- одно из старейших, но технология получения цемента за последние 100 лет мало в чем изменилась, если не считать процессов управления. На заводах мы увидим все ту же вращающуюся печь. Тонким ручейком ползет по ее дну шлам, состоящий из смешанной с водой цементной сырьевой муки, остальное пространство печи пустует. Казалось бы, единственный резерв для повышения производительности --дальнейшее удлинение вращающейся печи. Так вот и появились печи гигантских размеров -- 200 м в длину и 7 м в диаметре! Чрезвычайно усложнился привод печей. Малейшая неточность при изготовлении -- и махина может сорваться с катков, круша опоры и постройки.

И еще одна проблема: чем выше производительность цементной печи, тем больше топлива она пожирает. В среднем на каждый килограмм клинкера затрачивается 2,5 тыс. ккал. Огромные трубы цементных заводов изрыгают в небо сотни тысяч кубометров газа в час. Летит в атмосферу и тончайшая пыль, которая губит растительность, загрязняет окрестности.

Институт поставил перед собой цель: создать компактные, но более производительные и экономичные печи, которые резко снизили бы количество потребляемого топлива, а следовательно, и количество выбрасываемых в атмосферу газов.

Вопросом обеспыливания в цементной промышленности давно уже озабочен не один институт. Но в большинстве случаев это были изыскания эффективного фильтра для очистки газов, уходящих из вращающихся печей. Разрабатывались мощные электрофильтры, пылеуловители с множеством рукавов из различных тканей, остроумнейшие ловушки. Однако кардинального решения не находили.

Институт цементного машиностроения взялся за такую задачу почти со дня своего основания, т.е. с 1959 г. Была организована патентная группа для тщательного изучения мирового опыта. Систематизировались микропленки, патентные описания, авторские свидетельства. Параллельно отдел печей и теплообменных устройств вел эксперименты.

Одна за другой отпали схемы, уже разработанные иностранными фирмами. Все более становилось очевидным, что проторенного пути нет. Поиск возглавил заведующий лабораторией кандидат технических наук Н. Н. Шепелев, вскоре подключился инженер А. П. Волов.

Рассматриваются сотни всевозможных вариантов, составляются программы для счетно-решающей машины, ведется моделирование. Наконец, готова и просчитана схема: сырьевая мука уже не смешивается с водой, а в сухом виде поступает сверху в несколько установленных ярусом циклонов-теплообменников. Горячие дымовые газы, выходящие из печи, поднимаются навстречу ссыпающейся вниз муке, прогревают ее и подготавливают к спеканию. Здесь, в циклонном теплообменнике, форма которого чем-то напоминает межзвездный корабль, происходит значительная часть того, что раньше совершалось в 130-метровой вращающейся печи. В самой же печи, длина которой уменьшена до 60 м, происходит спекание сырьевой муки в клинкер.

И вот схема принята техническим советом института, ее работоспособность подтверждена на действующих моделях.

Я побывал в г. Катав-Ивановске, где на цементном заводе была испытана печь конструкции ВНИИцеммаша.

Этажерка с циклонами взметнулась высоко в небо. В топке бушует нестерпимой яркости пламя. Белые от жара орешки клинкера рекой текут навстречу обжигающему факелу.

У каждой технической новинки свои "детские болезни". Были они и у вращающейся печи оригинальной конструкции. Но главный результат налицо: еще не кончился пусковой период, а наши стройки уже получили от щедрой печи сотни тонн высококачественного цемента. "Изюминка" печи -- циклон-теплообменник. Эффект, от его применения превзошел ожидания: 50 т сырья в час, превращенного мельницами в тончайшую пудру, он улавливает и нагревает до 300 с лишним градусов. Клинкер получен, что называется, с первого предъявления.

Тогда же в Тольятти я видел действующую модель новой установки. В отличие от той, что работала в Катав-Ивановске, высота ее ступеней ниже, а степень очистки газов и производительность по обжигу клинкера значительно выше. Научно-технические изыскания помогли попутно создать самые различные новинки: оригинальные пневмонасосы, пробоотборники, устройства для ввода цементной сырьевой муки в циклонные теплообменники, охладители для клинкера. В других отделах института изобретены и уже работают эффективные электрические и центробежные сепараторы, мельницы, элементы вращающихся печей.

За всем этим -- новые веяния в развитии цементного машиностроения.

Иногда руководители предприятий жалуются на то, что они не располагают средствами для строительства газоочистных сооружений. А ведь средства эти можно легко почерпнуть все из тех же дымовых труб, которые отравляют окрестность. Недавно я увидел, как буквально из ничего, а точнее говоря из воздуха, делаются... деньги. И довольно крупные,

Это грандиозное чудо осуществляется ежедневно в масштабах города Рустави. Он известен в первую очередь своим металлургическим заводом. На 25 км вокруг расползался удушливый дым из многочисленных труб аглофабрики Руставского завода. И, сами понимаете, под дымовой завесой не бушевали цветением фруктовые сады, не так уж вольготно чувствовал себя виноград. Да и самим людям дышалось нелегко. Что же касается заводской территории, то разгуливать там в чем-либо, кроме спецовки, никому и в голову не приходило.

А недавно тут воздвигли вторую аглофабрику. Казалось бы, они задымят с удвоенной силой. Но...

Инверсионный слой над городом постепенно стал просветляться. Отряхнули с себя пыль окрестные сады и виноградники. Руставцы вдохнули полной грудью. На заводской территории поднялся чудесный парк, по которому без опаски можно разгуливать в белой рубашке.

Но при чем тут деньги, которые делаются из воздуха? А вот при чем. Старая аглофабрика, нынче уже вышедшая в тираж, вместе с дымом выбрасывала в воздух десятки тонн шихты. А новая не делает этого. Очистные устройства ловят мельчайшую пыль и вновь возвращают, ее в производство. И немалое количество -- около 172 тыс. т в год. А это, образно говоря, пойманные в воздухе 1 млн. 670 тыс. руб.!

Много сил вложили в это и главный инженер проекта Т. А. Гачечиладзе, и бригадир монтажников депутат Верховного Совета СССР 3. Капонадзе, и министр строительства Грузии В. Т. Гоголадзе, и многие другие.

К счастью, не только дурные, но и хорошие примеры заразительны. Возможно, на ферросплавном заводе в Зестафони, поглядев на пример руставцев, решили больше не мириться с тем, что дым из здешних 56 труб на 30% состоял из бесполезно улетающего в воздух марганца.

Не так-то просто было директору завода Г. Кашакашвили в союзе с чиатурскими строителями возвести очистные сооружения высотой 35 м. Но зато и тут на территории расцвели цветы, заплескались бирюзовые воды плавательного бассейна. И тут в сутки отлавливают и вновь направляют в производство около 33 т марганца. А это ежегодно пойманные в воздухе 800 тыс. руб.!

Товарищи, работающие на небольших предприятиях, могут возразить: "Где уж сотни тысяч экономить, когда весь годовой доход у нас меньше этой суммы!" Но на маленьких предприятиях есть и свои удобства. Внедрить изобретение там легче, так как это не связано с нарушением технологического цикла. А в охране атмосферного воздуха маловажных дел нет. Все пойдет в народную копилку.

ОГОНЬ БЕЗ ДЫМА

Вроде бы баня -- чистое учреждение, а попробуйте постоять неподалеку от нее с подветренной стороны! Что мылся, что не мылся -- весь в саже будешь.

Однажды житель Омска отставной паровозный машинист Борис Прохорович Бреусов пошел в баню, посмотрел на трубу над ней и ахнул. Черный дым валил клубами. Снег почернел на крышах соседних домов. Аж сердце сжалось у старого рабочего. "Руки-ноги поотрывать такому кочегару!"

Вместо мыльного отделения направился Борис Прохорович прямо в котельную. А там! Во все щели в топку воздух тянет, а настоящего горения нет. Сколько мазута дымосос в трубу выбрасывает! Котлы совсем сажей заросли.

Видит Бреусов: нет вины кочегара -- топка не годится. "А что, думает,-- если реконструировать ее по типу той, что я сделал во время войны на паровозе?"

Тогда транспортники получали отвратительный мазут, который сжигать без дыма было просто невозможно. А дым демаскировал эшелон. Того гляди "юнкере" из облаков выскочит. Вот и переложил он топку по-своему. Прямо на пути факела поставил огнеупорную стенку. Она и помогла. Черный шлейф за трубой локомотива исчез.

Как был с веником и свертком, Борис Прохорович отправился к директору банно-прачечного комбината. Так, мол, и так: "Непорядок во вверенном вам хозяйстве. Летят в небо денежки да еще засоряют все вокруг!"

-- Знаю,-- отвечает директор,-- да что попишешь? Сделано все по проекту.

Рассказал ему Борис Прохорович про то, как на паровозе топку перекладывал. Заинтересовался директор: "Эх, была не была, поверю старому изобретателю".

Наутро работа закипела, а через неделю реконструкцию топки закончили. Подивиться приходили даже с соседних предприятий. Зауженной горловиной она напоминала грузинскую печь для выпечки лаваша. Форсунка с паровым распылом поставлена с наклоном. Основной, первичный, поток воздуха введен через днище, а небольшая его часть -- "вторичное дутье" -- подана под факел, образуемый форсункой.

С замиранием сердца Борис Прохорович зажег топку. Пламя ударило в заднюю,стенку и быстро накалило ее. Частицы сажи, вылетавшие в трубу, по инерции устремлялись на раскаленную стенку и на ней догорали.

Выбежали на улицу: дымок из трубы светлый. Будто и не та котельная. Выключили дымосос -- и так хорошо.

Обратились к умельцу руководители Омского пассажирского автотранспортного предприятия. Там Борис Прохорович переложил топки котлов паровозного типа в гаражах и конторах. И реконструкция удалась. Провели сравнительные испытания: экономический эффект--13374 руб. Пришлось оформлять заявку на предполагаемое изобретение. Без возражений с первого предъявления Б. П. Бреусову выдали авторское свидетельство No 343114. Советую конструкторам, проектирующим "малую энергетику", ознакомиться с разработкой Б. П. Бреусова и внедрить ее в небольших котельных.

ДЫМ МОЖНО СДЕЛАТЬ ВКУСНЫМ

Я уже говорил о гидродинамическом пылеуловителе. После его внедрения и публикации сообщения об этом в экспресс-информации на мое имя пришло много писем. Писали инженеры-эксплуатационники с химических и металлургических предприятий, активисты НТО и ВОИР, ответственные за чистоту воздушного бассейна над заводами стройиндустрии. Но одно из них -- от жителя Севастополя инженера-конструктора ЦПКТБ Азчеррыба Б. Гергеля показалось мне особенно интересным: "Уважаемый товарищ, я разработчик коптильных печей и дымогенераторов. Дымовоздушная смесь, применяемая для копчения рыбы, образуется в дымогенераторах в результате возгонки древесных опилок и несет в себе большое количество зольных и смолистых веществ. Последние загрязняют рыбу и оборудование. Известные методы очистки дыма малоэффективны. Что можно придумать для осушки и очистки дыма перед его поступлением в коптильную камеру?"

Обычно в таких случаях применялись электростатические тканевые фильтры, но от них пришлось отказаться. Дело в том, что в дымогенераторах опилки иногда вспыхивают и факел со снопом искр выбрасывается в коптильную камеру. В этом случае электростатическая ткань, конечно, моментально сгорит. Известный ранее акустический метод, возможно, и подошел бы, но ведь эксплуатация ультразвуковой сирены дело не простое. Для рыбозаводов требовалось что-нибудь попроще. Кроме того, ведь нужно решить вопрос предохранения коптильной камеры от выброса огня.

Рис. 3. Дымогенератор:

1 -- корпус дымогенератора; 2 -- бункер для опилок; 3 -- колосниковая решетка; 4 -- дымоотводящая труба; 5 -- барботажное кольцо; 6 -- патрубок брызгоуловителя; 7 -- газоход

Я ответил Б. Гергелю и вскоре по приглашению руководства ЦПКТБ Азчеррыба выехал туда для проведения опытов. Ведь, что ни говори, а лучше один раз увидеть процесс, чем сто раз о нем услышать. Картина, которую я увидел на рыбозаводе, была не из лучших. Смола, образующаяся при неполном сжигании опилок, текла через фланцы газоходов, загрязняла лопасти вентилятора, капала на оборудование цехов, которое по условиям пищевых производств нужно держать в идеальной чистоте и порядке.

В ту пору многим казалось абсурдным осушение коптильного газа водой. А ведь известны системы кондиционирования, где снижение влажности воздуха достигается путем его орошения холодной водой. Возьмите стакан и подышите в него. Тут же стенки запотеют. Это выпала вода из нагретого в легких воздуха. Из дыма при охлаждении тоже выпадает влага.

И все же решиться на то, чтобы на этом явлении строить дымогенератор, было трудно. Одно дело знать назубок "I -- d диаграмму", где каждому физическому состоянию газа соответствует своя точка выпадения росы, другое -- уверовать в нее настолько, чтобы осушить воздух в камере орошения. И тем не менее главный конструктор ЦПКТБ Азчеррыба заслуженный изобретатель УССР А. Баяндин и лауреат Государственной премии УССР Б. Гергель совместно с автором этих строк решили сделать мокрую дымоочистку. Результат не замедлили сказаться. Партии морской рыбы, прошедшие через коптильную камеру, были безукоризненны.

Специалисты подсчитали, что кубометр дыма из нового генератора значительно дешевле, чем из старого.

Рыба получается нежно-золотистой, без малейшего привкуса горечи, которую дают частицы смолы, и никакие выбросы искр теперь ей не страшны. На этот водно-инерционный (ВИ) способ было получено авторское свидетельство No 749374 (рис. 3).

ОТХОДЫ В ДОХОДЫ!

Внеплановое исследование, которое провели сотрудники Института физики металлов по просьбе "Уралмаша", обернулось весомой прибавкой в фонд экономии редких металлов.

Заточник В. Ходов принес в институт горстку кусочков твердого сплава, содержащего вольфрам, и сказал:

-- Мы старательно прибираем эти кусочки, потому что тонна их стоит более 4500 руб. Но есть на заводе отходы вольфрамового сплава еще более значительные-- пылевидные, которые получаются при заточке резцов. Жаль, нет надежного "пылесоса" для сбора этой дорогой пыли.

Специалисты по магнитной сепарации пыли испытали образцы, принесенные в институт. Оказалось, что остатки твердосплавных резцов обладают сильным ферромагнетизмом. Значит, и частицы пыли должны иметь это свойство. Через несколько недель ученые передали рабочим "Уралмаша" мощный магнит. Магнит улавливает металлическую пыль с высоким содержанием вольфрама.

Заточникам, работающим с твердосплавными резцами, даются годовые задания по сбору вольфрамовых отходов. Есть задание и у В. Ходова, обслуживающего два станка. Используя способ, предложенный учеными, В. Ходов превысил норму годовой экономии редкого металла -- собрал для переплавки более 700 кг вольфрамовой пыли.

ЭКСКУРСИЯ ПО КРЫШАМ

О КАКИХ ТРУБАХ ТРУБИТЬ НЕ НАДО

Одному художнику для заводского клуба заказали картину, на которой нужно было изобразить производственный пейзаж.

Долго ждали, наконец творение кисти профессионала высшего класса было водворено в фойе клуба и завешено сверху белой материей. Собрались руководство предприятия, передовики производства, общественники. Заведующий клубом дернул за веревочку -- и занавес упал. Но что это? Лица заказчиков вытянулись, как от горького лекарства, После затянувшейся паузы директор завода обратился к художнику: "Нам хотелось оставить будущим поколениям правдивую картину предприятия. Пусть, живя в прекрасном завтра, они вспоминают и нас, построивших этот гигант индустрии. А здесь что? Сплошные бесхозяйственность и разгильдяйство! Этот густой дымище из труб цеха обжига! Перед людьми стыдно. Интересно, кто был начальником смены, когда вы это рисовали?!"

Густота дыма многое говорит опытному взгляду. Хорошо ли ведется процесс горения, включены ли газоочистные устройства, как они налажены и правильно ли эксплуатируются. Газ на выходе из трубы имеет определенную температуру и скорость. Чем выше температура, тем меньше плотность газа и, следовательно, больше его подъемная сила. Если день не очень ветреный, газ из трубы поднимется на некоторую высоту, там потеряет свою скорость и развеется в горизонтальном направлении. Струя газа в результате диффузии расширится и концентрация в ней пыли и других вредных веществ уменьшится.

В ветреную погоду газ при выходе из трубы сразу резко отклонится и начнет двигаться параллельно земле на уровне устья дымовой трубы. Если труба недостаточно высока, частицы вредных веществ быстро осядут на окна жилых домов и на зеленые насаждения.

При высоких дымовых трубах газ снизится до приземного слоя на значительном расстоянии от завода. Причем, зная начальную концентрацию в нем вредных веществ, можно рассчитать, какой высоты должны быть дымовые трубы, чтобы осевшие газы не содержали вредных частиц больше предельно допустимой нормы.

ТРУБА КАК ТРУБА

Не одно тысячелетие известна дымовая труба. Еще во дворцах древних инков были дымоходы для эффективного удаления продуктов сгорания топлива и обогрева стен, в толще которых их прокладывали. Но до сих пор трубы не перестают совершенствовать. Все новые и новые заявки на изобретения поступают во Всесоюзный НИИ государственной патентной экспертизы. Цели у изобретателей разные. Одни ставят перед собой задачу повыше выбросить дым, другие -- максимально использовать его тепло, третьи -- повысить производительность самих труб. Нужны высокоэффективные трубы, ибо если нет дыма без огня, то не должно быть и дыма из труб. Газ из них должен выходить очищенным, выбрасывать его следует в высокие слои атмосферы, и при этом трубы обязаны обеспечивать нормальную работу топки котла, промышленной печи или мартена. Словом, необходимы экологически чистые трубы.

"Экологически чистая труба". Казалось бы, нет логики в этом выражении. Как "сухая вода" или "белая сажа"... Испокон века иронизировали: "Чист, как трубочист", или: "Из какой трубы ты выскочил?", "Вижу, дело наше -- труба"...

Люди придумали трубы, только узнав определенные физические закономерности. Теперь же исследователи стараются глубже изучить жизнь дымовой трубы, чтобы сделать ее экологически чистой. А это не малое дело, потому что и большая экология во многом зависит от частных решений.

Дымовая труба работает потому, что внутри нее температура выше, чем снаружи. Горячий дым поднимается вверх, ибо его удельный вес меньше удельного веса окружающего воздуха. А если через трубу удалять не дым, а обыкновенный воздух? Как быть в таком случае? Ставить вентилятор? Но он дорог. И вот пропадают фрукты и овощи. Гибнет с таким трудом собранный урожай. Многие склады и овощехранилища нуждаются в проветривании, а принудительной вентиляции не имеют.

Вытяжная шахта, предложенная Н. М. Трипуковым, выполнена в виде трубы в трубе. Наружная труба сделана из прозрачного для инфракрасных лучей материала. Стенки внутренней железной трубы нагреваются солнцем до 40--50° и передают тепло содержащемуся в ней воздуху. Возникает тяга, с помощью которой без затрат электроэнергии вентилируется помещение.

Чем эффективней удаление спертого воздуха, тем чище сам выброс, тем чище окружающая экологическая среда. Нормально вентилируемое овощехранилище имеет чистое дыхание, не отравляющее окружающую среду запахами, да и овощи в нем не гниют.

До сих пор теплообменники всегда ставили ниже дымовых труб. Инженера, который бы решил поставить водяной экономайзер и воздухоподогреватель над трубой, сочли бы не в своем уме: затруднена эксплуатация, завышена стоимость монтажа и, вообще, все не по традиции. А ведь идея эта "достаточно безумна" для того, чтобы всерьез о ней поразмыслить... Для того чтобы труба имела хорошую самотягу, нужно чтобы температура внизу у нее была выше, чем вверху. Выходит, что для самотяги выгодней выпускать из котлоагрегата горячий газ? Следовательно, использование тепла уходящих газов для подогрева воды и дутьевого воздуха невыгодно? Но мы-то знаем, что это не так! Чем ниже температура уходящих газов, тем выше коэффициент полезного действия котлоагрегата. Выход из замкнутого круга нашли инженеры Укргипромеза, перенесшие поверхности нагрева на выход ствола дымовой трубы. При такой компоновке и самотяга возросла, и коэффициент полезного действия не снизился.

Этот же прием можно использовать и для установки газоочистительного аппарата, перенеся его снизу на верх трубы. В частности, так и поступили инженеры Московского чугунолитейного завода имени Войкова, установив на самом верху вагранок оросительные камеры, в которых промывается уходящий газ. Завод этот передовой в борьбе за чистоту воздушного бассейна Москвы. Борьбе за экологически чистую окружающую среду там уделяют максимум внимания.

ДЫМ КОЛЕЧКОМ

Какая на дворе погода -- можно узнать и не включая радио. Если дым из труб выходит столбом, значит, морозно и тихо. Была бы такая погода всегда, не потребовались бы и высокие трубы. Но, увы, высокая влажность, ветер, низкая облачность, осадки -- все это в ущерб самотяге. Порой в заводских поселках образуется такой смог, что даже днем видимость не превышает нескольких метров. Все, чем люди напитали атмосферу, она начинает выдавать обратно: изгарь, частицы топлива, смолы и сажи -- все это хлопьями осаждается на земле.

Вот если бы научиться пускать дым кольцами! Бывают ведь ловкачи, которым ничего не стоит, посасывая трубочку, делать какие-то неуловимые для глаз движения языком и губами и выпускать в воздух кольца дыма. Не исключено, что это единственно полезное следствие курения табака. Конечно, имеется в виду человек, который не только способен пускать дым колечками, но и задуматься о причинах, их образующих. Знаменитый ученый Р. Вуд построил ящик для пускания больших дымовых колец и использовал его при демонстрации опытов перед студентами. Ящик был сделан в виде куба со сторонами в 1 м. Одна из стен ящика была из клеенки, поддерживали ее две перекрещивающиеся резиновые трубки, что придавало ей упругость. Напротив клеенки в стене ящика имелось круглое отверстие. Дым имитировался с помощью двух соединенных резиновыми шлангами колб с соляной кислотой и нашатырным спиртом. Взаимодействуя, кислота и аммиак давали туман, состоящий из мельчайших частиц нашатыря. Когда ящик наполнялся этим туманом, Вуд сильно и резко ударял по стене, затянутой клеенкой, и из отверстия вылетало большое кольцо. Вот как он писал об этом: "Силу воздушных колец можно показать таким образом. Направим их на плоский картонный ящик, стоящий на некотором расстоянии от установки. При этом ящик сразу же переворачивается или даже падает на пол. Ударом вихревого кольца можно погасить пламя газовой горелки. После некоторой тренировки можно научиться выпускать два кольца быстрой очередью, причем так, чтобы второе кольцо летело с несколько большей скоростью, чем первое. Тогда второе кольцо нагоняет первое, ударяется о него и отскакивает, оба кольца остаются целы и превращаются в вибрирующие эллипсы. Это показывает, что газовый вихрь обладает упругостью".

Если бы применить эти знания на практике. Хотя бы для того, чтобы создать дымовую трубу, которая выбрасывала бы вредные газы в самые верхние слои атмосферы!

Самые большие современные трубы (до 300 м) не отводят дым выше 750 м. За рубежом ведется интенсивная работа по созданию эффективных устройств, увеличивающих высоту выброса газов. В США и Англии испытываются трубы, выбрасывающие дым в форме колец с помощью автоматической системы клапанов. Таким путем сформированные кольца дыма способны подняться на высоту до 3 тыс. м, где они свободно рассеиваются. Этим может обеспечиваться безопасная для живой природы концентрация ядовитых веществ.

В конструкции трубы, на которую выдано авторское свидетельство No 319725, для увеличения выброса газов применена эластичная колеблющаяся диафрагма, благодаря чему газы могут приобретать форму колец и

большую скорость движения по оси колебания диафрагмы, т.е. вверх.

Устройство с мембраной, помещенное в вершине трубы, увеличивает высоту выбрасывания газов. Конструкция довольно проста, ею можно оборудовать все существующие трубы без сложных переделок и больших капитальных вложений.

Принцип действия, напоминающий опыт Вуда, легко проследить на модели, состоящей из обычной консервной банки, у которой с одной стороны в донышке по центру вырезано отверстие диаметром 2--2,5 см, а с другой-- донышко заменено полиэтиленовой пленкой. На боковой поверхности банки -- отверстие для тлеющей папиросы. Когда в банке наберется дым, по донышку из полиэтиленовой пленки слегка ударяют ладонью. Тогда из отверстия в жестком донышке вылетают кольца и столбики дыма и быстро устремляются вверх.

Особенность предложения состоит в том, что ускоритель движения газов находится на выходе из трубы, и независимо от того, есть ли на входе в трубу вентиляторы или нет, газы получают большой запас кинетической энергии для движения вверх; энергия не тратится на преодоление сопротивления у стен внутренней поверхности трубы и вся используется на выбрасывание газов, обеспечивающее создание колец.

Дутьевыми вентиляторами, применяемыми в трубах, этого эффекта достичь невозможно без использования сложной системы клапанов. Клапаны же обладают невысокой надежностью, за ними нужен постоянный уход, нужен отдельный привод. Понятно, почему они не получили распространения.

В предлагаемой конструкции клапанов нет, и в целом надежность устройства может быть выше.

Резкого изменения диаметра в устье трубы не будет: площадь сечения здесь равна или лишь немного отличается от суммарной площади окон на боковой поверхности цилиндра.

ТРУБА С ВОЗДУШНЫМИ СТЕНКАМИ

Неоднократно изобретатели пытались сконструировать дымовую трубу, позволяющую посылать дым в заоблачную высь. Но пока что достаточно производительной, эффективной и экономически приемлемой установки так и не построено. Однако опытные установки работают, и сдвиги в этом деле есть.

Турбулизировать дым на выходе из трубы с тем, чтобы сделать ее дальнобойной,-- такая задача достижима. Ленинградским зональным научно-исследовательским и проектным институтом типового и экспериментального проектирования жилых и общественных зданий предложен насадок к вытяжной трубе, состоящий из прикрепленных к устью трубы участков воздуховодов. Попадая в них, ветер закручивает дымовой поток и способствует его подъему. Однако и здесь имеется недостаток: чтобы насадок действовал, нужен ветер.

Представьте ситуацию: построили завод, трубу установили, все как следует, а через год-другой рядом с заводом выросло многоэтажное здание. Мала стала труба. В верхние этажи дым попадает. И на этот случай есть изобретение. Эжектирующее устройство дымовой трубы -- это тоже насадок. От предыдущего же он отличается лишь тем, что действует не за счет ветрового напора, а от вентилятора, смонтированного снаружи трубы. Вентилятор засасывает уличный воздух и гонит вверх в виде прозрачного кольцевого канала, внутри которого движется дымовой поток. Невидимые глазом стенки трубы не дают дыму отклониться от первоначально полученного направления. Жителям соседней многоэтажки дым стал не страшен. Один недостаток -- по нему стало невозможно определить, какая погода на улице. Независимо от влажности и температуры воздуха дым идет столбом.

ЗОНТ ДЛЯ ТРУБЫ

Чтобы дождь и снег не попадали в вытяжные трубы, над ними ставят зонты. Преграда надежная, но... Не пропуская внутрь трубы осадки, зонт тормозит и выходящий из нее лоток воздуха. Вроде бы мелочь, а за год по заводу сотни киловатт набегают только на преодоление сопротивления зонтов. Да и пыль, ударяясь о зонт, оседает на крыше, загрязняя территорию завода. В Московском научно-исследовательском и проектном институте типового и экспериментального проектирования зонты решили заменить набором вертикальных и наклонных пластин. Причем нижние наклонные пластины

выполнены со сливными желобками. Осадки, собираясь на наклонных пластинах, выливаются по лоткам наружу. Сами же наборы пластин создают воздушному потоку меньшее препятствие, чем зонт. Да и пыль при такой конструкции трубы на крыше не оседает.

Однако есть у этого изобретения и свои недостатки. Желобки наклонных пластин быстро забиваются мелкой пылью, и расход металла на их изготовление великоват. Есть другой, не менее эффективный, но более простой способ предотвратить оседание на крыше пыли, ударяющейся о зонт выбросной трубы. Никаких особенных изменений в конструкцию трубы для этого вносить не нужно. Надо лишь прикрепить к ее устью полый усеченный конус, который закроет зонт по высоте, а между внутренними стенками основания конуса и зонтом оставить зазор для того, чтобы вентиляционные выбросы шли вверх. Атмосферные осадки сливаются наружу через отверстия в нижней части усеченного конца.

КЛАПАН ДЛЯ ТРУБЫ

Каких только флюгеров не бывает на свете. "Старый Томас" стал даже "визитной карточкой" Таллина. Есть флюгера и в виде поворачивающегося колена, через которое поток ветра эжектирует воздух, собравшийся в помещении. Изобретатель В. Я. Виноградов в этом направлении сделал шаг вперед. Его дефлектор по совместительству является еще и шибером. Рычагом со штоком его можно поднимать вверх и опускать, закрывая трубу. Иногда трубу нужно закрывать, но не в переносном, а в прямом смысле.

Кончилась смена, рабочие разошлись, а трубы, как это ни печально, продолжают действовать. Из тех, что повыше, теплый воздух самотягой выходит в атмосферу, а через низкие засасывается с улицы холодный. Ржавеет от холода оборудование, выстуживается помещение. На одну трубу среднего диаметра расходуется до 50 кг угля в неделю! Выход один -- для того чтобы сэкономить тепло, нужен очень легкий и надежный клапан, который бы автоматически закрывал трубы. Условия задачи следующие: в открытом положении клапан не должен создавать сопротивление для прохода воздуха, быть недорогим, а монтаж его нетрудоемким.

Инженеры Московского пусконаладочного управления Минлегпрома СССР решили этот вопрос следующим образом: между зонтом и срезом трубы установили полистироловый диск с четырьмя проушинами, охватывающими стойки зонта. Когда включается вентилятор, диск под действием напора воздуха поднимается вверх и прижимается к зонту. Там он и удерживается все время, пока работает вентилятор. Как только он перестает работать, диск падает и надежно перекрывает воздуховод, не давая холодному воздуху проникать в помещение. Для удобства монтажа проушины сделаны разрезными. Один слесарь за день может смонтировать более десяти таких клапанов и сберечь машину угля в год. Цена же полистироловому диску -- копеечная.

ТРУБА ПРОТИВ МУСОРА

Бич окружающей среды --мусор, образующийся вокруг жилья. Мусор сжигают, это известно каждому. А вот как это делается? Горение, прямо скажем,-- неорганизованное. Просто поджигают одну кучу за другой, ядовитый дым стелется над свалкой,- а потом на выгоревшее место самосвалами привозят новые сотни тонн мусора. Конечно, так избавляются от мусора не во всех городах. Там, где защите окружающей среды уделяется достаточно внимания, сжигание отходов организовано лучше. Колосниковая решетка, дутьевой вентилятор и дымовая труба обязательно применяются в процессе сжигания. Без них нормального горения не получишь. Но возникает вопрос, где расположить все эти сооружения. Постройка эстакады для подъезда автомобилей, огромной печи с системой золоудаления обходится слишком дорого.

Проект печи для сжигания отходов Б. В. Коткина и Ю. И. Терентьева (авторское свидетельство No 976222) предельно упрощен. По сути дела, вырытая в горном склоне шахта, в которую сбрасывается мусор, является началом дымовой трубы. Шахта -- одновременно и бункер-накопитель и топка, под ней же, в боковой штольне, расположен дутьевой вентилятор, подающий необходимый для поддержания горения воздух. Перед трубой установлены газоочистные устройства, предотвращающие выброс вредных веществ в воздух. Зола, образующаяся при сжигании мусора,-- прекрасный наполнитель для строительных блоков.

ДИРИЖАБЛЬ ПЛЮС ТРУБА

Отсасывать из трубы выбросные газы -- дорогое удовольствие. Для удаления больших объемов такие вентиляторы не годятся. А ведь вентиляционникам зачастую приходится иметь дело с сотнями тысяч кубометров воздуха, который нужно протянуть через трубу... Особенно большие объемы воздуха нужно удалять из горных выработок.

Подсчитано и доказано, что полезные ископаемые выгоднее всего добывать открытым способом, из карьеров. Копай и копай себе на здоровье, в шахту лезть не нужно и крепи не требуются... Однако и здесь есть свои отрицательные стороны. Работа "на свежем воздухе" на самом деле оборачивается своей полной противоположностью. Пыль и выхлопные газы от автомобилей, которые вывозят полезные ископаемые из карьера, скапливаются внизу. Строить обеспыливающие установки в карьере неудобно. Ведь длина аспирационных воздуховодов будет составлять многие сотни метров. Построить огромную трубу, которая вытянет газ из карьера и выбросит его в верхние слои атмосферы? Идея вроде бы и неплохая, но... Карьер на месте не стоит, а по мере вырабатывания пластов движется, увлекая за собой и все основные источники пылегазовыделений. А ведь можно построить передвижную трубу, высота которой практически будет неограниченной Подвесить к дирижаблю воздуховод из эластичного материала, и дело с концом. Моторы такому дирижаблю не потребуются, удерживаться на месте он будет при помощи четырех расчалок. Тракторы, прикрепленные к тросам, отбуксируют трубу куда надо. Госкомитет по делам изобретений и открытий выдал по этой заявке авторское свидетельство No819357.

ВИХРЬ В ТРУБЕ

Для удаления газов и одновременной их очистки от пыли необходимо очень простое и эффективное устройство, не требующее больших затрат электроэнергии. А если применить эжектирующее устройство дымовой трубы для того, чтобы с его помощью улавливать несгоревшие частицы? Оказывается, это возможно! Нужно только повернуть насадок трубы вниз. Частицы, идущие по трубе с большой скоростью, обладают инерцией,

которой достаточно для того, чтобы при повороте газового потока на 180° они продолжали двигаться по прямой. Изобретение под названием "Устройство для очистки потока газа и пыли" использует именно этот эффект. Сразу за срезом опускного участка трубы установлен конус с отверстием, в которое и пролетают по инерции твердые частицы, а для того чтобы очистку сделать эффективной, вокруг пылевого потока создается еще завеса из чистого воздуха. Как и в эжектирующем устройстве, здесь образуется прозрачный кольцевой канал, препятствуюший проникновению пылинок из грязного потока в атмосферу.

Щель, через которую в корпус пылеуловителя проникает чистый воздух, долгие годы специалисты считали вредной. Ведь воздух, примешиваясь к очищаемому газу, балластирует его -- увеличивает объем, следовательно, и увеличивается расход электроэнергии на транспортировку. Но если так рассуждать, то и вода вредна в системе газоочистки! А ведь скоро 100 лет, как запыленный поток очищают путем орошения водой. Метод эффективный, но... связанный с решением другого вопроса: куда девать отработавшую в пылеуловителе воду. В этом отношении воздух, подаваемый в корпус пылеуловителя, намного удобней. В отличие от воды он ничего не стоит, и его сброс можно осуществить прямо в атмосферу. Главное, чтобы он был чист.

В последние годы появились новые устройства для улавливания пыли -- вихревые. В их корпуса через кольцевые щели с направляющими лопастями подается воздух, создающий вихрь, который собирает пылинки в общий концентрированный поток. В природе такие вихри можно наблюдать в жаркий день на пыльной дороге. Они возникают в восходящем токе воздуха, живут несколько секунд и исчезают. В вихревом пылеуловителе вращающийся поток существует за счет вторичного воздуха, создающего "подкрутку", пыли. Пылевой вихрь, которого еще не так давно боялись как порождения нечистой силы, стал служить охране природы. И теперь если сказать про какой-нибудь завод, что у него "дым пожиже, а труба пониже", чем у соседей,-- это значит похвалить его. Но разговор о вихревом эффекте на этом не кончается, мы еще не раз вернемся к нему.

НЕМНОГО О ВИХРЯХ

ВИХРЕВЫЕ "ДЕМОНЫ МАКСВЕЛЛА"

В 1858 г. Г. Гельмгольц разработал теорию круговых потоков в идеальной жидкости и пришел к выводу, что в центре ядра существует некий цилиндрический столбик, который вращается подобно твердому телу. Это открытие дополнил Ж. Ранк. Он установил, что в высокоскоростном вращающемся потоке происходит "самопроизвольный отсос тепла" от воздеосевых слоев вихря к периферийным. При этом температура первых понижается, а вторых повышается по сравнению с первоначальным уровнем.

Автор открытия не сумел дать ему теоретического обоснования. Он изобрел вихревой холодильник и эжектор для отсоса газов, но добиться сколько-нибудь приемлемого коэффициента полезного действия не смог. Его современники проводили аналогию между вихревым разделением энергии и работой "демона Максвелла", полагая, что в вихревой трубке происходит сортировка горячих (быстрых) и холодных (медленных) молекул. Действительно, в вихревом потоке одна его часть нагревается, а другая охлаждается, но убедительных данных в пользу гипотезы о сепарации на молекулярном уровне до сих пор нет. Некоторые современные ученые придерживаются мнения о взаимодействии вихрей, в соответствии с которым действие механизма вихревого энергоразделения выявляется в макроскопических масштабах -- при турбулентных пульсациях в поле центробежных сил последовательные многократные сжатия и расширения воздуха в вихре приводят к появлению радиального перетока тепла от оси к периферии. Однако и эта гипотеза до сих пор не имеет достаточно веских научных обоснований. Как бы в напоминание об этом председатель координационного совета по вихревой технике профессор А. П. Меркулов перед началом заседаний спрашивает собравшихся, не привез ли с собой кто-нибудь теоретическое обоснование вихревого холодильника. Но... Пока что имеются чисто практические достижения.

Как это часто бывает, отсутствие четкой теоретической базы на долгие годы задерживает применение изобретений на практике. "Техника преследует пользу, а наука -- истину", но значит ли это, что нужно воздерживаться от замечательных изобретений, созданных на основе вихревого эффекта? Многие советские и иностранные инженеры ведут разработки в этом направлении. Заведующий лабораторией вихревой техники заслуженный изобретатель Латвийской ССР кандидат технических наук А. И. Азаров разработал вихревой холодильник, коэффициент полезного действия которого приближается к коэффициенту полезного действия компрессорного, хотя его вес .в несколько раз меньше. Сейчас аппараты уже выпускаются серийно для использования в транспортной технике: в кабинах тепловозов, электровозов и автомобилей. Вихревые холодильники хороши для предотвращения перегрева резцов, обрабатывающих особо твердые сплавы, а также для кондиционирования воздуха в кабинах крановщиков.

60% всех патентов, выданных на усовершенствование вихревых трубок во всем мире, принадлежит изобретателям из СССР. Здесь не только холодильные машины и эжекторы.

У ряда славянских народов бытовало поверье, что в вихре обитает нечистая сила и стоит бросить в него серп, вихрь распадется, и только капли росы останутся на серпе. Это и есть кровь дьявола. В балладе "Кубок" поэт В. Жуковский пишет о том, что юноша паж нырнул в море за кубком и попал в водоворот:

И вдруг мне навстречу поток;

Из трещины камня лилася вода;

И вихорь ужасный повлек

Меня в глубину с непонятною силой...

И страшно меня там кружило и било.

С точки зрения гидроаэродинамики, обе ситуации вполне достоверны. Попав в .центр вихря, серп мгновенно охлаждается и после разрушения смерча тут же запотевает, капельки росы -- это конденсат из воздуха. Вихревой же поток, увлекший пажа, как песчинку, вниз, также не идет в разрез с наблюдениями ученых. В воде действуют такие же процессы, как и в воздухе. Далее Жуковский пишет, как паж сначала зацепился за подводную скалу, а потом оттолкнулся и попал в центр вихря: "То было спасеньем: я схвачен приливом и выброшен в верх водомета порывом". Действительно, в эпицентре вихрь имеет восходящий поток.

Роберт Вуд для иллюстрации лекций подогревал на газовых горелках противни с тонким просеянным песком. При этом имитировались смерчи, возникающие в пустынях. Горячий поток воздуха образует вихревую трубу и затягивает в нее пыль, как "твердое тело", которое Гельмгольц в своих трудах назвал вихревым шнуром. Расположив в придорожной пыли несколько тангенциально направленных сопел, можно подключить их к компрессору и искусственно создать смерч, который, возникнув, какое-то время продержится над соплами, вберет в себя некоторое количество пыли и рассыплется.

Для поддержания "работы" смерча необходимо огромное количество энергии. В марте 1984 г. над штатом Иллинойс (США) прошел вихрь, именуемый торнадо. Его жертвами стали 24 человека. Камиль Фламмарион в своей работе "Атмосфера" рассказывал о смерче так: "В числе крупных метеоров, нарушающих видимый порядок и гармонию природы, в числе явлений, приносящих ужас и отчаяние всюду, где они показываются, одно из них замечательно своими странными гигантскими формами... оно, по-видимому, повинуется... неизвестным и как бы противоречивым законам, которые управляют им самим и, наконец, бедствиями, причиняемыми им. Эти бедствия сами по себе сопровождаются особыми обстоятельствами, столь странными, что причины их нельзя смешать с другими воздушными явлениями, губительными для человечества. Этот столь грозный и необычайный метеор, к счастью редкий в наших странах, обозначается в наше время общим названием смерча".

В то время метеором называлась не только короткая вспышка влетающего в земную атмосферу небесного тела, как трактуют современные словари, но, вообще, всякие воздушные явления: дождь, туман, бури и даже северное сияние и радуга. Отсюда и метеорология.

Не было почти ни одного ученого, который бы не обращался к этой науке в своих исследованиях. Благодаря метеорологии были накоплены первые знания об электричестве. Опираясь на знания, почерпнутые из наблюдений за воздушными явлениями, М. В. Ломоносов написал диссертацию "О вольном движении воздуха, в рудниках примеченном". Эти знания лежат в основе теоретических обоснований служения атмосферных явлений естественной вентиляции в промышленности.

Фламмарион, размышляя над смерчами, высказал в той же "Атмосфере" и такое предположение: "В настоящее время мы можем обозначить с точностью природу и характер его, говоря, что смерч есть столб воздуха, обыкновенно быстро вращающийся около самого себя и перемещающийся сравнительно медленно, так как можно следить за его перемещением. Причиною и двигательною силою этого вращающегося столба воздуха является, по-видимому, электричество". В этом осторожном "по-видимому"-- добросовестность исследователя, который воздержался от умозаключений до тех пор, пока сам не убедился в природе явления на опыте. Впоследствии были и иные суждения.

Вот сохранившиеся благодаря стараниям другого французского ученого Жана Пельтье описания Двух смерчей, наблюдавшихся к югу от Парижа днем 16 мая 1806г. Первый -- начался около часа и имел не менее 4 м ширины у основания близ облака. Вершина этого конуса, доходящая до уровня земли, пульсировала, то увеличиваясь, то, по мере вытягивания в сторону, сужаясь до толщины руки. Этот смерч чрезвычайно медленно продвигался к югу, затем к западу и юго-западу и показался над последними домами предместья Сен-Жак, а затем над долиной Монружа, Монсури и Глясьер. Он был серовато-белого цвета обыкновенных облаков и отчетливо выделялся на фоне темных туч. Он представлял собой длинную полупрозрачную трубу, в которой были видны поднимающиеся пары.

Наблюдавший это явление профессор Дебрен сравнил их движение с потоками дыма, движущегося в стеклянной печной трубе. Особенно поразило профессора, что пары поднимались наиболее интенсивно в нижней части смерча на расстоянии приблизительно 1 км от земли. По мере того как облако, составлявшее верхушку смерча, продвигалось, сам смерч изгибался и вытягивался, в какой-то момент достигнув длины 3 км. Потом он наклонился так, что его угол составил 20°. Тогда его хвост оказался над Аркюэлем, а голова -- над Шатильоном. Все явление наблюдалось в течение 45 мин, после чего смерч исчез в облаке, давшем ему начало. Однако через 20 мин образовался новый смерч. Он имел сероватый цвет, и по всей его длине наблюдалась светлая трубка, по которой поднимались пары. Этот смерч прошел на расстоянии 1600--2000 шагов от первого и просуществовал 25 мин. Раздался сильный гром, из облака, находившегося поблизости от смерчей, упали крупные капли дождя и тут же, вслед за ними, градины величиной с орех. Верующие люди, наблюдавшие это явление, восприняли появление смерчей как знамение божье.

Смерчи наблюдались много раз. Некоторые из них приносили и материальный ущерб. Особенно драматические последствия вызвал смерч в Монвиле 19 августа 1845 г. Был тихий и очень жаркий день. Вдруг вихрь страшной силы обрушился на долину, проходящую от Мароммы до Малонэ и Клера. Жертвой смерча оказались корпуса бумагопрядильной фабрики Монвиля. Они были скручены и опрокинуты, как карточные домики. Сотни работниц были погребены под развалинами.

В 1927 г. смерч появился над озером близ Серпухова. Как гигантский насос, он вобрал в себя воду вместе с рыбой и выбросил все это за городом. В 1940 г. смерч преподнес подарок жителям села Мещеры Горьковской области -- колотые дрова и старые монеты.

Долго не забудет средняя Россия огромной силы смерч, пронесшийся над Ивановской областью. Это произошло 9 мая 1984 г. Смерч шел со скоростью 100 м/с с нагрузкой около 8 т/м 2. В деревне Беляницы, расположенной в 6 км от Иванова, были разрушены здания, с корнями вырваны вековые деревья. Погибло 1,5 тыс. га леса.

По сведениям, распространенным агентством "Ю. Сэньюс энд Уорлд рипорт" из Вашингтона, смерчи, именуемые в тех местах торнадо, иногда достигают скорости 130 м/с. Наиболее часто они возникают в Техасе, Оклахоме, Канзасе. В одном только апреле 1984 г. было зарегистрировано около 450 торнадо, что более чем в 2 раза превышает обычное их число в это время года. Они стали причиной гибели по меньшей мере 106 человек. В среднем над территорией страны проносится ежегодно около 700 смерчей. В 1983 г. их было 931. По мнению некоторых исследователей атмосферных явлений, за последние 30--40 лет торнадо зарождались с десятилетними циклами. На 1984 г. пришелся пик очередного такого цикла.

То же агентство сообщило: "Хотя почти невозможно предсказать, где и когда зародится следующий смерч за последнее десятилетие учеными немало сделано в этом направлении. Так, недавно был создан специальный радар, позволяющий зарегистрировать изменения в скорости и направлении ветра, которые могут привести к торнадо". И все же до последнего времени из-за неожиданного появления смерча принять действенные меры для спасения жизни людей невозможно. По этой же причине не собраны достаточно убедительные данные об основных параметрах смерчей.

Возникновение торнадо связано с грозами, во время которых развиваются мощные кучевые облака, охватывающие небольшую территорию-. При этом, как утверждает английский метеоролог Дж. Вайсберг, начинают действовать два слоя воздуха, сильно различающиеся по температуре, влагосодержанию, плотности и характеру ветра. В результате нарушается равновесие этих слоев. Холодный воздух начинает опускаться, вытесняя теплый, а теплый поднимается по сложной криволинейной траектории. При этом возникает восходящий вихрь. Сначала все это происходит над небольшой площадью земли, затем к вихрю подсасываются граничащие с ним слои воздуха и вовлекаются в восходящее движение, достигающее вершины вихря. В диаметре торнадо достигает 400м и может пройти путь до нескольких десятков километров. 26 мая 1917 г. торнадо, пройдя 469 км над штатами Иллинойс и Индиана, произвел там сильные разрушения. Он существовал 7 ч 20 мин и двигался со скоростью курьерского поезда. Другой торнадо в 1931 г. в штате Миннесота поднял в воздух железнодорожный вагон с 117 пассажирами, перенес его на 24 м и без повреждений опустил в кювет. Никто из пассажиров не пострадал.

Как и все циклонические явления, связанные с вращением наружных слоев воздуха, торнадо в середине имеет "глаз", в котором образуется вакуум.

А теперь попробуйте представить себе работу искусственно образованных смерчей и торнадо средней мощности. Не нужно было бы строить дымовых труб. Созданный над выбросным патрубком дымососа смерч поднимал бы вверх на тысячи метров описанную Фламмарионом полупрозрачную трубку, по которой с огромной скоростью потянулся бы дым. Смерч диаметром чуть побольше можно применить для вентиляции открытых карьеров. А на участках, где производятся сварочные работы, такие смерчи или торнадо просто необходимы. Они бы мгновенно избавляли сварщиков от угарного газа, аэрозолей марганца и других вредностей.

ПРИРУЧЕНИЕ СМЕРЧА

С давних пор инженеры начали приручать циклонические явления. Тот же Жозеф Ранк, когда исследовал лабораторную модель циклона, нашел в ней все те же качества, что и в одноименных природных явлениях: снижение давления и температуры в центре, повышение на периферии.

А вот что писал В. Майер: "Смерч -- одно из самых грандиозных и загадочных явлений природы. Энергия его настолько велика, что почти никто и ничто не может выдержать схватку со смерчем. Каким образом смерч переносит тяжелые предметы порой на весьма значительные расстояния? Как он образуется? На эти и многие другие вопросы современная наука не в состоянии дать исчерпывающих ответов". Далее предлагается самим читателям сделать водяную модель смерча в стакане воды, на дне которого установлен микроэлектродвигатель, используемый в детских игрушках. Нужно только облепить его снаружи пластилином, чтобы в него не попала вода, а на валик надеть латунный диск. Провода от двигателя выводятся наружу к батарейке от карманного фонаря. Остается налить на воду слой подсолнечного масла и включить ток. Диск начнет вращаться и увлечет за собой жидкость. Через некоторое время в ней образуется воронка -- смерч в стакане воды...

В океане также возникают вихри, подобные атмосферным циклонам, антициклонам и даже торнадо. Это колоссальные массы воды диаметром в десятки и даже сотни километров. Природа возникновения этих вихрей тоже пока не выяснена. Но интересно, что к югу от Гольфстрима водяные вихри вращаются по часовой стрелке, а к северу -- против часовой стрелки. Торнадо же и другие атмосферные циклонические системы, возникающие в северном полушарии, вращаются против часовой стрелки, а в южном -- по часовой. Громадные ветро- и гидроэлектростанции можно установить, если "приручить" вращающиеся потоки воздуха и воды. Но все это только после того, как будут полностью раскрыты секреты природы. А что можно сделать уже сейчас? Ведь не можем же мы сидеть сложа руки.

В 1945 г. немецкий физик Р. Хилш занялся исследованиями, начатыми Ж. Ранком. Он обнаружил, что если в цилиндрическую камеру по касательной через сопло подавать сжатый воздух, то в центре трубы возникнет вихревой поток, в который по оси будет подсасываться воздух из окружающей атмосферы. На этом принципе был создан эжектор, способный отсасывать вредные газы. Впоследствии исследователь продолжил свои опыты. Постепенно, перекрывая подсос по оси, он достиг того, что с периферии вихревой трубки пошел горячий, а из центра -- холодный воздух. Несмотря на то что коэффициент полезного действия холодильника, работающего на этом принципе, значительно ниже обычного, в некоторых отраслях техники он нашел применение,

В жаркие летние дни даже в нашем умеренном климате в пыли проселочных дорог возникают небольшие вихри. Их даже можно смоделировать, если закопать в канавку кусок резинового шланга, конец его направить вверх, вокруг него поставить несколько дощечек так, чтобы образовалась завихривающая крыльчатка. К свободному концу шланга подключается расходный патрубок вентилятора от автомобиля -- и прибор готов. Как только заработает мотор, из шланга вырвется струя воздуха и увлечет за собой лежащую на дороге нагретую пыль. Проходя в зазорах между дощечками, пыль войдет в поток по касательной и образует настоящий маленький смерч.

Известный изобретатель Д. М. Левчук рассказывал, как однажды наблюдал такой небольшой природный вихрь, который подхватил на дороге палку, поставил ее вертикально и, медленно покачивая, понес вдоль дороги. На пути нижний конец палки описал спираль и попал в отверстие ступицы лежавшего на дороге тележного колеса. Теперь на этом принципе работает ряд сконструированных Д. М. Левчуком механизмов по сборке различных узлов, состоящих из детали с отверстием, в которое нужно установить стержень.

Можно не только ориентировать стержень на отверстие с помощью вихревой трубки, но и ввернуть в гайку шпильку. Крутящий момент для этого вполне достаточен. На этом же принципе работает вихревой автомат для сборки деталей производительностью 3600 шт. в час.

В последние годы в цементной промышленности получил распространение сухой способ производства, при котором сырье подается в печь не в виде шлама, а порошковое. Вообще-то, сухой способ был известен давно, но широко применять его в цементной промышленности не решались. Боялись, что горячие газы вынесут значительную часть порошка в атмосферу. Нужна была такая конструкция, которая позволила бы нагревать сырье во взвешенном состоянии. И тут вспомнили все тот же вихревой эффект. Сотрудники института ВНИИцеммаш предложили конструкцию печи (о ней говорилось в главе "Сколько стоит мешок дыма"). Там же были указаны и некоторые недостатки сухого способа получения цемента. Вот еще один из них: при тепловой обработке сухого порошкообразного сырья значительная часть его вылетала в дымовую трубу.

Кроме того, при работе циклонов на плохо подсушенной сырьевой муке в их конусной части образуется зависание пыли. Зачастую для устранения таких сводов приходится обстукивать нижнюю часть циклонов кувалдой. Отсюда вмятины, а то и пробоины, которые еще более ухудшают работу системы обеспыливания. На некоторых заводах, чтобы предотвратить забивание конусов, по центру циклонов подвешивают тяжелую цепь, которая, вращаясь потоком воздуха, обстукивает горловину конусной части и сбивает с нее настыли. В металлургии применяли вибраторы и периодически включаемые пневматические молотки. Однако все эти приемы не намного отличаются от обстукивания кувалдой или шуровки пылевыпускного отверстия ломом.

Так что считать этот вопрос решенным рано. Любая временная мера остается временной. Однажды я решил попытаться заменить лом воздушной струей. Вообще-то, сжатым воздухом разбивать своды уже пробовали, но в данном случае задача была посложнее -- нужно было отвести от основного потока только небольшую его часть и направить в конус циклона.

Сначала мысль показалась чуть ли не абсурдной: то, что удавалось при отборе проб пыли из газохода, размеры которого не превышали 1 м, вряд ли могло пригодиться в многометровом циклоне, применяемом в качестве конечного теплообменника в цементном производстве. Чтобы не промахнуться, решили строить прозрачную модель. Для начала из оргстекла построили двухметровую модель обычного циклона и испытали ее на сырьевой муке. При производительности 2300 м3/ч и сопротивлении 90мм вод. ст. коэффициент полезного действия установки составил 88%. Через полчаса работы в конусной части циклона уже начал образовываться свод. Коэффициент полезного действия стал падать. Вторую часть опыта проводили уже с установленным по оси циклона трубопроводом, ответвленным из входного патрубка. Вот тут-то и произошло чудо! Одна часть запыленного потока стала описывать характерную для циклонного процесса траекторию, а другая -- как в описанном ранее пробоотборнике -- пронзила пылевой поток и образовала интенсивный отбор пыли из вихря в бункер. Перепад давления между входным патрубком и конусной частью циклона был настолько велик, что через центральную трубу сверху вниз пылевой поток буквально бомбардировал воронку, соединяющую циклон с бункером. Мы нарочно пытались образовать свод и подавали в циклон пыль небывало большими дозами, но эффект осевой струи был сильнее. Свод не образовывался ни при каких обстоятельствах. Мало того, при всех прежних данных производительность циклона возросла до 2800 м3/ч, сопротивление снизилось до 78 мм вод. ст., а коэффициент полезного действия повысился до 93%. Стоимость реконструкции грошовая -- кусок изогнутой трубы и четыре прутковые расчалки, чтобы устье трубы было направлено точно на воронку.

Сейчас уже испытаны почти все возможные варианты взаимодействия центральной трубы с циклоном. Эффект -- неизменно положительный. В некоторых случаях такая реконструкция позволит заменить вторую ступень очистки -- скруббер, или рукавный фильтр.

ЧЕТЫРЕХУГОЛЬНЫЙ ЦИКЛОН

Долгие годы на улицах оседали зола и пыль, вырывавшиеся из труб котельной столичного завода "Галалит", пока в один прекрасный день не исчезли благодаря золоуловителю системы Ярина. Среди многочисленных конструкций фильтров циклон, созданный Яриным, пожалуй, самый простой (рис. 4). Он работает на естественной тяге, создаваемой трубой. Такую установку можно сделать в любой механической мастерской с минимальными затратами труда и средств.

Заслонка в трубе направляет дым через отводящий патрубок в золоуловитель. Здесь он попадает в своеобразный лабиринт, образованный тремя конусами, соединенными между собой сваркой. Совершая спиральные витки, газ движется вверх к выхлопной трубе. Твердые частицы пыли, удельный вес которых больше, чем у газа, под действием центробежной силы ударяются о стенки лабиринта и падают в бункер. Очищенный же от золы газ беспрепятственно возвращается в трубу.

Эффективность пылеулавливания новым циклоном выше 90%. Это позволяет ему иногда конкурировать с дорогими установками. Эксплуатация золоуловителя Ярина настолько проста, что запуск его не потребовал ни одной дополнительной штатной единицы.

Рис. 4. Квадратный циклон:

1 -- корпус; 2 -- входной патрубок;

3 -- выходной патрубок; 4 -- ось

спирали; 5 -- спираль; 6 -- затвор

"МАТРЕШКА" ЛОВИТ ПЫЛЬ

Много лет тому назад загорский токарь Звездочкин выточил первую матрешку. Милая-веселая игрушка быстро завоевала мир. Свой многоступенчатый циклон изобретатели назвали "матрешкой". Почему? Сейчас я постараюсь это объяснить.

Циклон -- аппарат известный. Полый цилиндр с конусным днищем и тангенциальным вводом -- самое простое и надежное устройство для очистки запыленного газа.

Чем же он хорош?

Рукавный фильтр, колонна, заполненная кольцами Рашига, кассеты с электростатической тканью -- все это очень эффективные устройства, но стоит их привести в действие, как сопротивление проходу воздуха начинает расти. Если своевременно их не прочистить, они быстро забиваются пылью. Имеют недостатки и другие устройства -- промывные оросительные камеры, ультразвуковые коагуляторы, электрофильтры, барботажные аппараты и инерционные пылеуловители. Они эффективны лишь при одном заданном режиме. Предельная скорость газа для этих устройств-- 1,5--2 м/с.

Прямо скажем, скорость не современная. Ну а старый, добрый циклон в этом отношении молодец. Прежде всего, сколько бы он ни работал, сопротивление его остается неизменным. Пыль в нем ведь не задерживается. И как бы ни увеличивали скорость входа запыленного газа в циклон, эффективность его не снизится.

Правда, есть и в классическом циклоне своя ахиллесова пята. Та самая центробежная сила, которая так полезна для выделения пылинок из потока, вредно влияет на окончательный выход пылинок из циклона. Дело в том, что воздух тоже имеет свою массу, и при вращении в циклоне частицы воздуха, как и пылинки, стремятся к стенкам. В центре циклона возникает разреженное пространство. Оно располагается по вертикальной оси циклона от трубы для входа очищенного воздуха до пылевыпускного отверстия. Вот это разрежение и есть ахиллесова пята. Оно захватывает часть пыли, выходящей из нижнего отверстия. Образуется нечто подобное смерчу в пустыне, и от 5 до 50% пыли выносится не туда, куда нужно.

Снова и снова мысли изобретателей возвращаются к классическому, сухому, циклону. А что если?..

Напомним диалектику этого устройства: центробежная сила улавливает пыль, но она же и выносит уловленные частицы из пылеуловителя. Наша задача -- использовать ту же -центробежную силу для предотвращения выноса уловленных частиц. Добиться того, чтобы смерч работал против смерча. Так родилась идея многоступенчатого циклона-"матрешки". Его авторы взяли простой циклон и поместили внутрь его другой, столь же простой циклон, без всяких перегородок, с открытым нижним отверстием. Получилось как раз то, что нужно. Запыленный воздух во внешнем циклоне вращается обычным путем, потом входит через зазор между конусами внутреннего циклона в его полость и начинает кружиться там.

Внутри второго циклона можно поставить еще один или несколько циклонов, а движение воздуха останется прежним. Появится и разреженное пространство. Но это уже не страшно -- оно будет работать на нас. Разрежение, которое создавало смерч и выносило уловленную пыль из циклона, теперь вытягивает пыль из пылевыпускных отверстий внутренних циклонов. Такие многоступенчатые циклоны работают на пыли различных удельных весов, различных фракций и конфигураций.

Теперь можно смело строить циклон без скрупулезных расчетов его диаметра и высоты.

Скажем, нужна такая-то производительность. Берете циклон с одной вставкой. Поставили, включили. Ловит? Хорошо! Если из него вылетает пыль, ставьте внутрь еще точно такую же вставку -- места в трубе достаточно.

Хорошо бы наладить выпуск циклонов на одном из заводов вентиляционного оборудования. Тогда предприятия могли бы купить столько циклонов и вставок, сколько им потребуется. А пока приводим чертеж циклона-"матрешки" (рис. 5). Диаметр трубы циклона нужно принять в зависимости от производительности, все остальные размеры связаны с диаметром.

Из чего делать циклоны? Из чего угодно. Из кровельного железа, из оцинковки, из листовой полуторамиллиметровой стали, из винипласта.

Только одно условие: избегайте неровностей на внутренних стенках конусов, сварные швы и вмятины ухудшают эффект пылеулавливания. А вообще-то мы делали циклоны и со швами, все равно 99% пыли они вылавливают.

Сопротивление циклона можно определить, умножив скоростной напор на коэффициент сопротивления циклона. Этот коэффициент мы получили опытным путем, он равен: для циклона с одной вставкой -- 4,6, с двумя вставками -- 7,2. На каждую последующую вставку к этому коэффициенту нужно прибавлять 1,7.

"Матрешка" работает с одинаковыми показателями, если ее подключить к вентилятору, как на всасывании, так и на нагнетании. Если улавливаемая пыль не обладает абразивными свойствами, то лучше поставить ее на нагнетание. Это проще, бункер не потребует такой плотной герметизации. Если на вашем предприятии есть пылящие циклоны других известных конструкций, замерьте диаметр их внутренних труб и спроектируйте для них вставки, как у "матрешек".

Рис. 5. Многоступенчатый циклон-"матрешка":

1 -- корпус; 2 -- входной патрубок; 3 -- выходной патрубок; 4 -- внутренняя труба; 5 -- конусный корпус внутреннего циклона; б -- косые направляющие лопатки; 7 -- пылевыпускной патрубок

ВЕНТИЛЯТОР -- ТУРБОФИЛЬТР

В атмосфере текстильных предприятий, заводов искусственного волокна и меховых фабрик витают частицы тонкой волокнистой пыли. Пылинки сталкиваются и осаждаются хлопьями на станках и машинах, засоряют механизмы и вредят здоровью людей.

Казалось бы, чего проще: поставить вентилятор -- и пыли не будет. Ведь известно немало устройств, выделяющие из загрязненного воздуха силикатную пыль с помощью самой простой осадительной камеры, классического циклона или барботажного аппарата. Но для волокнистой пыли ни один из этих пылеуловителей не подходит.

Дело в том, что этой пыли свойственна так называемая парусность. Пушинка взлетает при самом незначительном движении воздуха. Центробежные силы, действующие на пушинку в циклоне, или силы тяжести в пылеосадочной камере оказываются меньше сил, увлекающих ее с потоком воздуха в выбросную трубу. И в воде пушинка не тонет, значит, барботажное улавливание для нее также не подходит.

С давних пор волокнистую пыль улавливают методом фильтрации, для чего существует немало различных фильтров. Их объединяет обязательная деталь -- фильтрующий слой. Это рукава из ворсистой ткани, зигзагообразно расположенные пластины из металлической сетки или пористой бумаги или круглые вращающиеся сетчатые барабаны. Недостатки таких устройств в том, что уловленная пыль собирается на фильтрах толстым слоем, и они вскоре становятся непроходимыми для воздуха.

Мастер Н. Чистов, инженер Б. Бельков и автор этих строк разработали новый пылеуловитель с применением центробежного эффекта. Пылеуловитель состоит из корпуса и турбины, напоминающей мельничное колесо. Основная деталь пылеуловителя -- турбина, отсюда и его название -- турбофильтр. Он сделан из оцинкованной стали.

Но для изготовления турбофильтра можно использовать обычный вентилятор. Лучше всего подходят старые вентиляторы низкого давления типа ВР или "Сирокко". Номер вентилятора выбирают в зависимости от требуемой производительности. Если количество воздуха, нуждающегося в очистке, не превышает 1 тыс. м3/ч, то пригоден No 3; 2 тыс. м3/ч -- No 4 и т. д.

Когда вы найдете подходящий вентилятор, приступайте к переделке его в турбофильтр. Основная деталь турбофильтра -- сетка. Лучше всего взять сетку из нержавеющей стали с ячейками 0,3x0,3 мм. Вырежьте из нее полоску на 800 мм шире, чем рабочее колесо вентилятора, и по длине равную его окружности. Обтяните сеткой рабочее колесо и спаяйте ее концы. Оставшиеся края заверните на диски колеса, прижмите их кольцами и закрепите винтами. Теперь остается приварить к рабочему колесу уплотнительный патрубок -- и турбина готова.

Переделать улитку вентилятора в корпус турбофильтра еще проще. Вырежьте рядом с выбросным патрубком улитки прямоугольное отверстие и вварите в него воронку, а между фланцем всасывающего патрубка улитки и ее стенкой проложите фетровое кольцо. Диаметр отверстия в кольце не должен быть больше диаметра уплотнительного патрубка.

Снимите с вала вентилятора шкив и вместо него наденьте любой маховичок, который сможете найти. В крайнем случае его можно сделать самим, согнув в кольцо полудюймовую газовую трубу. Поворачивая турбинку за маховик, проверьте, легко ли она вращается. Этот маховик еще пригодится для проворачивания турбинки при профилактических осмотрах фильтра. Теперь остается сделать стойку из уголка 75х75 -- и турбофильтр готов.

Вентилятор для подачи в турбофильтр запыленного воздуха лучше всего расположить где-нибудь поблизости, соединив его с входным патрубком диффузором. Номер подающего вентилятора должен быть, конечно, меньше того, из которого сделан турбофильтр. Подберите его по "Справочнику по вентиляторам" с учетом сопротивления сети воздуховодов и сопротивления турбофильтра. Коэффициент сопротивления турбофильтра, отнесенный к скорости воздуха на входе, равен 2-2,5.

После того как турбофильтр будет установлен и соединен с вентилятором, нужно надеть на его воронку мешок и включить подающий вентилятор. Только не забудьте как следует закрепить мешок на воронке, а то его сорвет потоком воздуха.

. Воздух, входя в корпус турбофильтра по касательной, проходит сквозь сетку и ударяет в плоскости лопастей. Турбина под действием его напора начинает вращаться, а частицы взвешенной пыли задерживаются на сетке. В отличие от сетчатых пылеуловителей других конструкций большого слоя пыли на сетке турбофильтра не собирается. Благодаря центробежной силе она тут же слетает с сетки и попадает в мешок. А очищенный воздух через патрубок выходит наружу. Его можно увлажнить в оросительной камере и опять подать в цех.

РОЖДЕННЫЕ ВИХРЕМ

Вихревые пылеуловители были изобретены сравнительно недавно. Первые публикации о них относятся к 60-м годам нашего века. На первый взгляд эти аппараты мало отличаются от циклонов с водяной пленкой и центробежных скрубберов ВТИ: завихривающая газ насадка на входном патрубке, конический бункер с пылевыпускным штуцером и выходная труба вверху. Разница лишь в том, что в циклонах с водяной пленкой и центробежных скрубберах ВТИ пыль, отброшенная к стенкам вниз, смывается водой, а в вихревых пылеуловителях -- воздухом. Наиболее простой вихревой пылеуловитель -- соплового типа. Поток загрязненного газа входит в его корпус через патрубок, закручивается в лопаточном завихрителе и устремляется вверх. Навстречу ему из сопл поступает вторичный воздух. Частицы пыли из газа, поступающего снизу, отбрасываются к стенкам, откуда сдуваются вторичным воздухом вниз, в зазор между входным патрубком и внутренними стенками корпуса. Далее пыль высыпается через штуцер в транспортер. Недостаток этого вихревого пылеуловителя состоит в том, что в его бункере, ниже патрубка, образуется избыточное давление и, следовательно, перетекание наиболее тонкой пыли в восходящий поток воздуха.

Вихревой пылеуловитель (авторское свидетельство No 956027), изобретенный сотрудником Научно-исследовательского и проектного института по газоочистным сооружениям, технике безопасности и охране труда в промышленности строительных материалов А. Б. Лапшиным, от описанного ранее отличается тем, что входной патрубок для запыленного газа у него выполнен в виде улитки с осевым отверстием, через которое избыток давления из бункера эжектируется выходящим вихрем. Вторым отличием изобретения признано то, что поток вторичного воздуха (газа) подается на закрутку не через сопла, а, как в обычном циклоне, через тангенциально установленный патрубок. Вторичный газ, поступая в вихревой пылеуловитель, создает и кольцевую воздушную завесу, которая частично перекрывает выходной патрубок, установленный по центру корпуса. Чем надежней это перекрытие, тем выше степень очистки в вихревом пылеуловителе.

Для вихревых пылеуловителей небольшого диаметра подачи вторичного воздуха (газа) с периферии корпуса достаточно, но, когда вихревой пылеуловитель имеет большой диаметр, боковые струи воздушной завесы быстро затухают, и в центре корпуса образуется как бы "глаз торнадо" -- зона низкого давления, в которую засасывается мелкодисперсная пыль.

Сотрудники Гипроникеля М. О. Райнус и А. И. Баранчеев предложили вихревой пылеуловитель (авторское свидетельство No 957974), в котором с целью предотвращения вторичного уноса дополнительно к боковым соплам установлен и центральный участок газохода, создающий завесу путем дутья на вершину специально подвешенного конуса. Воздушный поток в данном случае образует полное перекрытие восходящему потоку очищенного газа.

Однако и эта конструкция не лишена недостатков. Большой расход вторичного, неорганизованного воздуха удорожает эксплуатацию пылеуловителя. Кроме того, устранить присос неорганизованного воздуха в систему пылеулавливания предписывают инструкции.

Как же "организовать" этого "неорганизованного" нарушителя? Прежде всего получше приглядеться к его поведению. Как мы уже знаем, во время проведения исследований на прозрачной модели случайно было замечено, что неорганизованный присос наружного воздуха через отверстие в газоходе вызвал налипание пыли на его противоположной стенке. Выходит, даже небольшая воздушная струйка способна отклонить поток пыли. А если отверстия сделать по всей окружности корпуса пылеуловителя?

На Лиепайском заводе сельскохозяйственного машиностроения был впервые поставлен эксперимент по умышленному присосу воздуха в корпус пылеуловителя. Модель циклона с кольцевой щелью вокруг входного патрубка для запыленного потока была подключена к источнику особо тонкой пыли. Сначала мы перекрыли кольцевую щель полностью и циклон работал, как обычно, пропуская наиболее тонкие фракции на выброс, но, как только щель открыли, пылевой поток словно отрезало. Воздушная струя создала своеобразный фильтр, отбивший даже самые мельчайшие пылинки к стенке. Новый вихревой пылеуловитель сделали с расчетом на большой расход газа. В отличие от ранее описанного, загрязненный газ подавали в него не снизу, а сверху. На конце входного патрубка укрепили завихривающую насадку с изогнутыми лопастями, а на окружности корпуса расположили кольцевую щель. Запыленный поток на выходе делился на две части. Одна сразу опускалась в бункер, там из нее выделялась крупная пыль, другая выходила через изогнутые лопасти и создавала вихревой поток с воздушно-пылевым поясом, препятствующим выходу из бункера уже уловленных фракций. Самые же тонкие фракций пыли улавливались верхней завесой вторичного воздуха, ставшего таким образом "организованным".

ВЫСОКОВОЛЬТНАЯ СЕТКА ПОМОГАЕТ ВИХРЮ

На заводах цементной промышленности для очистки воздуха до сих пор использовались циклонные пылеуловители. Популярность их объясняется простотой конструкции и дешевизной. В самом деле, если стоимость электрофильтра доходит до 250--300 тыс. руб., то циклонный пылеуловитель в несколько раз дешевле.

Но беда в том, что очистка в нем не всегда составляет даже 80%. Оставшиеся 20% пыли вылетают в трубу. При современных масштабах производства это чересчур много, и потому в ближайшее время намечено заменить все циклонные агрегаты электрофильтрами. Предстоят многомиллионные затраты. Как это часто бывает, помощь пришла из другой отрасли промышленности.

Харьковские изобретатели В. С. Гурьев, В. И. Соловьев и В. А. Успенский из института ВНИПИчермет-энергоочистка предложили простое и дешевое решение, избавляющее народное хозяйство от этих расходов. Чтобы разъяснить суть изобретения, напомним: основной недостаток циклонного пылеуловителя заключается в незначительной центробежной силе, действующей на пылинки, которые попадают в центральную часть аппарата и крутятся близ его оси. В результате две, а то и три пылинки из десяти выносятся вместе с очищенным потоком воздуха наружу и не улавливаются.

Для повышения коэффициента полезного действия аппарата металлурги установили в нижней части его рабочей полости коронирующий электрод в виде сетки с остриями, а в верхней части симметрично оси -- электростатическую сетку. Так что теперь газ после закрутки в лопаточном завихрителе проходит сквозь сетчатый электрод, где частички пыли заряжаются электричеством одного знака, после чего залетают в рабочую полость аппарата. Если пылинка волею законов аэродинамики попала в центральную зону, то при своем дальнейшем движении вверх она неминуемо приблизится к электростатической сетке, вытянутой вниз, как сачок для ловли бабочек. Поскольку сетка заряжена одноименным электрическим зарядом, то пылинка от нее оттолкнется к периферии аппарата, а затем под действием электростатических и центробежных сил будет брошена на его стенку. Потоки вторичного газа, подаваемого через стоящие наискосок тангенциальные сопла, непрерывно сдувают в бункер густо пропыленные пристеночные слои. Осевшая в бункере пыль затем удаляется через отводящий патрубок.

Испытания, проведенные на моделях, позволяют ожидать коэффициент полезного действия пылеулавливания 98%--не хуже, чем у электрофильтров. То есть вынос пыли в атмосферу снижается в несколько раз, причем достигается это буквально грошовыми средствами. В существующие агрегаты лишь нужно встроить коронирующие электроды и электростатические сетки и подвести к ним напряжение.

На комбинированные электромеханические фильтры во всех странах выдано множество патентов, но ни одна конструкция до сих пор не показала результатов, которые были получены на опытных установках харьковчанами.

УЛИТКА ПИЛИТ КАМЕНЬ

Пилить бетонные плиты алмазными дисками научились давно, вот только от пыли избавиться никак не могли. Что за работа, когда после каждого реза и рабочие, и все вокруг покрываются серой пылью. Да и на дыхательные пути такая пыль действует пагубно.

Не проще дело обстоит и с пилением ракушечника, известняка, инкерманского камня и других строительных материалов, которые мать-природа предоставила нам в готовом виде. Бери, пили на кирпичики или блоки, возводи дворцы на многие лета, но... большая запыленность возле машины портит все дело. Конечно, можно пилить камень и по мокрому способу, пыли при этом будет значительно меньше, но вот что пишут И. Демченко и Ф. Спиваков в книге "Повышение эффективности и безопасности подземной разработки пильных известняков", изданной в Кишиневе в 1982 г.: "Исследования взаимосвязи между влажностью и прочностью показали, что основное снижение прочности, примерно на 22--25%, происходит в интервале влажности от 0 до 6%. Министерство промышленности строительных материалов Молдавской ССР все же провело серию опытов по пылеподавлению на рабочем месте у камнерезной машины. Очаги пылеобразования и призабойное пространство обильно орошались водой, различными растворами поверхностно-активных веществ, активной пеной, но положительного эффекта так и не получили. Вопрос обеспыливания добычи камня остается открытым".

Месторождения, расположенные на территории Молдавии, обладают запасами пильных известняков в объеме 500 млн. м 3. Разработки же ведутся в шахтах, охватывающих менее чем половину этого огромного массива, хотя потребность в красивом и прочном местном камне далеко не удовлетворена.

Мне довелось побывать в одной из таких шахт, расположенных под Кишиневом. В яркий солнечный день мы на видавшем виды "уазике" въехали в узкий тоннель, уходящий в сумрачную глубину. Под кровлей тускло светили запыленные лампочки. Но наш шофер, проделывающий этот путь чуть ли не ежедневно, уверенно гнал машину вперед. Стали появляться боковые ответвления от основного ствола и использованные выработки.

Вскоре послышался мерный шум, издаваемый камнерезной машиной. Я приготовил к съемке аппарат, но его тут же пришлось спрятать в футляр. Пыль сплошным серым облаком закрывала забой. Надев каску и респиратор, подошел поближе. Алмазный диск вращался сравнительно медленно, но шлейф известняковой крошки отбрасывался из-под него так сильно, что, попадая на руку, причинял весьма ощутимую боль. Машинист объяснил, что эти крупные частицы диаметром 1 мм и более, называемые штыбом, составляют большую часть отходов известняка, но самая вредная часть отходов -- это мелочь. Она витает в воздухе даже после остановки машины. Эта тончайшая пыль проникает повсюду, мешая дышать рабочим, находящимся в карьере.

Ознакомившись с результатами исследований состояния воздушной среды на рабочем месте машиниста, я был поражен устойчивым пылесодержанием на всем призабойном участке. Каждый зуб дисковой пилы как бы откалывает частицы камня, образуя при этом микровзрывчики аэрозоля, из которого и состоит в основном серое марево, заполняющее рабочее место. Незадолго до моего приезда в карьер была завезена опытная установка, состоящая из вентилятора и рукавного фильтра. По размерам она значительно превосходила саму камнерезную машину, но справиться с пылевым факелом она так и не смогла. В короткое время забились воздуховоды, рукава и пылеприемники. Пыль, которая так плохо оседает на пол забоя в почти неподвижной атмосфере, почему-то липнет на детали пылеуловителя, образуя в нем непреодолимые заторы даже при скорости пылевоздушного потока, достигающей 20 м/с.

Значит, нужно перешагнуть этот порог или, наоборот, придать диску более медленное вращение... Однако при повышении скорости всасывания пыли резко увеличивается сопротивление пылеуловителя, а при снижении скорости вращения диска снижается производительность добычи камня. Конструктор должен суметь пройти по канату, балансируя между этих двух зол. А что если с самого начала была допущена логическая ошибка. Конструировать нужно было не пылеуловитель к камнерезной машине, а, наоборот, изобретать машину для получения пыли. При этом главным становится орган добычи и транспортирования, вспомогательным -- осадитель пыли, а отходы "пылепроизводства" -- каменные блоки. Удалять их из шахты не представляет трудности, поэтому все усилия сосредоточены на первой части задачи: добывании пыли. Наиболее удобна для транспортирования и осаждения монодисперсная пыль, состоядцая из равновеликих частиц. Добыть такую пыль можно при резании камня дисками, режущая кромка которых не имеет крупных зубьев. Но тогда возникает другая трудность -- как быть с производительностью? Выход один -- повышать частоту вращения диска. Измельченные частицы камня при этом увлекаются поверхностью диска, и он начинает работать, как вентилятор. Пылевоздушный поток отбрасывается по спирали, а не летит по касательной, как от пыли.

Рассматривая диск, вращающийся в запыленном воздухе, можно увидеть криволинейные потоки, направленные от центра к периферии. Выходит, диск может сам себя вентилировать? А если поднести к вращающемуся диску стеклянный экран и губной помадой прочертить по стеклу кривую, соответствующую пылевому потоку, можно считать, что половина дела уже сделана. Остается по заданной кривой изготовить несколько стальных лопастей, прикрепить их к ступице, надеть ее на вал диска и закрепить гайкой. Нужно только хорошо отбалансировать всю систему и проследить за тем, чтобы расстояние от лопастей до края диска было достаточным для того, чтобы диск мог пропиливать камень на нужную глубину.

В Москве совместно с конструктором Виктором Григорьевичем Молокановым мы приступили к конструированию пока что небольшой, но вполне работоспособной установки для резки плит. Диск решили закрыть кожухом, напоминающим улитку вентилятора, на одном валу с диском установили крыльчатку, а нагнетательный патрубок улитки ввели в корпус циклона сверху вниз. Первый же опыт показал, что все элементы установки работают. Вентилятор отсасывает воздух с пылью, циклон очищает его от пыли, которую "производит" диск, но... было одно несоответствие -- сопротивление циклона оказалось больше, чем напор вентилятора. Пришлось к тому же мотору подключить еще один вентилятор. Во второй улитке -- улитке циклона создалось разрежение, и система заработала. Сама делает пыль, сама транспортирует и улавливает в антициклоне, ну а "отходы производства" -- разрезанные алмазным диском плиты.

Пока что разработана легкая переносная машина, использовать которую можно непосредственно на строительной площадке, точно на таком же принципе можно сделать труборез, станок для разрезания мраморных плит, наждачный и шлифовальный станки.

Так что многое зависит от того, с какой стороны подойти к проблеме и что считать в ней главным. Если самым важным считать не сохранение здоровья людей, а перевыполнение плана по строительству больниц, то самое важное -- количество нарезанных известняковых плит, идущих на облицовку приемных покоев. Но если в основу любой разработки положить принцип сохранения здоровья людей, то начинать нужно с обеспыливания процесса.

ЦИКЛОН В ТРУБЕ

В патентной литературе все чаще встречаются сообщения о случаях приручения смерча. В авторском свидетельстве No 309211 описывается труба для удаления дыма от котлов ТЭЦ или печей предприятия, которую в принципе и трубой-то не назовешь. Современную дымовую трубу можно сравнить разве что с Никитинской телевизионной башней в Останкине. Уже закончен проект 320-метровой дымовой трубы, которую соорудят в Донбассе. Но стоимость труб-гигантов составляет миллионы рублей. На их сооружение идут высококачественные материалы. Есть трубы целиком из титана. Все это делается для того, чтобы повыше и подальше выбросить вредные газы. Авторы изобретения решили приручить смерч и установить его над заводом! Поток дыма образует вихревую трубку и засосет в себя все вредные выбросы предприятия. Расчеты авторов показывают, что потребуется сравнительно немного энергии для того, чтобы добиться первоначального закручивания вихря. В дальнейшем же наступит равновесие, при котором дымовой вихрь вонзится в небо, как штопор, а холодный воздух, опускаясь сверху вниз, создаст прозрачную рубашку.

А вот описание конструкции, предложенной Д. Варданяном: обычный дымоход оканчивается полым конусом, который лишь немного возвышается над землей. Конус вращается электродвигателем. С внутренней стороны на его стенке -- спиральный канал и лопасти. При достаточно быстром вращении конуса спиральная канавка и лопасти соединенными усилиями заставляют дым закручиваться, и вихревой столб вонзается в атмосферу. "Труба без трубы" готова. Нечего и говорить, что ее стоимость не идет ни в какое сравнение со стоимостью труб-гигантов. Но и это не главное. Ротор, вращающийся от электродвигателя, создает центробежные перегрузки для самых мельчайших пылинок. Под их воздействием пыль отбрасывается на стенки конуса и сползает вниз, в пылесборник.

Подобные же вихревые трубы найдут свое место на особо загазованных перекрестках современных городов, на палубах судов, в глубоких рудодобывающих карьерах и на строительных площадках.

В ЛАБОРАТОРИЯХ ИССЛЕДОВАТЕЛЕЙ

АССОРТИ ИЗ РОТОРА И УЛИТКИ

Социальная значимость разработок, облегчающих людям жизнь, огромна. Сознание того, что внедрение нового устройства улучшит состояние воздушной среды на рабочих местах, придает изобретателям силы, дает вдохновение.

Рабочий день подходил к концу. В принципе все уже сформулировано. Нужен реактор для получения цемента. Не огромная вращающаяся печь длиной в сотни метров, а предельно простой и компактный аппарат, не имеющий ни одной подвижной части. Вообще-то, такие реакторы уже есть, например шахтные печи, в которые сырье поступает сверху, а горячие газы снизу. Поток газа мешает частицам сырья просто упасть и заставляет их плясать в шахте до тех пор, пока в них не произойдут нужные реакции. Однако такой аппарат может работать лишь при условии абсолютного равенства масс всех частиц сырья. Иначе более тяжелые частицы тут же, не пройдя "курса реакций", упадут на дно шахты, а те, которые чуть-чуть легче, вылетят вместе с газом в атмосферу. А поскольку абсолютное равенство частиц -- недостижимый идеал, от шахтного аппарата приходится отказаться.

Транспортер и печь -- вот два очень плохо уживающихся между собой аппарата. Для того чтобы передвигать материал вдоль длинной тоннельной печи, делают подвижные колосниковые решетки из тугоплавких сплавов, по цене близких к золоту, конструируют не боящиеся жары подшипники, изобретают жаропрочные системы уплотнений.

Но оставим на время будничные заботы конструктора цементного машиностроения.

После смерти Архимеда нашли рукопись об улиткообразных линиях, названных благодарными потомками спиралями Архимеда. Он построил насос, представляющий собой трубу со шнеком-винтом внутри. В Африке совсем недавно еще работали такие насосы.

Итак, приоритет изобретения машины, основным рабочим органом которой является спираль, приблизительно можно определить. Архимед погиб за 212 лет до нашей эры. Но были ли прототипы у Архимедовой спирали? Пожалуй, да. Еще в каменном веке умели скручивать волокна и ремни в прочные веревки, а ведь их жилы расположены именно в форме цилиндрической спирали. Бухта каната -- не что иное, как плоская спираль. Ткачество было известно задолго до рождения Архимеда, а ведь уточная нить на шпуле, нити основы на навой и готовое полотно наматываются именно в форме спиралей.

Кто же подсказал нашим предкам совершеннейшую из совершенных структур -- спиральную? Эти "подсказки" гуляли по Земле задолго до появления человека. Овцебык с его закрученными рогами и змея, которая любит укладываться в "бухту". Кстати, не потому ли ее считают мудрой? Ведь не исключено, что, именно наблюдая за змеей, человек научился вить канаты, делать лассо и с его помощью ловить животных.

Стоит посмотреть на излом белого известняка и можно увидеть массу спиралевидных раковин. Не осталось следа от множества видов животных, живших в последующие периоды, а моллюски, обладающие спиральными раковинами того самого типа, который в виде отпечатков сохранился в известковых отложениях, живут и по сей день.

Но вернемся к цементу.

Итак, перед конструкторами стояла задача -- и мелкие, и крупные частицы материала нужно заставить двигаться в одном направлении независимо от скорости потока газов. И тут у разработчика возникла мысль создать спираль, чтобы цементная сырьевая мука пошла спиральным тонким слоем, который горячий газ легко нагреет до нужной температуры. Если горячий газ вместе с сырьевой мукой впустить по касательной в реактор, имеющий цилиндрическую форму, он образует вихрь, в котором и крупные и мелкие частицы под действием центробежной силы отбросятся к стенкам реактора и завьются веревочкой.

А чтобы продлить время пребывания частиц во вращающемся потоке, решили сделать реактор по типу "конус в конусе". Спираль в спирали. Циклонный аппарат обрел новое качество -- время пребывания в нем материала удвоилось. Остальное -- дело техники. Проработали несколько эскизов, составили алгоритм, зарядили ЭВМ -- и вот точные данные на любой случай жизни. Огромные аппараты построены на заводе, установлены и уже дают цемент.

Несмотря на то что спирали Архимеда известны более двух тысяч лет, не каждый конструктор сразу сообразит, где и как они могут заменить другие устройства. Всякий раз это муки творчества. Вот пример: многие десятки лет специалисты по холодильной технике считали, что для производства холода как минимум необходим хладагент -- аммиак или фреон. Без промежуточной фазы -- теплоносителя -- можно лишь нагреть, допустим, воздух. Взять обычный вентилятор, кстати, тоже своеобразное ассорти из ротора и улитки (и то и другое -- производные от спирали Архимеда), затем от нагнетательного патрубка до всасывающего провести воздуховод и включить мотор. Воздух начнет циркулировать по замкнутому контуру и нагреется. Почти вся мощность, подведенная к электродвигателю, превратится в тепло. Ведь воздух испытывает сильное трение о лопасти ротора, улитку, трубу и сам о себя. Такой способ нагрева воздуха трением в роторе и улитке изобретен в нашей стране и вот уже несколько лет применяется в сушильных камерах и печах. Печи аэродинамического подогрева (ПАП) могут греть и сушить все, что угодно,-- от металлических деталей до валенок.

Итак, спирали могут нагреть воздух. Доктор технических наук заслуженный изобретатель РСФСР профессор М. Г. Дубинский изобрел вакуум-насос, основным рабочим органом которого была улитка с вихревой трубкой. Трубка заменяла вращающийся ротор, ранее применявшийся для подобных целей. В ту пору М. Г. Дубинский был рядовым инженером и проводил эксперименты, что называется, "от" и "до" (довод в пользу того, чтобы молодые специалисты не чурались черновой работы). Вакуум-насос у Дубинского получился замечательный: ни одной вращающейся детали, предельно компактный, производительный и эффективный.

Есть два отряда изобретателей: одни, добившись эффекта, охотно отдают свое детище в чужие руки, с радостью избавляясь от успевшей надоесть темы, и берутся за новые разработки. Другие и после достижения эффекта продолжают исследования. Это изобретатели-ученые. Им важно знать не только, как работает аппарат, но и почему! Приходилось ли вам наблюдать, как при сливе воды из ванны образуется воронка? Это прекрасная модель вихревого эффекта. У края ванны окружная скорость воды равна почти нулю, по мере приближения к центру она возрастает. Это видно по движению мыльной пены. Наконец, скорость воды в центре возрастает настолько, что давление воды начинает заметно падать. Ведь согласно уравнению Д. Бернулли чем выше скорость, тем меньше статическое давление в данной точке. Вот давление упало настолько, что в воде образовалась воронка. Значит, скорость возросла до максимума, а давление упало до минимума. Температура там тоже минимальная. Войдя в улитку, поток воздуха имел большой запас тепловой энергии, а затем по мере продвижения к центру он преобразовался в кинетическую энергию. В вихревом холодильнике температура минус 100--150°, а ведь в обычном холодильнике температуру ниже минус 80° получить невозможно.

Есть что-то завораживающее в вычерчивании спиральных линий. Конструктор, сумев один раз применить улитку в новом качестве, влюбляется в ее величество спираль на всю жизнь. Другое дело -- куда и как ее приспособить.

...Всю ночь кузнец Галеццо де Рубес склепывал между собой разрезанные кольца. Получилась длинная, как стружка от токарного станка, витая лента. Под утро он надел ее на вал и растянул вдоль него так, что получилась цилиндрическая спираль. Потом Галеццо обтянул ее сверху кожей и один конец этой хитрой трубы опустил в воду. "Получится или не получится? -- лихорадочно думал он.-- Вроде бы все предусмотрено". Галеццо принялся вращать трубу и... чудо! Переливаясь с витка на виток, вода пошла вверх; Вверх! "Прекрасно! Прекрасно!-- приговаривал Галеццо.-- Остался сущий пустяк! Воду нужно отправить в бак, из бака вода устремится вниз, будет крутить мельничное колесо". Кузнец как одержимый бегал с ведром и заполнял бак. Колесо вращало насос, который поднимал воду в бак, но... вода почему-то быстро иссякала. Галеццо доливал, но бесполезно.

В 1550 г. знаменитый итальянский механик Джероламо Кардано об этом писал: "И первое изобретение этого рода есть винт Архимеда, который Диодор Сицилийский дважды упоминает в древней истории, говоря, что Египет был осушен с помощью этого, изобретенного Архимедом винта... Однако Галеццо де Рубес, один из наших сограждан, обезумел от радости, полагая, что он явился первым изобретателем этого механизма, который был давно известен. Мы видели, как он привел в движение мельницу и вскоре потерял рассудок".

Изобретателю нельзя жить без здорового оптимизма. Если он не уверен в своей правоте, где ему взять силы на все новые и новые эксперименты. Однако горе, если оптимизм этот безграничен. Приняв какую-либо гипотезу за "рабочую", оптимист приступит к подбору фактов. Подтверждающие гипотезу приобщаются, а отрицающие-- отбрасываются. Вот случай, происшедший с одним крупным математиком. "Если,-- писал он в своей статье,-- выпускать из резервуара воду при помощи отверстия на дне его, то образуется (над отверстием) воронкообразный вихрь, который в северном полушарии вращается в сторону, обратную движению часовой стрелки; в южном полушарии вращение -- в обратную сторону. Каждый читатель сам может проверить справедливость сказанного, выпуская воду из ванны. Чтобы лучше заметить направление вращения вихревой воронки, можно бросить на нее маленькие обрывки бумаги. Получается эффектный опыт, доказывающий вращение Земли, произведенный самыми простыми средствами в домашней обстановке". Далее ученый переходит к практическим выводам и предлагает в соответствии со своими наблюдениями изменить конструкцию гидротурбин в зависимости от того, в каком полушарии они установлены.

И что же? Читатели откликнулись. Сотни ванновладельцев стали изучать направление движения потоков сливающихся жидкостей. Результат: одна половина добровольных исследователей отметила, что поток завихряется влево, а другая половина -- вправо. Оказывается, все дело не в том, в каком полушарии проводится опыт, а в том, имеются или нет заусенцы в сливном отверстии. Они-то и являются направляющими для потока. И никакую теорию тут не применить. Хотя, как сказал мне однажды инженер-наладчик Дмитрий Иванович Черепанов, "находясь в ванне, наблюдай!". Используя принцип ванной воронки, он придумал центробежный сепаратор пароводяной смеси. Проходя через несколько установленных ярусом улиток, смесь расслаивается. Вода как более тяжелая отбрасывается к стенкам, а пар пузырьками всплывает. Остается только сухой пар пустить в дело, а воду слить обратно в котел. Такие сепараторы хороши и в качестве конденсатоотводчиков, осушителей, конденсаторов жидкости, в качестве деаэраторов, необходимых для удаления из воды вредно влияющих на металл котлов кислорода и углекислого газа.

СУХОЙ ИЛИ МОКРЫЙ ?

Так сложилось, что при очистке газа от пыли одновременно загрязняется вода. А ее-то очищать значительно труднее и дороже, ибо вода химически взаимодействует с пылью, растворяет в себе примеси хрома, мышьяка, серы, фосфора и других токсических веществ. Ничтожная их концентрация губительно действует на все живое. Общий расход воды за год на "мокрую" газоочистку, для одной мартеновской печи доходит до 1,5 млн. м3.

Почему же газы часто предпочитают очищать в мокрых пылеуловителях, а не в уже известных циклонах и электрофильтрах?

Циклон не улавливает пыль размером меньше 5 мкм. А пыль, выбрасываемая с газами из сталеплавильных конвертеров и мартеновских печей, на 90% состоит из частиц, размеры которых значительно меньше.

Что касается электрофильтров, то для их успешной работы скорость газов, проходящих через электроды, не должна превышать 1 м/с. А ведь мартеновская печь "выдыхает" около 300--400 тыс. м 3 газа в час. Поэтому площадь рабочего сечения электрофильтров должна составлять около 100 м2. Прямо-таки "цех" рядом с цехом...

Дымовые газы мартеновских печей и конвертеров имеют температуру 1500--1700°. Чтобы использовать уходящее с ними тепло, перед газоочисткой имеет смысл поставить котел-утилизатор, вырабатывающий пар.

Однако высокая запыленность газов неизбежно приведет к забиванию труб пылью. Из-за этого паропроизводительность котлов снизится примерно вдвое. Пыль очень прочно сцепляется с поверхностью труб, очистить ее очень трудно.

В среднем котел, стоящий за современной мартеновской печью, за год может дополнительно выработать свыше 70 тыс. т пара. А это производительность хорошей заводской котельной.

Остается устранить пыль. Но как это сделать? Электрофильтры для очистки газов с высокой температурой не поставишь. Электроды вскоре превратятся в труху. Но можно сделать иначе -- очищать раскаленные газы веществами, которые при высоких температурах превращаются в пылеулавливающую жидкость (авторское свидетельство No 264344).

Такими веществами могут быть обычные соли, например хлористые соли натрия и калия, которые плавятся при температурах 660--800°. Они дешевы и неядовиты. Отлично растворяются в горячей воде. При нагреве не разлагаются и, следовательно, совершенно безопасны.

Для того чтобы уловить пыль, ее сначала надо хорошенько смочить. Вода плохо смачивает окислы металлов и угольную пыль. А расплавы солей не только хорошо смачивают графит, но даже внедряются в его кристаллическую решетку.

Принципиальная схема солевой газоочистки довольно проста. Грязные раскаленные газы продуваются по трубе Вентури со скоростью 30--50 м/с. В трубу при этом непрерывно подается расплавленная соль, которая газовым потоком дробится на мелкие капли. Грязный газ, двигаясь сквозь взвешенный слой расплава, фильтруется от пыли, после чего поступает в каплеуловитель. Из каплеуловителя смесь пыли и расплавленной соли стекает в отстойник, где соль растворяется, а пыль осаждается в обычной грязной воде. Из отстойника пыль можо удалить транспортером. Концентрированный рассол из отстойника подается для выпаривания и расплавления соли прямо в камеру плавления. Оттуда его опять пускают в трубу Вентури для повторного улавливания пыли.

Ну а чистый раскаленный газ с температурой 800° или выше направляется в котел-утилизатор.

Солевая установка, стоящая за современной мартеновской печью, будет не только улавливать ежесуточно до 40 т пыли, но и снизит капитальные и эксплуатационные затраты на очистку воздушного и водного бассейнов.

При выбросе 2 т/ч пыли, типичном для современных мартеновских печей, для каждой установки потребуется примерно один вагон соли. Воды же на ее регенерацию нужно будет около 10 т/ч, т. е. примерно в 20 раз меньше, чем для "мокрой" газоочистки.

Способ газоочистки, предложенный свердловскими инженерами, весьма перспективен. Однако для его практического внедрения необходимо решить сложные технические проблемы, связанные с коррозией трубопроводов и образованием в них отложений. Однако, как говорится, дорогу осилит идущий...

АНТИЦИКЛОН

Казалось бы, циклон -- идеальное средство для обеспыливания воздуха. Но в самом его принципе есть такие противоречия, которые в некоторых случаях сводят на нет все его положительные качества. Для того чтобы развить в циклоне большую скорость запыленного потока и создать достаточную для отделения пыли центробежную силу, нужно затратить энергию. Чтобы частицы пыли образовали на стенках корпуса винтовую спираль и ссыпались в конусную часть, тоже нужна энергия. Чем больше витков спирали образует запыленный поток, тем больше для этого требуется энергии.

Если взглянуть в микроскоп на различные пробы пыли, то можно увидеть такое разнообразие форм, которое даже трудно себе представить. Здесь длинные кристаллы, и пучки волокон, и Архимедовы спирали, и правильные пластинки, и чешуйки с рваными краями. Нет только шариков. А ведь чаще всего инженер, варьируя исходными данными для конструирования, представляет себе именно шарик, который подлежит улавливанию. Сознательно идя на такое допущение, он значительно упрощает стоящую перед ним задачу. По расчету получается, что циклон должен улавливать минимум 90% всей пыли, а когда его выполнят в металле и подключат к трубопроводам, картина эта резко меняется. Фактический коэффициент улавливания большинства циклонов не превышает 80%. Так сказывается тот факт, что пылинки неоднородны по своей форме и размерам.

Многие виды пыли обладают парусностью. Если дунуть на обычную бытовую пыль, она взовьется в воздух и будет долго в нем парить. Одни пылинки летят вверх, другие медленно оседают, третьи беспорядочно пляшут в потоках воздуха. Особой парусностью обладают волокнистые частицы. Когда они попадают в циклон, то на них при вращении в потоке действуют две силы: одна -- центробежная, отталкивающая пылинку к стене, другая -- центростремительная. Последняя возникает потому, что на пылинку влияет уходящий из циклона воздушный смерч. Как парусник, попавший в ураган, пылинка несется вслед за потоком и вылетает из циклона. Чем больше таких частиц попадает в циклон, тем ниже его эффективность.

Известный специалист по вентиляции профессор Батурин, зная эти недостатки циклонов, предложил очистку воздуха от пыли производить в пылеосадочных камерах, конструктивно напоминающих анфиладу "комнат" со смещенными друг относительно друга дверными проемами. Запыленный воздух входит в дверь и за счет расширения теряет свою скорость. Ранее поддерживаемые струей крупные частицы пыли при этом также теряют скорость и падают. Освободившись от тяжелых частиц, воздух входит в следующую "комнату", и там из него выпадают более мелкие фракции. Затем следуют третья и четвертая "комнаты", затраты энергии на прохождение которых в камере Батурина очень незначительны. Ведь скорость движения воздушного потока здесь ничтожно мала.

Но кроме энергии есть и другая статья затрат -- стоимость самого аппарата. Ведь для того чтобы разместить на заводе анфиладу "комнат", нужно пожертвовать производственной площадью; чтобы сделать стенки камеры непроницаемыми, нужно вложить ценный материал и труд рабочих. Словом, экономия на электроэнергии полностью поглощается капитальными затратами.

Может быть, чтобы как-то сократить габариты камеры, в нее поместить коронирующие и осадительные электроды. Но тогда получится электрофильтр. Его сопротивление потоку воздуха тоже ничтожно, но электрооборудование, необходимое для создания потенциала, и его эксплуатация обходятся дорого. Построить камеру с дождевальной установкой -- возникает другая проблема: куда девать сточную воду? Поставить в камере генератор ультразвука -- опять нехорошо. На создание ультразвуковых волн расходуется очень много электроэнергии, к тому же они угнетающе действуют на организм человека. И, вообще, все это не ново. И электрофильтры, и оросительные камеры, и ультразвуковые пылеуловители применяются в промышленности, но пока обычный циклон остается вне конкуренции. Его дешевизна, компактность и, в общем-то, не такая уж высокая энергоемкость вполне устраивают многие предприятия. Но есть заводы, где циклоны давно потеряли право на жизнь. И стоят-то они там только потому, что до сих пор не было изобретено пылеуловителя, который обладал бы такой же компактностью, дешевизной и неприхотливостью в эксплуатации, как циклон.

Вот, например, в хлопкообрабатывающей промышленности электрофильтр не поставишь. От электрических разрядов загорится хлопок. Оросительная камера там тоже ни к чему. Улавливаемый из системы пневмотранспорта хлопок должен оставаться сухим. Поставить обычную пылеосадочную камеру? Но на среднем хлопкоочистительном заводе пневмотранспорт выбрасывает такое количество запыленного воздуха, что для его очистки рядом с одним корпусом завода потребуется воздвигнуть такой же корпус, в котором разместились бы пылеосадочные камеры... Не лучше положение на асбестоперерабатывающих, льноперерабатывающих и многих других предприятиях. Словом, нужен не циклон, а антициклон.

"Антиконструкция" родилась совершенно случайно. Как это произошло, я расскажу позже. В поисках способа улавливания пыли мне пришлось сделать все наоборот: подавать запыленный поток не по касательной к корпусу циклона, а по его вертикальной оси. Очищенный же воздух отсасывать из патрубка, который раньше назывался входным. Циклон сделали стеклянным с подвижным входным патрубком, расположенным по вертикальной оси так, что его торец был направлен на отверстие для выгрузки улавливаемого материала. С первых же мгновений испытания стало ясно, что налицо совершенно новый эффект. Парусная пыль при повышении скорости воздуха не тянется послушно за ним, как в обычном циклоне, а с резким хлопком вылетает в пылевыпускное отверстие. И, наоборот, при понижении скорости она, не достигая отверстия, делает поворот кругом и уходит в вытяжной патрубок.

Вот первое и основное отличие нового пылеуловителя от всех его старших собратьев. Ведь и в оросительных камерах, и в электрофильтрах, и в ультразвуковом аппарате, и во всех прочих системах пылеуловителей стоит увеличить скорость прохождения газового потока выше нормы, как сразу ухудшается эффект пылеулавливания. В антициклоне же все наоборот, чем выше скорость потока, тем сильнее летят частицы пыли в отверстие для выгрузки. Из этого следует, что можно сконструировать сверхкомпактный пылеуловитель, ведь площадь его сечения будет уменьшаться пропорционально росту скорости воздушного потока.

Итак, достигнута первая цель технической задачи -- компактность аппарата. Практически он будет занимать вдвое меньше места, чем обычный циклон. Вдвое меньше пойдет на его изготовление листовой стали. Следовательно, и цена его будет значительно ниже. Остается подсчитать эксплуатационные затраты. Для преодоления сопротивления обычного циклона расходуется часть электроэнергии, потребляемой мотором вентилятора. Чем выше сопротивление циклона, тем больше электроэнергии уходит на его преодоление. У антициклона сопротивление в 2 с лишним раза меньше, чем у обычного циклона.

По этому же принципу был сконструирован еще один пылеуловитель, названный двухступенчатым. В нем сочетается обычный циклон с антициклоном. Воздух, содержащий пушистые частицы, например хлопка, входит сначала в обычный циклон и вращается в нем. При этом пушинки сталкиваются и накатываются в довольно большие шарики, из-за высокой парусности они вылетают из циклона и поступают в антициклон, в котором и улавливаются. Здесь обычный циклон выполняет функцию подготовителя пыли для более успешного улавливания антициклоном. Ведь в нем чем выше парусность, тем эффективнее улавливание пыли. Правда, двухступенчатый пылеуловитель менее компактен, чем антициклон, но в нем можно отделить от пушистой пыли тонкую минеральную. В условиях хлопкоочистительных заводов это качество очень пригодится.

Антициклон в чистом виде уже сейчас способен заменить громоздкие пылеосадочные камеры и сетчатые фильтры, устанавливаемые на текстильных предприятиях в системах кондиционирования воздуха перед оросительными камерами. Большую пользу он принесет и в пневмотранспорте, если его использовать вместо циклонов-разгрузителей.

АНТИЦИКЛОН ВЫЗВАЛ ШКВАЛ ЗАПРОСОВ

Об антициклоне я рассказал в девятом номере журнала "Техника и наука" за 1974 г. После этого огромный поток писем буквально обрушился на редакцию. Я расскажу о тех своих ответах читателям, которые и сегодня не потеряли своей актуальности.

Меня спрашивали, защищен ли антициклон патентом.

Да, мне выдано авторское свидетельство No 270484 на антициклон, отличающийся тем, что воздуховод, расположенный на вертикальной оси корпуса, через который обычно отсасывают из циклона очищенный воздух, служит для подачи запыленного потока, а воздуховод, подключенный к циклону, обычно служащий для подачи запыленного потока, использован по совершенно новому назначению -- через него отсасывают очищенный воздух. На сочетание двух устройств -- антициклона и обычного циклона -- выдано авторское свидетельство No 336049 (рис.6).

Читатели журнала интересовались, как удалось изобрести антициклон и действительно ли это произошло случайно. Действительно случайно, но таких случайностей в моей жизни было уже несколько. Дело в том, что лет 15 назад в каком-то журнале я прочитал высказывание деда Чарлза Дарвина -- Эразма. Он рекомендовал периодически ставить самые дикие опыты. Так я и поступаю, Я проделал множество таких опытов, и из них ничего не получалось, но было несколько случаев, когда кое-какой эффект наблюдался. Как-то, попав на завод, где были установлены волочильные станы, я поразился огромной запыленности в помещении. Оказывается, пыль, вернее окалина, слетала с проволоки, которую волочили на станах. Ее сдували струи воздуха, подаваемого на проволоку для ее охлаждения.

-- А что если сделать все наоборот? -- спросила сопровождавшая меня сотрудница Н. Бузина.

Стали прикидывать так и эдак и, наконец, высчитали, что оптимальным решением будет не подача воздуха к проволоке, а, наоборот, его отсасывание. В течение нескольких часов жестянщик отключал от стана нагнетательный патрубок вентилятора и подключал всасывающий. Пыль исчезла, а стан продолжал работать как ни в чем не бывало. Н. Бузиной и мне за это предложение выдали авторское свидетельство No 177830 на "Способ охлаждения барабана волочильного стана".

На вопрос, можно ли в центральную трубу антицик-

Рис. 6. Антициклон:

1 -- корпус; 2 -- входная труба для запыленного воздуха; 3 -- кольцевой зазор для входа чистого воздуха; 4 -- входной патрубок для чистого воздуха; 5 -- выходной патрубок для очищенного воздуха; 6 -- конусная перегородка; 7 -- пылевыпускной патрубок.

лона подавать воздух со скоростью 50 м/с, отвечаю -- можно. Чем выше скорость, тем выше и степень очистки воздуха.

Машинист катера А. Вернер спрашивал, можно ли антициклон применить для улавливания в нем искр, вылетающих из выхлопной трубы двигателя. "Нам, -- писал Вернер,-- нужен именно такой компактный аппарат, о котором говорилось в журнале, а то от нас шарахаются суда, груженные пожароопасным грузом".

Антициклон, конечно, поймает искру, но при этом может случиться, что в бункере наберется столько сажи, что она сама загорится и возникнет фейерверк на рейде. Поэтому лучше всего в нижнюю часть корпуса антициклона залить забортную воду, предусмотрев для ее подачи и слива две небольшие трубочки. Главное, чтобы уровень воды не поднимался выше нижнего среза центральной трубы антициклона.

Но не только с вопросами обращались читатели в редакцию журнала. Были письма и совсем иного свойства. Одни спешили поделиться радостью от удачного пуска антициклона, сообщить о том, что и у них появился положительный опыт его применения, некоторые предлагали свои интересные разработки пылеулавливающих устройств.

Старший преподаватель Калининского политехнического института Б. С. Аксенов темой своей научной работы избрал изыскание надежного способа улавливания торфяной пыли, образующейся при добыче фрезерного торфа. Обычный циклон, как показал опыт эксплуатации, недостаточно полно улавливал легкие частицы торфа, кроме того, он громоздок и занимал много места на торфоуборочной машине. Антициклон, который построил Б. С. Аксенов, обеспечил отличное улавливание торфяной пыли.

Параллельно он построил и установку для обеспыли-вания с помощью антициклона воздуха в кабине водителя торфоуборочной машины. Шлейф пыли тянулся за трактором, везущим торфоуборочную машину, обволакивал кабину, проникал в нее через все щели, забивал глаза и органы дыхания водителя. Нужен был очень компактный и эффективный пылеуловитель, в который можно было бы подавать наружный воздух с большим содержанием торфяных частиц, а выпускать в кабину абсолютно чистый. Конечно, в обычном антициклоне до такой степени очистить воздух нельзя. Б. С. Аксенов приехал в Москву ко мне на консультацию. В субботу моя квартира превратилась в мастерскую. Посреди комнаты жужжал пылесос, в подключенный к нему антициклон, сделанный из стеклянной фляги, бросали горстки пыли. Она тучами носилась в воздухе, но ловиться в антициклон не хотела никак. Ведь фракции аэрозолей, витающих в воздухе, значительно тоньше, чем фракции промышленной пыли! Одно дело поймать пыль, отсасываемую вентилятором от дымовой трубы или деревообрабатывающего станка, другое -- заставить ее осесть из окружающей атмосферы или воздуха, находящегося в комнате.

"А ведь пыль все же поймать возможно! -- размышлял Борис Сергеевич Аксенов.-- Нужно только постараться обойти закон Стокса. Сделать так, чтобы частицы эффективно оседали не при минимальной, а при максимальной скорости несущего их воздуха".

Один из экспериментов мы с Борисом Сергеевичем поставили в ванне. Антициклон опустили наполовину в воду и включили пылесос. С огромной скоростью воздух с пылью устремился перпендикулярно слою воды, ударился о нее. И... все пылинки утонули, а очищенный воздух вышел из антициклона. Решение было найдено: для обеспыливания воздуха, поступающего в кабину водителя, нужно в антициклон заливать обычную воду.

Сейчас эксперимент уже позади. Аксенов построил установку для очистки воздуха на действующей машине.

Письмо инженера В. Данского из Калуги привожу почти целиком.

"Дорогая редакция! Ежегодно в стране гибнут при хранении в стогах и хранилищах, теряются при транспортировке и втаптываются в землю миллионы тонн прекрасного сочного сена. А ведь в конечном счете это и масло, и мясо, и молоко! Пока что в сельском хозяйстве применен лишь агрегат витаминной муки (АВМ), выпускаемый фирмой "Нерис". Только он предназначен для переработки свежескошенной травы в муку, являющуюся великолепным кормом для скота. Недостаток этого агрегата, с нашей точки зрения, в том, что он стационарный. Траву к нему нужно возить. Следовательно, потери при ее транспортировке остаются. Идеальный выход из положения -- сконструировать передвижной агрегат, но размеры оборудования, использованного в АВМ, настолько велики, что он не помещается ни на каком шасси. Особенно громоздок циклон. Его диаметр -- 1900 мм, высота-- 2500 мм. Автор помещенной в журнале статьи пишет, что антициклон, разработанный им, почти в 2 раза J компактней обычного и имеет вдвое меньшее аэродинамическое сопротивление. Это как раз то, что нам нужно, чтобы сделать самоходный агрегат для переработки травы в муку непосредственно на месте".

Сразу по получении этого письма В. Данскому были посланы расчеты. Прошло несколько месяцев, и из Kaлуги пришло второе письмо: "Спасибо за помощь, мы разработали антициклон, высота и диаметр которого в 2 раза меньше, чем у обычного циклона. Это и позволило создать компактную установку на колесном шасси. Улавливание вырабатываемой агрегатом муки полное".

Срочно выехавший на место событий фоторепортер привез фотографиию этой впечатляющей самоходной установки. Впечатляющей не только внешним видом, но и своими параметрами: агрегат давал тонну витаминизированного корма в час, он проходил по любому бездорожью и работал на низкосортном топливе.

И еще один интересный вопрос, который мне задал читатель, инженер из г. Гуково Ростовской области А. Г. Заболотский: "Как удалось решить проблему улавливания легких пылей?"

Случается, что проблема, о которой вы еще вчера и не думали, вдруг захватывает вас полностью и не отпускает по нескольку лет. Так случилось и со мной. Однажды, испытывая стеклянную модель циклона, я натолкнулся на совершенно новый эффект, который меня на первых порах просто ошарашил.

В этот день приятные неожиданности буквально преследовали меня. С утра раздался телефонный звонок, и редактор одного журнала обрадовал .меня сообщением, что моя статья о пневмотранспорте вскоре будет опубликована, а я должен подготовиться к визиту фотокорреспондента, который сделает репортаж о моей творческой кухне. Действительно, вскоре появился фотограф. Меня он загнал в угол комнаты, туда же велел поставить кухонный стол, на него пылесос и циклон, вокруг установил ослепительно яркие лампы, а сам стал выбирать точку для съемки. Вскоре объектив был наведен, я сделал каменное лицо, и затвор щелкнул. "Теперь еще",-- скомандовал фотограф. Я принял прежнюю позу. "Да нет же! -- досадовал репортер.-- Нужна экспрессия! Поверните как-нибудь иначе пылесосный шланг. Не смотрите в объектив! Вы работаете, не обращайте на меня внимания! Когда композиция мне понравится, я сниму".

Я включил пылесос и стал бросать хлопья ваты в стеклянный циклон, сделанный из молочной бутылки. Они вращались по окружности, а когда их количество возрастало настолько, что образовывался как бы "пояс астероидов", они, как корабли в старые парусные времена, делали поворот "все вдруг" и мгновенно улетали из циклона-бутылки.

Итак, я на какое-то время увлекся, своими занятиями и даже забыл о фотографе. Вдруг слышу его голос: "Да что вы мне все время один и тот же кадр даете! Неужели нельзя взять циклон не в правую, а в левую руку, повернуть его боком, что ли?"

Вот тут-то оно, это самое, и случилось. "Эх,-- думаю,-- да не все ли равно -- будет ли в бутылке циклонный эффект, поверну все вверх ногами, задом наперед и совсем по-другому. Что будет, то будет!"/Лихорадочно переменил я концы пылесосного шланга так, что запыленный поток стал входить не сбоку бутылки по касательной к ее поверхности, а с торца в то место, где было дно. В первое мгновение я ничего не понял. Такое впечатление, что в бутылке стал работать диафрагменный насос. Резкие хлопки, как такты поршневой машины, стали четко ощутимы. Посмотрел сбоку и увидел, что из верхнего патрубка, который минуту до того был выходным, частицы пыли, как из пушки, влетали в горлышко бутылки. Не поверил глазам. Еще и еще раз повторил этот до смешного простой, но совершенно необыкновенный опыт. Впускал в циклон бумажки, пепел от сигарет, кусочки шерстяных ниток. Я то подключал циклон по обычной схеме, то опять делал все наоборот. Наоборот циклон работал значительно лучше. В частности, вата по обычной схеме вообще не ловилась, наоборот -- ловилась почти полностью. Шерстинки от кроличьей шапки вели себя точно так же.

О том, что идет съемка, я вспомнил только тогда, когда фоторепортер сказал, утирая с лица пот: "Все! Вы стали повторяться, и пленка у меня кончилась!"

Забегая вперед, скажу, что фотограф в тот день побил все существовавшие до него рекорды -- из 72 отснятых кадров, на которых было одно и то же лицо с одними и теми же предметами, редакция приняла 22!

Впоследствии я сложил из этих фотографий своеобразный фильм, в котором можно было проследить поведение пылевых частиц при различном положении входных и выходных патрубков циклона.

Но неожиданности, которые может принести метод исследования по принципу "делай все наоборот", еще не закончились. Впереди было опробование установки по мокрому способу.

ФОНТАН ВМЕСТО НАСОСА

Отечественные и зарубежные изобретатели создали десятки конструкций очистных устройств, так или иначе использующих струи воды. Достоинства всех этих фильтров неодинаковы. Один -- компактен, другой -- высокопроизводителен, третий -- надежен, но недостаток у них общий: большой расход воды и необходимость сооружения очистных установок и бассейнов. Задумав усовершенствовать мокрые пылеуловители, я стал наблюдав за фонтанами на Пушкинской площади, на скверике Большого театра в Москве, ездил смотреть знаменитые фонтаны в Петергофе. Но больше всего мне понравился естественный фонтан на мысе Казантип в Азовском море. Набегающая волна вымыла в скале нависающий козырек. Во время шторма волна ударяется о скалу, поднимается вверх и мириадами брызг обрушивается обратно в море. Вот это фонтан! Без насоса, без труб и без очистных сооружений. А воздух! Лучшего, чем на мысе Казантип, не найти нигде в мире. Он промыт морской водой и насыщен отрицательными ионами, как в аэрарии.

Конечно, я попытался построить искусственный "мыс Казантип". Совместить в одном корпусе вентилятор и пылеуловитель мне не удалось, но зато удалось другое. В корпусе нового аппарата прекрасно ужились очистка воздуха и осветление воды. Как же он устроен? Цилиндрический корпус наполовину заполнен водой, и туда введена труба. Она немного не доходит до уровня воды. Вокруг нижнего конца трубы, словно на хвосте ракеты, наварены лопасти, а выше надет конусный козырек. верхней части корпуса пылеуловителя смонтирован обычный вентилятор. Он прокачивает через все устройство газ или воздух.

Газ идет по трубе под некоторым давлением и, выходя из нижнего отверстия, как бы вминает водное зеркало под лопастями. В этот зазор устремляется очищенный газ и увлекает воду. По косым направляющим лопастей газоводяная смесь движется со скоростью 10--20 м/с. Она приобретает вращательное движение и, подобно кольцам Сатурна, крутится вокруг козырька. Контакт воды и газа настолько тесен, что они не могут не смешиваться. Вода поглощает примеси и, ударившись о козырек, обрушивается вниз, а очищенный воздух свободно выходит наружу.

Но ведь вода насыщается пылью, как ее очистить? В нижней части корпуса пылеуловителя сделан конус. В нем в виде шлама осаждается пыль и периодически сливается прямо в кузов самосвала или с помощью шнека удаляется в отвал. Шлам довольно густой и быстро застывает на воздухе.

Теперь отпадает необходимость в строительстве очистных сооружений. Становится излишней и такая каверзная деталь, как водораспределительное устройство для фонтанирования воды. В новой конструкции не нужны также насос, форсунки и водонапорные башни. Фонтан образует сам воздух во время очистки.

Подобные пылеуловители уже работают на одном московском заводе. Там установлены восемь цилиндрических элементов производительностью 50 тыс. м3/ч. Шлам из-под них удаляется скребковыми транспортерами. Применили его и текстильщики одной из фабрик технических тканей. Здесь он очищает воздух и заодно его кондиционирует.

БЕСКАМЕРНЫЙ ПРЯМОТОЧНЫЙ ПЫЛЕУЛОВИТЕЛЬ

Довольно часто в лабораториях и на опытных установках газ очищается великолепно, а на предприятии выясняется, что уловитель никуда не годится: пыль забивает трубопроводы, налипает на электродах и сетках и в конце концов загрязняет помещение, где установлен фильтр. Сложная конструкция требует тщательной балансировки, регулярной чистки, шлифовки внутренних поверхностей и высокой квалификации обслуживающего персонала. Все это сдерживает ее широкое применение. Поэтому у инженеров-эксплуатационников сложилось убеждение, что хороша лишь конструкция "из-под топора", т. е. предельно простая вещь.

Долгое время мне пришлось работать над усовершенствованием пылеуловителей циклонов. Меня изводила шероховатость их стенок. Мельчайшая неровность, сварной или вмятина на корпусе -- и запыленный поток отбрасывался от стенки. Желаемого расслоения "пыль воздух" не получалось. Решил сделать циклон из стекла -- достаточно гладкого материала. Снова пришлось взять обычную литровую бутылку из-под молока. Но и эта, казалось бы, идеально гладкая поверхность тормозила частицы. Через стенки бутылки было ясно видно, как легкие фракции -- хлопок, пух -- ни в какую не хотели спускаться по спирали в горлышко бутылки, делали пируэт в сторону и вылетали вверх в атмосферу.

У меня опустились руки. Все испробовано, надежд никаких. Я отсоединил отсасывающий шланг от патрубка, введенного по оси устройства, и не знаю, зачем присоединил его к тому патрубку, в который вводят запыленный поток. Получился прямоточный прибор.

Ни минуты не думал, что из этого опыта выйдет что-либо путное, но эффект получился. Частицы пыли, впускаемые в патрубок, опущенный сверху по оси циклон стали делать забавные кульбиты. Они не поворачивал сразу, как этого можно было ожидать, в отсасывающий шланг, а продолжали с большой скоростью лететь вниз Причем чем большей парусностью они обладали, тем ниже ныряли. Самые пушистые и легкие, вообще, вылетали наружу через нижнее отверстие. Как бы заставить частицы осесть? Возникла идея подстелить липкую бумагу. Но где взять столько липучки? Если налить в корпус циклона какую-нибудь жидкость, например воду, то пыль вскоре покроет ее поверхность ровным слоем и дальнейший эффект осаждения пропадет. А что если прямо под трубой поместить обечайку?

У второго циклона я смонтировал под вертикальным патрубком чашу без дна, а сам, патрубок снабдил соплом. Нижнюю его кромку погрузил а воду. Мне удалось убить сразу нескольких зайцев: частицы, летящие с большой скоростью, сталкиваются с зеркалом налитой в чашу воды; поток воздуха, увлекая загрязненную воду, находящуюся в чаше, выплескивает ее наружу через края; чистая вода поднимается через отверстие в дне чаши и занимает место ушедшей; вода, выплескивающаяся из чаши, создает для уже частично очистившегося воздуха еще ряд пленочных завес, в которых улавливаются оставшиеся частицы пыли.

Первую модель гидродинамического пылеуловителя пришлось делать в домашних условиях. Корпусом служила стеклянная фляга емкостью 50 л, сопло мне выточил токарь на заводе, роль чаши выполнил обыкновенный деревенский чугунок, у которого я отпилил дно. Испытания с помощью пылесоса производил в ванне. Эффект очистки сразу получился отличный.

Поток запыленного воздуха (запылял я его зубным порошком, тальком и сажей) со страшной силой ударялся о зеркало воды и своим давлением заставлял ее подняться вверх. При этом в чаше образовывался водяной круговой фонтан, через который проходил уже частично очищенный воздух. Фонтан отбирал у воздуха еще какое-то количество пылинок. Доходя до верхней кромки сопла, вода каскадом обрушивалась вниз, и уже дважды очищенный поток воздуха, проходя через него, освобождался от последних пылинок.

На гидродинамический пылеуловитель мне вскоре выдали авторское свидетельство No 177848. Дальнейшие опыты были перенесены прямо в цехи Московского чугунолитейного завода имени Войкова. Задачи, которые поставили передо мной руководители завода, вкратце можно было сформулировать так: максимум очистки, минимум расхода воды и минимум хлопот по эксплуатации. Зато мне предоставили широчайшее поле деятельности. Первый рабочий образец решили делать сразу на производительность 5 тыс. м3/ч.

Когда уже были рассчитаны сопло и чаша, мы с начальником энергомеханического отдела С. Г. Быченковым стали решать, из чего их делать. Поразмыслив, решили делать их литыми из серого чугуна, ведь завод-то чугунолитейный.

Сейчас на заводе работают три модификации гидродинамического пылеуловителя. Первая состояла из шести сопл и чаш, расположенных в два ряда по три комплекта в каждом. Резервуар с водой для всех шести комплектов общий. Оседающая в нем пыль в виде пасты удаляется самотеком в промежуточную емкость и периодически отвозится в отвал, а вода используется повторно. Производительность всей системы примерно 30--40 тыс. м3 запыленного воздуха в час. Сопротивление по воздуху 50 мм вод. ст.

Вторая модификация была проще: в конусный бункер заливается вода, а цилиндры с комплектами чаш и сопл поставлены сверху бункера кругом. Эта установка привлекла- внимание заместителя министра промышленности строительных материалов. Была создана компетентная комиссия из представителей различных институтов, под руководством которой лаборатория пылеулавливания

ВНИИ санитарной техники провела испытания и засвидетельствовала коэффициент очистки -- 99%, производительность-- 50 тыс. м3 воздуха в час, сопротивление -- 80 мм вод. ст.

Главное, на мой взгляд, состоит в том, что запыленность в выбросной трубе после гидродинамического пылеуловителя составляет всего 7 мг на 1 м3 воздуха. Это почти в 10 раз меньше допустимой нормы.

А самая лучшая установка была построена после окончания работы комиссии. Этот пылеуловитель представляет собой комнату с дверью, окнами и даже с электрическим освещением. Внутри нее установлены комплекты чаш и сопл. Между ними можно свободно ходить и периодически, раз в месяц, осматривать. На заводе построено пять таких камер на разное количество комплектов сопл и чаш. Вода во всех пылеуловителях непроточная. Поэтому отпадает необходимость в строительстве водоотстойников, не загрязняются водоемы. Практически можно сделать помещение и на 60 комплектов. Тогда в камере будет очищаться 400 тыс. м3 газа или воздуха в час. Например, на Ростсельмаше работают такие установки по 200 тыс. м3/ч.

Пока гидродинамические пылеуловители внедрены лишь на нескольких предприятиях. Я думаю только потому, что не налажена серийная отливка чаш и сопл. Каждый раз заводу, задумавшему внедрить новинку, приходится самому делать модель и отливать детали метрового диаметра, а для этого не у всех есть условия.

На ряде заводов сопла и чаши сварили из листовой стали. Однако надежда на то, что они прослужат достаточно долго, очень мала. Ведь работают они в загрязненной абразивными частицами воде. Лучшим выходом из положения, на мой взгляд, было бы централизованное изготовление сопл и чаш на одном из чугунолитейных заводов. Стоимость комплекта по опыту предыдущих заказов составляет 10 руб. Заводу, пожелавшему внедрить гидродинамический пылеуловитель, останется только выделить или построить под него подходящую камеру и подвести к соплам трубопроводы. В помещении площадью 15 м2 может разместиться десять комплектов сопл и чаш. Это обеспечит отличную очистку 50--60 тыс. м3 запыленного воздуха в час,

КАК ПОЙМАТЬ СТЕКЛЯННЫЙ ШАРИК

Общественные конструкторские бюро, комплексные бригады и другие формы творческого содружества обычно складываются в рамках предприятия или научно-исследовательского института, где работают все их участники. Оправданы ли творческие коллективы вне этих рамок? Здесь рассказывается о группе специалистов разных ведомств, объединившихся исключительно по собственной инициативе для решения конкретной технической задачи. Такая группа энтузиастов -- не единственная в своем роде, но и не массовое явление. Вместо противопоставления изобретателей-одиночек творческим коллективам следует перейти к поискам наиболее рациональных форм их совместной деятельности. Возможно, изобретательские группы могут быть одной из искомых форм. Мозговой штурм проблемы нередко дает положительный результат.

Однажды, когда мы, участники общественного конструкторского бюро (ОКБ), встретились в министерстве с представителем официальной фирмы, он в сердцах сказал: "Слишком много вам дают свободного времени! Вот увижу вашего директора, скажу, что его люди не загружены!"

Обидно было товарищу, что, будучи руководителем большой лаборатории с ассигнованиями, штатом, новейшим оборудованием и просторными помещениями, он за годы ее существования разработал только одно изобретение, которое на поверку оказалось хуже предложенного общественниками. ОКБ ютилось при цеховом совете ВОИР, и работали в нем в основном молодые специалисты. А вот поди ж ты, вечерами разрабатывали новые решения, получали авторские свидетельства, внедряли... Все на энтузиазме!

Года два спустя встретились с этим товарищем уже по-хорошему. Разговорились.

-- Думаете, я не хотел бы так же, как вы, просиживать вечера в теплой компании? -- заметил он.-- Я ведь тоже люблю свое дело. Но попробуйте наших людей хоть на полчаса задержать после работы! Одной нужно в магазин, другой в ясли за ребенком, третий билет в театр взял... Да и прав я таких не имею -- людей задерживать. А в рабочий день над нами план висит. Отчеты по темам, хоздоговоры, финансовые дела, вечная спешка.

Действительно, парадокс! Люди, у которых все есть, оказались в худшем положении, чем "партизанское" ОКБ.

Чем это объяснить? Некоторые думают: дал команду-- и все закрутилось. Появились изобретения, открытия, диссертации и патенты. А того не понимают, что за восьмичасовой рабочий день хорошие идеи не всегда рождаются. Для них нужно нерабочее время. Обязательно. Почему? Потому что для появления в голове нестандартных решений голова эта требует как минимум свободы от заботы об отчетах. Совещания, согласования иссушают мысль. А в ОКБ -- обстановка иная. Сделал конструкцию-- молодец! Не сделал -- не беда: она не в плане. Захотел поработать? Садись за свободный кульман! Не захотел, можешь просто так покалякать с друзьями.

Ценная особенность групп, работающих на общественных началах,-- их временный характер. Создаются они для решения технической задачи и функционируют лишь до тех пор, пока она не решена. Исчерпан вопрос-- группа, если нет новой объединяющей цели, может распасться. Высасывать из пальца новую задачу нет нужды. Ведь руководство ОКБ не озабочено выколачиванием ассигнований на следующий год.

Правда, есть трудности иного плана. Плохо с оборудованием, помещением для занятий, нечем платить машинисткам и копировщицам.

Не каждый годен для работы в ОКБ. Парадоксальность в том, что для работающего на добровольных началах понятия "свободное время", "семейный уют", "мой дом -- моя крепость" теряют свою определенность.

...Раздается телефоный звонок. Говорит старший научный сотрудник крупного московского института:

-- Вы автор гидропылеуловителя, о котором писалось в "Изобретателе и рационализаторе"? Мы вот собрались в одной гостеприимной квартире и поспорили, настоящий вы изобретатель или случайный? Если настоящий, то в течение ближайшего часа вы будете у нас. Гарантирую, будет интересно.

Удивленный таким предложением, я не то что не успел, не решился спросить, что за дело ко мне у собравшихся. А потом всю дорогу на чем свет стоит ругал неизвестного мне гражданина, таким примитивным способом вытащивщего меня из дому, а заодно корил и себя за доверчивость и любопытство.

Дверь открыл высокий худой человек. В квартире сидели даже на диванных валиках и подоконнике.

-- А вот и товарищ, который поможет нам поймать разлетающиеся шарики,-- представил меня хозяин дома.

Оказывается, вся компания, собравшаяся у кандидата технических наук В. А. Лисиченко, увлечена проблемой производства стеклянных шариков. Химиков, механиков, дорожников, полиграфистов, стеклодувов, прибористов и физиков-оптиков сплотил он каким-то чудом в единый коллектив, и вот они вечерами спорят о стеклянных шариках. Пока хозяин готовил в большой кастрюле кофе, мне успели коротко изложить суть проблемы.

Стеклянными микрошариками покрывали бакены, и те в свете пароходных прожекторов ярко сверкали, обозначая фарватер. Пытались изготовлять такие шарики из оргстекла. Но все в небольших масштабах.

За три месяца в группе Лисиченко научились варить особое, напоминающее хрусталь стекло с коэффициентом преломления, близким к 2. Но когда из этого стекла попробовали сделать шарики, ничего путного не получилось. Маленький (около 20 мкм в диаметре) шарик парил в воздухе, выплясывал немыслимые коленца. Вдоволь налетавшись, оседал, но не в подставленный противень, а куда попало.

Лисиченко прихлебывал из чашки кофе и рассказывал, что каждый стеклянный шарик -- это объектив. Лучи све-1 та, преломившись на сферической поверхности, должны. войти в него, отразиться от противоположной границы и сфокусироваться в одной точке.

...Инициативная группа работала вовсю. Демонстрация милицейского жезла, сияющего мириадами микрошариков, вызвала сенсацию. Обычный дорожный знак рядом со знаком, изготовленным членами инициативной группы из НИИавтоприборов, выглядел еле заметным. К участию в мозговом штурме был привлечен начальник печатного цеха одной крупной типографии. Вместе с ним разработали способ нанесения микрошариков на металлическую основу знака. Идея была такова: на обычной машине методом шелкографии изготавливаются переводные картинки-"бутерброды": прозрачный слой с рисунком, соответствующим данному знаку, слой микрошариков, слой алюминиевой краски (отражающий) и, наконец, клей. Объехав на машине с выдвижной люлькой огромный участок дороги, мастер может за один день на обычные знаки наклеить светящиеся изображения...

Так было бы, если бы умели ловить микрошарики.

Однажды на очередном заседании, когда допивали третью кастрюлю кофе, вдруг кто-то бросил идею: стекло расплавить и, как пульверизатором, распылять шуховской форсункой.

-- Ничего не выйдет. Стекло вязкое, забьет трубки...

-- Пропускать стеклянный порошок через переменное электрическое поле,-- несмело заметил еще кто-то.

-- Индукционный нагрев! Гидрозатвор из расплавленного металла! Плазмотрон! -- посыпались предложения.

-- Обычный вентилятор! Если его сделать из жаропрочной стали и, как в печи аэродинамического, подогрева, соединить нагнетательный патрубок с всасывающим, получится замкнутый аппарат. Воздух от трения разогреется, и нам только останется засыпать в него стеклянный порошок и получить микрошарики.

-- Вентилятор -- это уже близко,-- поддержала нахш единственная женщина.-- Когда рассчитываете пылеулавливающие агрегаты, какой формы пылинки вы себе представляете?

-- Известно какой,-- отвечаю,-- шарообразной! Это в учебниках рекомендуется.

-- Итак,-- подытожил главный стеклодув группы Б.Щ. Васин,-- известен способ превращения порошка в идеальные шарики, есть методика, есть гидропылеуловитель способный захватить частицы меньше микрометра...

-- Но, позвольте,-- спохватился он,-- пылеуловитель-то гидравлический! Как раскаленная плазма будет соседствовать с водой. Вода закипит, а то и взорвется.

Начали составлять тепловой баланс. Сколько стекла нужно расплавить, сколько воды испарить, какая для этого потребуется мощность тока. Подсчитали, и получилось, что маленькая струйка воды позволит всему остальному объему удерживаться на грани кипения, но не кипеть. Тут же положили на стол лист миллиметровки и набросали эскиз.

На следующий же день в мастерской приступили к изготовлению опытной установки. Пуск происходил на Московском заводе электровакуумных приборов, где нам разрешили немного поэксцериментировать после смены. Мерно зарокотала водородная горелка, и по команде Baсина струю молотого стекла пустили в факел. Уже через полчаса двухведерный бункер пылеуловителя был поло микрошариками.

-- Ну вот, для наших опытов хватит на ближайших сто лет,-- заметил Лисиченко.-- Теперь вопрос в том, возьмется за изготовление промышленной установки. Инициативная группа больше ничего сделать не может.

За тему, почти решенную, пока не взялся ни один институт. На установку, в которой так удачно сочетались "вода и пламень", выдали авторское свидетельство No 330117, а из остатков микрошариков мы понаделали всяких светоотражающих приборов и дорожных знаков. Одид из них: "Осторожно, дети!" -- висит у меня на стене. Но что в нем толку, если он отражает только свет от настольной лампы? Выдали нам авторское свидетельство No 325503 и на водомерное стекло, отличающееся тем, что одна его сторона покрыта шариками-катафотами и лучи света, падающие на нее в том месте, где стекло не заполнено водой, образуют сверкающую полоску, которая видна из любой точки котельной. Это предложение, мог бы использовать завод, выпускающий водомерные стекла для паровых котлов.

Стала наша инициативная группа распадаться. Одни за докторские диссертации засели, другие за кандидатские, третьи решили техникум окончить, чтобы не отставать.

Свои технические решения мы предлагали промышленности. Пока дело движется медленно. Но надежды не теряем.

Если сбросить со счета то удовлетворение, которое принес участникам группы совместный поиск, и если даже нам не удастся реализовать свою находку,-- а мы будем стараться! -- все равно останется положительный итог. Мы внесли свой вклад в копилку технических идей.

СОРОК СОРОКОВ АНТИЦИКЛОНОВ

Когда разработка антициклона была в основном закончена, я сложил все эскизы вариантов в стопку, перетасовал и разложил на столе (рис. 7). Во главу угла поставил антициклон. По вертикали расположил варианты антициклона, в которых эффект осевой струи усиливается за счет добавления энергии вращения, тепла, воздуха и воды, а по горизонтали -- графы с решениями той же задачи, сделанными по принципам: введения дополнительного эффекта, "наоборот", "матрешка", мультипликация, а также наложения электрического и магнитного полей. Итак, первый элемент, порядковый номер 1, --обычный антициклон. Цилиндрический корпус с вход-

Рис. 7. Периодическая система антициклонов:

1 -- антициклон; 2 -- циклон; 3 -- антициклон "наоборот"; 4 -- двухступенчатый циклон; 5 -- антимультициклон; 6 -- двухступенчатый пылеуловитель; 7 -- магнитный антициклон; 8 -- устройство для перегрузки рыбы; 9 -- сепаратор мельницы; 10 -- ротационный пылеуловитель; 11 -- турбофильтр; 12 -- антициклонный пылесос; 14 -- разгрузитель пневмотранспорта; 16 -- уборщик газонов; 17 -- шахтный теплообменник; 18 -- запечный теплообменник "Робот"; 19 -- антициклонный теплообменник с цепной завесой; 20 -- многоступенчатый циклон; 22 -- циклонный теплообменник; 25 -- гидропылеуловитель; 26 -- скруббер; 27 -- вертикальная шахтная печь; 28 -- гидровоздушный циклон; 29 -- производство цементного клинкера; 31 -- гидродинамический пылеуловитель; 32 -- дымогенератор Азчеррыба; 33 -- антициклон с воздушной рубашкой; 34 -- антициклон с наддувом; 35 -- пылеуловитель вагранки

ным патрубком, направленным на отверстие в конусной части. Диаметр отверстия обязательно должен быть чуть больше диаметра патрубка. Соосность абсолютно необходима. Иначе пылевой поток не пойдет по инерции в отверстие, а ударится о стенку конуса, и эффекта осевой струи как не бывало! При соблюдении соосности и достав точно близком расположении входного патрубка к отверстию в конусе антициклон отлично ловит высушенную травяную сечку, палые листья деревьев, бумажный мусор, текстильные угары, хлопок и т. д.

Словом, все те частицы, которые обладают высокой парусностью, а при участии в циклонном процессе из вое душного потока выделяются крайне вяло, так как сила дрейфа у них значительно больше центробежной.

По горизонтали, под номером 2, в графе "Введение дополнительного эффекта" показан обычный циклон частичным ответвлением воздуха из входного патрубка и вводом его в конусную часть. Такой эффект без особых переделок позволяет снизить сопротивление обычного циклона и предотвратить зависание пыли в конусной части. Особенно целесообразно ставить такие трубопроводы в циклонных теплообменниках и циклонах -- разгрузителях пневмотранспорта.

Следующая графа -- "Принцип "наоборот". Показан обычный антициклон, перевернутый конусом вверх. Парадоксально, но факт -- степень улавливания в нем ничуть не меньше, чем у антициклона 1. Дело в том, что в эффекте улавливания частиц с помощью осевой струи влияние гравитации почти полностью исключено. Например, кленовый лист, попавший в антициклон, летит в бункер, как двадцатипятиграммовая гирька. Если поставить на его пути ладонь, он довольно больно ударит по ней. Кстати в качестве мусоросборника при механической уборке газонов и дорожек лучше всего использовать именно антициклоны (см. графу "Технология"). Ведь в обычных циклонах листочки бумаги, окурки и сигаретная упаковка практически не улавливаются, а в тканевых фильтрах такие фракции сразу покрывают всю площадь фильтрации, и отсос воздуха прекращается.

Следующим номером, 4, в графе "Матрешка" идет аппарат "Двухступенчатый циклон" (внутренняя вставка антициклон). Поток запыленного воздуха входит через патрубок сразу в антициклон, под действием инерции очищается в нем от крупных фракций, имеющих большую парусность, а затем через каналы между завихривающими лопастями выходит в зазор между стенками корпуса и вставки, совершает в нем вращательное движение, под действием центробежных сил освобождается от мелких фракций и удаляется через патрубок. Это типичное "матрешечное" решение технической задачи. Внутри одного корпуса устанавливается другой. Их эффективности складываются, а сопротивление возрастает незначительно, так как отсутствуют обычные при последовательном подключении воздуховоды.

В квадрате 5 показана мультипликация антициклона. Параллельно подключены четыре элемента. Но их может быть и 16 и 24 и больше. Мультипликация позволяет увеличить общий периметр отверстий входных патрубков и снизить общую высоту установки. При этом возрастает эффективность отделения пыли от воздуха. Ведь чем больше периметр, тем меньший слой воздуха приходится преодолевать пылинке, а чем меньше диаметр входного патрубка, тем меньше при том же соотношении диаметра патрубка к высоте будет общая высота установки.

Под номерами 6 и 7 показаны варианты наложения электрического и магнитных полей на действие антициклонов. В двухступенчатом пылеуловителе (квадрат 6), первый циклон которого изготовлен из пластмассы, улавливание происходит постадийно. В первом циклоне пыль вращается, заряжается от трения по стенкам, накатывается в довольно крупные шарики и в антициклоне эффективно улавливается, так как чем выше сечение частиц, тем выше и эффективность их улавливания.

Заканчивается горизонтальный ряд модификаций антициклона наложением магнитного поля на эффективность пылеосаждения. По кольцу внутри и снаружи антициклона расположены постоянные магниты. Между ними помещены железные опилки, образующие пористый фильтр, в котором эффективно задерживаются все частицы, не осевшие за счет эффекта осевой струи. В графе 8 показано довольно неожиданное применение антициклона (предложение Л. П. и С. Л. Шишмаковых) для перекачки рыбы. Такой способ предохраняет ее от повреждений.

Принцип действия пылеуловителей, помещенных во втором ряду, усилен эффектом вращения. Так, в сепараторе мельницы, помещенном в квадрате 9, в качестве входного патрубка антициклона используется вращающаяся вместе с корпусом мельницы цапфа. Через нее выходит воздушный поток, увлекающий с собой измельченный материал. При этом по инерции крупные фракции! пролетают в камеру и возвращаются на домалывание, а мелкие фракции отсасываются через патрубок.

В квадрате 10 изображен ротационный пылеуловитель, в котором вакуум создается чистым отсеком крыльчатки. Запыленный поток поступает через патрубок, по инерции пролетает в грязный отсек крыльчатки и сбрасывается ее лопастями в бункер. Очищенный воздух чистый отсек крыльчатки нагнетает в патрубок. Дополнительный эффект, используемый в установке, заключается в том, что ее крыльчатка одновременно служит и для отделений пыли из потока, и для отсасывания пыли из места ее выделения.

В турбофильтре (квадрат 11) крыльчатки не отсасывают пыль и не побуждают движение пылевоздушного потока, а, наоборот, вращаются, как турбины, этим же потоком. Снаружи крыльчатки обтянуты мелкоячеистой сеткой, на которой оседают пылинки, не выделившиеся из потока по инерции.

В квадрате 12 (принцип "матрешка") показан антициклонный пылесос, а в квадрате 13 (принцип мультипликации) автор не смог поместить никаких конструкций, так как еще ничего не придумал. Любой из читателей может восполнить этот пробел и подать от своего имени заявку. То же касается и других, пока еще не состоявшихся изобретений, которых ждут белые поля квадратов 15, 21, 23, 24, 30, 36, 37, 38, 39, 40. Конечно, автор оставил исследователям наиболее трудные, нерешенные задачи, но не исключено, что именно их решения и дадут наибольший эффект. А вообще-то, пробелы в таблице -- не помеха. Возможно, они всегда будут в ней. Не исключено, что кто-то придумает ультразвуковой антициклон, кто-то возьмет один из элементов периодической системы, поставит его во главу угла и начнет его совершенствовать по горизонтали и вертикали. Особенно пригоден, на мой взгляд, для этого "Разгрузитель пневмотранспорта" (квадрат 14). Его входной патрубок сделан из перфорированной трубы, на которую надета катушка. Патрубок вварен в крышку бункера, а на катушку через ролики намотана электретная нить. Она образует дополнительный фильтрующий слой, в котором под действие электрического заряда оседают даже мельчайшие аэрозоли. Постепенно нить с катушки перематывается, проходя через щетки, очищающие с нее пыль и создающие на нити новый заряд. Вместо электретной нити может быть использован шнур из любого синтетического материала.

Все изобретения, помещенные в третьем ряду, относятся к области теплопередачи. В основном это устанавливаемые за цементными печами теплообменники. Их принцип действия заключен в обработке поступающей сверху цементной сырьевой муки встречным потоком газов. Подогретая мука улавливается в элементах антициклонов и направляется во вращающиеся цементные печи. Все указанные теплообменники автор разрабатывал совместно с сотрудниками ВНИИцеммаша.

Четвертый ряд таблицы почти полностью заполнен аппаратами, в которых улавливание пыли осуществляется жидкой фазой. Наиболее широко внедрен гидропылеуловитель (квадрат 25) и скруббер (квадрат 23), отличающийся тем, что в нем эффект осевой струи усилен косыми лопастями, закручивающими водовоздушную смесь под козырьком. Это способствует более активному массообмену.

В квадрате 27 показана "Вертикальная шахтная печь", разработанная совместно с сотрудниками института НИИавтоприбор для производства и эффективного осаждения сверхминиатюрных стеклянных шариков -- катафотов. В этой конструкции входной патрубок является одновременно топочным объемом, в котором плазмой оплавляются мельчайшие стеклянные крупинки, тут же превращающиеся в шары и осаждающиеся в слое воды. С мелкими твердыми фракциями здесь не борются, а, наоборот, производят -их для изготовления самосветящихся автодорожных знаков.

В квадрате 28 новое "матрешечное" решение. Внутрь гидропылеуловителя, состоящего из нескольких сопл, вмонтирован антициклон. Воздух сначала очищается в нем от пыли, а затем поступает в сопла и барботирует через воду. Преимущество такого решения -- увеличение периодов времени между чистками.

В квадрате 29 показано устройство для обеспыливания уходящих газов цементных печей, работающих по мокрому способу производства. Уходящие газы из печи направляются к нескольким соплам и, выходя из них, с силой ударяются о зеркало разлитого шлама. При этом около 90% пыли осаждается на поверхности шлама и вместе с ним поступает обратно в печь.

В квадрате 31 показан гидродинамический пылеуловитель, отличающийся тем, что циркулирующая в нем вода омагничивается и значительно усиливает свои пылеулавливающие свойства.

В квадрате 32 показано устройство дымогенератора, разработанного в объединении Азчеррыба. Общий дефект четвертого ряда -- сложность удаления пульпы. Достоинство -- чистота очистки.

Последний ряд менее всего заполнен, но есть надежда, что уже вскоре для заявок не хватит пустых квадратов, дело в том, что используемый в нем для "промывки запыленного потока" воздух оказывает такое же действие на процесс улавливания, как и вода. В антициклоне (квадрат 33) чистый воздух засасывается вместе с пылевым потоком и обволакивает его, как завеса, на всем пути движения внутри конуса от кольцевой щели между патрубком и рубашкой до отверстия в бункере.

В квадрате 34 тот же эффект достигается за счет нагнетания чистого воздуха вентилятором, а в квадрате 35 антициклон перевернут. Воздушная завеса в нем также создается отдельным вентилятором. Такое устройство можно закрепить на любой пылящей трубе, но наибольший эффект оно даст именно на вагранках, так как мокрые пылеуловители четвертого ряда на вагранках внедрить трудно из-за агрессивности выбросных газов.

Все помещенные в таблице пылеуловители разработаны автором или при его участии, но, я думаю, труд любого товарища, желающего дополнить таблицу, будет встречен с благодарностью и пониманием. В принципе ведь вокруг каждого из сорока квадратов можно нарисовав еще по сорок!

от антициклонов к ротоклонам

"За последние годы в промышленности появились новые пылеуловители -- ротоклоны. Различны их технические характеристики и конструктивное исполнение, различны области применения и составы очищаемых газов.

Осмыслить особенности ротоклонов, которые были разработаны в последнее время, мне помогла "Периодическая система пылеуловителей",-- написал после публикации этой статьи в журнале "Техника и наука" ( No 6 3j 1979 г.) кандидат технических наук, заслуженный изобретатель Грузинской ССР Т. А. Шилакадзе.-- Я несколько изменил порядок и расположил в ее квадратах наиболее известные конструкции ротоклонов, предлагаемых фирмами или группами инженеров, действующими при общественных конструкторских бюро. Конечно, количественный анализ работы пылеуловителей таким образом дать нельзя, но качественную оценку -- вполне возможно".

Итак, "Периодическая таблица ротоклонов" (рис. 8).

Первая графа -- ротоклоны, действующие за счет барботирования газа через воду. Они отличаются друг от друга лишь формой и расположением элементов барботирования -- то принимают форму простейшей перегородки, то изгибаются в форме утки, то сворачиваются в кольцо или спиралью, то дробятся, как в мультипликаторе, то намагничиваются, то приобретают форму "матрешки".

Затем идет способ передувки. Поток чистого воздуха направляют на барботирующий через воду газ. Следующий способ -- двух- и более ступенчатая очистка. Запыленный газ сначала охлаждается в первой ступени, увлажняется, и его частицы коагулируют. Затем он поступает во вторую ступень, где они осаждаются. Четвертый способ -- "перелив". В нем воду после барботирования направляют по трубопроводу в отдельно стоящий бункер, где она осветляется и вновь поступает на барботирование. Например, применяя метод кольца и способ двухступенчатой очистки, можно получить новый ротоклон и т. д.

Начинается таблица простейшим промывным сосудом (клетка 1), разделенным прямыми перегородками. Далее (клетка 2) идет типичный ротоклон с изогнутыми перегородками, выпускаемый фирмой "Эрфильтр" (США). За ней, в клетке 3, находится гидродинамический пылеуловитель; отличающийся тем, что его перегородка в целях увеличения периметра свернута кольцом. За счет этого в том же корпусе периметр увеличился в 3,14 раза и исчезли "аэродинамические тени", неизбежно присутствующие в прямоугольном канале.

В клетке 4 приведен почти такой же пылеуловитель, отличающийся тем, что кольцом изогнута не фасонная, а прямая перегородка. Это упрощает изготовление и позволяет между перегородкой и входной трубой разместить спиральные направляющие, завихряющие воду и газ и тем самым продлевающие контакт между ними.

В клетке 5 показан гидродинамический' пылеуловитель, применяемый на Московском чугунолитейном заводе имени Войкова. В нем использован метод мультипликации. Объект разделен на множество подобных элементов, приведенных в клетке 3. Путем наложения магнит-

Рис. 8. Периодическая система ротоклонов:

1 -- простейший барботер; 2 -- ротоклон; 3 -- гидродинамический пылеуловитель; 4 -- гидродинамический пылеуловитель со спиральными направляющими; 5 -- гидродинамический пылеуловитель с несколькими параллельными барботажными элементами; 6 - гидродинамический пылеуловитель с наложением магнитного поля; 7 -- ротоклон, первой ступенью которого является циклон-"матрешка"; 8 - простейший барботер со щелью для подачи воздуха; 9 -- ротоклон со щелью для подачи воздуха; 11--гидродинамический пылеуловитель со спиральными направляющими и щелью для подачи воздуха; 15 -- ротоклон, нижняя перегородка которого служит поплавком для поддержания заданного уровня воды; 16 -- ротоклон "Урал"; 17 -- двухступенчатый кольцевой ротоклон; 18 -- ротоклон А. Шандыбина; 23 -- ротоклон с бункером сбора шлама; 24 -- кольцевой ротогклон с бункером сбора шлама; 27 -- ротоклон с магнитной обработкой воды.

ного поля повышена эффективность работы ротоклона, показанного в клетке 6.

В зазоре между входной трубой и внутренними стенками корпуса ротоклона помещается слой железных опилок, поддерживаемый во взвешенном состоянии постоянными магнитами. Брызги и частицы пыли, не уловленные при барботировании, задерживаются в слое опилок.

В клетке 7 приведен ротоклон, созданный по типу "матрешки". Внутри размещенных по кругу сопл находится циклон. Запыленный газ поступает в него, где частично обеспыливается под действием центробежной силы, а затем проходит вторичную очистку в соплах ротоклона.

В ротоклонах второго ряда в клетках 8, 9 и 11 показаны те же конструкции, что и в клетках 1, 2 и 4, отличающиеся лишь тем, что для предотвращения брызгоуноса в их корпусах проложены щелевые каналы, соединяющие их полости с атмосферой. Когда внутри ротоклонов вентиляторы создадут вакуум, через щели в корпусе войдут плоские струи воздуха и отсекут выходные патрубки для, очищенного газа от зоны барботирования плотными воздушными завесами.

В третьем ряду таблицы представлены двухступенчатые ротоклоны, в которых воздух сначала проходит первую барботажную щель, где частицы пыли покрываются пленкой воды, сконденсировавшейся на их поверхности из водяного пара. Затем несколько утяжелившиеся частицы поступают во вторую щель, где и улавливаются.

Открывает ряд (клетка 15) ротоклон, узел барботирования которого выполнен из двух прямых перегородок, причем нижняя перегородка выполнена из легкого материала и одновременно выполняет роль поплавка регулятора уровня. При этом скорость проходящей в этом канале газоводяной смеси регулируется за счет опускания и подъема нижней перегородки. Второй ступенью очистки в этом ротоклоне служит расположенная под углом 90° к Щели плита, о которую разбивается водяной поток и где укрупненные частицы пыли оседают вместе с брызгами. Далее следует клетка 16. В ней показан ротоклон "Урал". Конструктивно он мало чем отличается от своих собратьев. Первая зона барботирования, за ней вторая.

Конечно, дважды промытый газ чище, чем промытый только один раз.

Мы проводили опыты на ферросплавном заводе по опробованию двухстадийной очистки газа. Было установлено, что в ротоклоне улавливаются довольно тонкие фракции ферросплавной пыли, и коэффициент полезного действия ротоклона оказался достаточно высок, однако золи с размером частиц меньше 1 мкм в нем не улавливались, В клетке 17 также показан двухступенчатый ротоклон кольцевого типа. Конструктивно он идентичен ротоклону "Урал", но и в нем аэрозоли не улавливаются.

В клетке 18 приведен ротоклон, разработанный инженером О. Шандыбиным и другими сотрудниками Московского пусконаладочного управления Министерства машиностроения для животноводства и кормопроизводства СССР. Преимущество этого ротоклона заключается в том, что узел его барботирования подвешен на эластичной вставке, как поплавок, и следует за всеми изменениями уровня воды. Газ хорошо очищается, "подныривая" под концентрические перегородки. Такой ротоклон не привязан к водопроводу и может быть передвижным.

И последняя графа таблицы. В ней ротоклоны разделены на две части: узел барботирования в них расположен отдельно, а бункер сбора шлама соединен с корпусом трубопроводами. Вода из узла барботирования по трубопроводу сливается в бункер, где из нее оседает шлам, после чего осветленная вода вновь идет в узел барботирования. Начинает этот ряд барботажно-вихревой пылеуловитель (ВВП). Принцип его конструкции лег в основу ротоклона "Урал", но ВВП в отличие от "Урала" более эффективен, так как в его узел барботирования поступает чистая вода.

Ротоклон в клетке 24 объединил в себе и эффект кольца, и эффект перелива. А в клетке 27 показан аппарат, объединивший в себе эффект кольца, эффект перелива и еще один интересный эффект, на котором следует остановиться особо, так как он применим почти ко всем ротоклонам. Специалисты по магнитной обработке воды выяснили, что если в отстойник залить сточную воду, предварительно пропущенную между несколькими постоянными или электрическими магнитами, то ее осветление значительно ускорится. Кроме того, прошедшая магнитную обработку вода более эффективно улавливает тонкие фракции некоторых видов пыли.

Магнитно-гидродинамическим ротоклоном таблица заканчивается. В принципе ее можно расширить, введя такие приемы технического творчества, как "наоборот", "наложение дополнительного эффекта", "наложение акустического и электрического полей" и т. д. Но для такой узкой области, как ротоклоны, я думаю, этого будет достаточно. Остались пустые клетки, в которые нетрудно поставить какие-нибудь новые ротоклоны. Возможно, они окажутся и более совершенными, чем известные.

МАГНИТНЫЙ ГИДРОУЛОВИТЕЛЬ

Во второй половине XVIII в. Старый свет облетело сенсационное известие -- парижский врач Месмер излечивает различные болезни с помощью намагниченной воды. На рекламных листках, иллюстрировавших это сообщение, были изображены представители французского высшего общества, приятно проводящие время у больших лоханей с водой. К лоханям подведены подковообразные магниты. Некоторые дамы и господа, принимая процедуры, одновременно наслаждались музыкой. Надо сказать, что Месмер приписывал целебные свойства не только чудодейственным "магнетическим флюидам", но и гипнозу и музыке.

Сейчас, по прошествии 200 лет, можно с уверенностью сказать, что Месмер действительно оказывал помощь своим пациентам, в особенности страдавшим нервными расстройствами, но его сгубила реклама. Сначала в Вене, а затем в Париже он наделал столько шума, приписав своему методу лечения такие небывалые успехи, что в 1784 г. король поручил Парижской академии наук создать компетентную комиссию по изучению метода Месмера. Комиссий, в которую вошли такие известные ученые, как Лавуазье и Франклин, установила, что вода в снабженных магнитами ваннах не могла оказывать никакого заметного влияния на здоровье людей, что никакого месмеровского животного магнетизма в природе не существует, а сам Месмер не более как шарлатан.

Но прошли годы, и многое из того, что Месмер пытался применить на практике, получило теоретическое подтверждение. Гипнозом стали лечить нервные расстройства. Даже музыка, которая Парижской Академии показалась уж совсем бесполезной, со временем нашла применение в медицине. И только магнитная вода так больше и не применялась...

XX век ознаменовался небывалым развитием тепловой энергетики. И появилась новая проблема -- защита труб и котлов от накипи. Чего только для этого не применяли! В котлы добавляли каустическую соду, порошок "антинакипин", смягчали воду в специальных аппаратах, фильтровали, заменяли конденсатом. При больших котельных появились даже специальные цехи для водоподготовки. И все равно, лишь только кончался отопительный сезон, десятки тысяч котлочистов, прихватив с собой специальные фрезы, направлялись в котельные.

В 30-х годах советские физики Р. Я. Берлага и Ф. К. Горский обнаружили неожиданный эффект: если насыщенный раствор солей поместить в магнитное поле, то процесс выпадения кристаллов изменится. Казалось бы, как может влиять магнит на среду, в которой нет и следов ферромагнитных частиц? Раз за разом ученые ставили опыты -- эффект существовал. Почему? Как? На основании каких законов? Все это было настолько необъяснимо, что дальше опытов дело не пошло и вскоре почти совсем забылось.

1945 год. Бурный послевоенный рост промышленного и жилищного строительства. И как гром среди ясного неба: в Бельгии открыт способ магнитной обработки котловой воды, предотвращающий всякое образование накипи. Приступили к выпуску небольших аппаратов, снабженных набором постоянных магнитиков, расположенных в трубопроводе попарно: одноименными полюсами друг к другу. Был налажен и выпуск приборов с электрическими магнитами. Они предназначались для обработки больших объемов воды. За короткое время было продано более 60 тыс. аппаратов. Опубликованы отзывы предприятий, на которых магнитные аппараты дали положительный эффект.

В 50-х годах в Институте горного дела имени! А. А. Скочинского под руководством профессор; В. И. Классена были проведены большие исследование по изучению смачиваемости различных веществ магнитной водой. Цель работы сводилась к усовершенствовании флотации -- основного способа обогащения руд. Принцип флотации заключался в том, что частицы минералов, находящиеся в водной суспензии, прилипали к мельчайшим пузырькам воздуха, продуваемого через дно аппарата, и вместе с пузырьками всплывали на поверхность. Поразительно, но факт, что, если воду предварительно обработать в магнитном поле, частицы к воздушным пузырькам прилипают значительно быстрее и прочнее.

Эффективность процесса повышалась на 20--50%. На медных, свинцовых и фосфорных рудах новый способ дал положительные результаты. Параллельно выявился еще один эффект: если в отстойник налить грязную сточную воду, предварительно пропущенную через магнитное поле, то процесс ее осветления значительно ускорится. Однако в данном случае осаждение происходит только при определенной напряженности магнитного поля. Например, до 160 эрстед скорость осаждения увеличивается, по достижении 200 -- снижается, а после 480 эрстед опять начинает расти. Почти так же влияет омагничивание воды на работу мокрых пылеуловителей барботажного типа. Их коэффициент полезного действия увеличивается.

И совсем уж странным кажется такое свойство магнитной воды: если на ней замешать бетонную смесь, то бетон не только быстрее затвердеет, но и прочность его возрастет в 1,5 раза.

Мне довелось беседовать с главным инженером одного завода железобетонных изделий.

-- Знаете ли вы,-- спросил я,-- что магнитная обработка воды, подаваемой в растворный узел, значительно повышает прочность изделий?

-- Еще бы! -- ответил он,-- Об этом писали в газетах, и не раз.

-- Почему же вы тогда не пользуетесь этим методом?

-- По двум причинам: во-первых, мы не знаем, какие требуются магниты и где их можно достать; во-вторых, магнитная обработка почему-то не всегда дает положительный результат, а у нас все-таки завод, а не опытный полигон. Вот когда ученые сами разберутся, разработают типовые магнитные аппараты, составят инструкции по их применению, а из технического управления придет соответствующее указание, вот тогда мы с радостью внедрим их на всех участках. А пока...

Точно так же обстоят дела и на заводах, изготовляющих силикатный кирпич. Есть опытные данные, подтверждающие, что магнитная обработка воды, на которой замешивается раствор, повышает прочность кирпича. Данные обнадеживающие, но... До массового внедрения магнитной обработки воды и здесь еще далеко.

Что же получается? На тысячах заводов, где магнитная обработка могла бы сэкономить нашему государству десятки, а может быть, и сотни миллионов рублей, рассуждают так, как мой знакомый главный инженер, И лишь на некоторых, где работают энтузиасты, способ внедрен и дает большой экономический эффект. Методом проб, различных экспериментов новаторы находят оптимальные магниты, кустарным или полукустарным путем мастерят аппараты и успешно их эксплуатируют.

Заслуживает изучения опыт Московского чугунолитейного завода имени Войкова. На этом предприятии выпускали паровые и водогрейные котлы "Универсал", отопительные батареи и арматуру -- как раз те самые устройства, которые более других подвержены воздействию накипи. Но если большие котлоагрегаты и снабжены какими-то аппаратами для химической очистки воды, то относительно малых единственное, что помогает им в борьбе против накипи,-- загрузка в котлы реагентов, смягчающих воду. И тем не менее каждое лето на несколько недель приходится прерывать подачу горячей воды потребителям и производить генеральную чистку. "А что если использовать для котлов "Универсал" магнитные устройства?" -- подумали на заводе. Они не требуют затрат на эксплуатацию, стоимость их не выходит за пределы нескольких десятков рублей, иными словами, они в сотни раз дешевле, чем аппараты химической очистки, да и не требуют больших площадок, что тоже немаловажно при установке отопительного оборудования. Энтузиасты изучили все "за" и "против" и решили сделать небольшую серию аппаратов, которые входили бы в комплект поставки к паровым котлам "Универсал". За образец они взяли предложенный изобретателем М. Я. Цикерманом аппарат, который представлял собой ярусный набор стаканчиков с перфорированными донышками, соединенных между собой на резьбе. Внутри каждого стаканчика размещался постоянный магнит. Но стенки стаканчиков были изготовлены не из цветных металлов, как это делалось раньше, а из обычного серого чугуна. Казалось бы, весь эффект магнитной обработки должен свестись к нулю... На самом же деле он увеличился почти вдвое. Магнитные силовые линии, как по путепроводу, прошли по стенкам стаканчиков и образовали в кольцевом зазоре у полюсного наконечника мощные магнитные поля, в которых происходит обработка воды. Аппараты удобно монтировались на трубопроводах внешней обвязки котла, легко разбирались для прочистки и практически не занимали места.

Вскоре после проверки опытных образцов были изготовлены и отправлены потребителям первые 30 аппаратов для паровых котлов. Вот выдержки из официальных отзывов: "Поверхности нагрева котлов, оснащенных магнитными аппаратами, накипью не покрываются", "Вскрытие котла показало, что за отопительный сезон накипи не образовалось", "Соли жесткости выпадали из воды не в виде накипи, а в виде рыхлого шлама, который удалялся из котла продувкой".

Слава о чудодейственных свойствах войковских магнитных аппаратов быстро распространилась. Десятки тысяч аппаратов уже сейчас используются не только в городах, но также в совхозах и колхозах, где котлы необходимы для отапливания коровников, свинарников и тепличных помещений. Были изготовлены магнитные аппараты, предотвращающие образование накипи даже в двигателях тракторов.

О магнитных аппаратах прослышали на Останкинском пивоваренном заводе. Накипь -- бич бутыломоечных машин. Горячая вода выделяет столько накипи, что слесари едва успевают ее счищать. Пищевики обратились за содействием к чугунолитейщикам. И помощь была получена.

Конструкция аппарата для этой машины крайне проста. Между двумя рядами постоянных магнитов, замкнутых П-образным магнитопроводом, проложена частично сплюснутая магнитопроницаемая труба. Протекая в ней, вода пересекает магнитное поле и омагничивается. Результаты блестящие. В бутыломоечной машине не только не образовывалась новая накипь, но и разрушалась старая. Более того, качество мытья бутылок значительно возросло. Можно подумать, что омагниченная вода приобрела какие-то добавочные моющие свойства. Опять загадка...

Однако далеко не с каждой водой достигается желаемый эффект. Вода из некоторых рек и артезианских скважин даже после омагничивания образует накипь, поэтому повсеместно отменять химическую защиту и переходить на магнитную обработку воды рискованно. Весной, например, магнитная обработка воды удается значительно хуже. Возможно, причина здесь в изменении солевого состава воды.

Омагничивание воды даже при положительном эффекте влечет за собой образование большого количества шлама, который может выпадать в коллекторах и барабанах котла. Нужно изобрести надежную и эффективную ловушку для шлама.

"А что если попробовать использовать омагниченную воду в системе барботажного пылеуловителя? -- подумал я.-- Ведь, несмотря на его высокую эффективность, частицы самой тонкой пыли все же вылетают в атмосферу!"

Чтобы определить, при какой напряженности магнитного поля будет получена наиболее эффективная степень очистки, пришлось сделать небольшой электромагнит и скомпоновать его с прозрачной моделью гидродинамического пылеуловителя. В результате выяснилось, что 300 эрстед -- оптимальная величина для напряженности магнитного поля для воды, идущей в барботер. Коэффициент очистки воздуха, запыленного тонкими фракциями размолотой глины, повысился с 92 до 99%.

Пришло время от экспериментальной установки переходить к промышленной. Поскольку на Московском чугунолитейном заводе имени Войкова уже имелись действующие гидродинамические пылеуловители и было налажено изготовление магнитных аппаратов для обработки воды, внедрять новую установку решили там. Результат сказался при первых же испытаниях. Омагниченная вода, залитая в бункер емкостью более 40 м3, буквально притягивала самые тонкие частицы пыли. Кроме того, выявилось еще одно положительное качество -- шлам буквально на глазах отслаивался от воды. Так что барботирование запыленного воздуха постоянно велось через чистую воду, а не через шлам.

Магнитной обработкой воды можно повысить эффективность действия не только барботажного, но и оросительного пылеуловителей. Только в каждом отдельном случае нужно правильно выбрать тип магнитных аппаратов и проследить, чтобы паспортная производительность по воде соответствовала той, которая заложена в проекте пылеуловителя.

МАГНИКЛОНЫ ИЗМОДЕНОВА

Магниклон, как антициклон и ротоклон, относится к новым и пока что малоизученным пылеуловителям. Автор этого класса аппаратов кандидат технических наук Ю. Измоденов -- заместитель директора Научно-исследовательского и проектного института по газоочистным сооружениям, технике безопасности и охране труда в промышленности строительных материалов. Для удобства поиска новых решений в этой области он также составил пери-

Рис. 9. Периодическая система магниклонов:

2 -- магнитный коагулятор на постоянном токе; 3 -- магнитный коагулятор на переменном токе; 4 -- магнитный коагулятор с вращающимся магнитным полем; 6 -- сухой магнитный скруббер с постоянными магнитами; 7 -- сухой магнитный скруббер на постоянном токе; 11 -- мокрый магнитный скруббер с постоянными магнитами; 12 -- мокрый магнитный скруббер на постоянном токе; 13 -- мокрый магнитный скруббер на переменном токе; 16 -- магнитный фильтр с постоянными магнитами; 17 -- магнитный фильтр на постоянном токе; 18 -- магнитный фильтр на переменном токе; 19 -- магнитный фильтр с вращающимся магнитным полем; 20 -- магнитный фильтр с применением акустического поля; 22 -- электромагнитный фильтр на постоянном токе; 23 -- электромагнитный фильтр на переменном токе

одическую таблицу. В ней аппараты подразделяются в зависимости от источников питания -- способа создания магнитного поля по вертикали и от класса пылеотделителя по горизонтали (рис. 9).

Таблица открывается классом магнитных коагуляторов, которые представляют собой аппараты предочистки. Эти устройства, установленные перед фильтрами, скрубберами, циклонами, существенным образом повышают эффективность их работы. Дело в том, что магнитная коагуляция тончайших фракций пыли делает их легкоулавливаемыми.

Магнитные коагуляторы могут работать как на постоянном, так и на переменном токе. Переменный ток, вращающееся или бегущее магнитное поле более предпочтительны, так как устраняют осаждение ферромагнитных частиц в рабочей зоне аппарата. Несколько сложнее решается этот вопрос при постоянном токе. В этом случае необходима система автоматики для периодического отключения электромагнитов.

И совсем плохо обстоит дело при использовании постоянных магнитов. Не случайно поэтому квадрат под номером 1 остается пустым. Если, решить эту задачу, то промышленность получит энергетически наиболее выгодный вариант -- ведь постоянные магниты не требуют расхода электроэнергии...

Значительное место в таблице отводится магнитным скрубберам, которые условно подразделяются на два класса -- сухие и мокрые. Квадрат 6 занят циклоном, функционирующим с применением магнитной "затравки". Магнитная "затравка" способствует повышению эффективности улавливания тонких фракций пыли (как магнитной, так и немагнитной). Отделение магнитной "затравки" осуществляется с помощью магнитного сепаратора, который запрограммирован так, чтобы рециркуляция "затравки" как по количеству, так и по качеству удовлетворяла оптимальному режиму работы данного комплекса. Устройства в квадратах 6 и 7 очень близки по функционированию и делятся чисто условно.

Термин "сухой скруббер" заимствован у американцев, которые на III советско-американском симпозиуме, посвященном защите окружающей среды от вредных твердых частиц, рассказали об аппаратах этого класса, но без применения магнитного поля и без магнитной "затравки". В перспективе развитие этого класса аппаратов позволит заполнить квадраты 8, 9 и 10. Более изучены мокрые магнитные скрубберы.

Квадрат 11 занимает аппарат, преимущество которого состоит в использовании постоянных магнитов, компактности системы и простоте конструкции.

Значительный интерес представляет конструкция аппарата под номером 13. Рабочий орган выполнен в виде сотообразной решетки из немагнитного материала. Каналы решетки расположены вдоль силовых линий поля магнитной системы, причем в каждом канале свободно размещено ферромагнитное тело шарообразной формы, которое под действием магнитнрй силы и напора газового потока приобретает возвратно-поступательное движение. При этом с максимальной эффективностью реализуется инерционно-ударный эффект.

Магнитные фильтры наиболее полно представлены в квадратах 16--20. Показанные там магнитные фильтры -- это улучшенный вариант гравийных фильтров. Наложение магнитных полей повышает эффективность очистки газов при значительно меньших гидравлических потерях, повышает пылеемкость аппаратов. Родоначальник магнитных фильтров представлен под номером 17.

Квадрат 20 занимает аппарат для очистки воздуха от тонкодисперсной пыли с применением комбинированного воздействия магнитных и акустических полей.

Последняя колонка таблицы заполнена комбинированными устройствами или электромагнитными фильтрами.

Разумеется, предложенная таблица не отражает всех конструктивных возможностей этого направления, и целью автора было создание системы, которая увязывала бы то, что уже есть, и то, что еще появится. Тем более, что разработка и развитие магнитного способа газопылеулавливания относятся к области, в которой могут испытать свои силы специалисты многих профилей. Здесь есть над чем подумать физикам, математикам и механикам, электромеханикам и энергетикам, тем, кто занимается процессами и аппаратами очистки.

НАЛАДЧИКИ ЧИСТОГО ВОЗДУХА

КАК ЭТО НАЧИНАЛОСЬ

Наладчик наладчику рознь. Есть наладчики ткацких станков, токарных автоматов, аппаратов контактной сварки. Люди это деловые, эрудированные, их быт мало чем отличается от быта других рабочих завода. Живут они дома и работают на одном месте. Но речь пойдет не о них, а о так называемых "бродячих" настройщиках вентиляции, вентиляторов и дымососов.

До революции не было таких наладчиков. Если хозяин замечал, что дела на фабрике стали идти хуже, он посылал за хорошим инженером. Таким инженером, которого самому в штате держать было накладно. Подъезжал господин в фуражке с золотыми молоточками, заходил в цехи фабрики, кое-что расспрашивал у рабочих, а через день-два ставил исчерпывающий диагноз болезни котельной установки. Говорят, ошибки были крайне редки.

Потом появился трест "Тепло и сила". В нем объединили старых инженеров, добавили к ним стажеров, сколотили бригады наладчиков, стали проводить узкую специализацию. Один -- химик, специалист по анализу воздуха, другой -- главный по воздухообмену, третий -- специалист по вентиляторам.

Огромные заводы сходили, как с конвейера. Насыщенные механизмами и автоматикой, они требовали квалифицированного пуска и наладки. Кто-то должен был дать эксплуатационникам общее направление, режимную карту, подробный инструктаж. И тогда был создан ОРГРЭС. Институт не институт, но институты к нему за советом и опытом ходили. Собрались там "киты", каждый из которых не только знал, но и умел. Наладчик должен обладать особыми качествами: быть коммуникабельным, т. е. сразу по приезде легко сходиться с эксплуатационниками, быть смелым и решительным, но без отчаянности. Любой рискованный поступок должен быть тщательно взвешен и рассчитан. Приехав в какой-нибудь райцентр, наладчик с первого дня начинает встречаться с непредвиденными ситуациями. Истинный путь -- один, а заблуждений -- тысяча. Каждое из них грозит смертельной опасностью. Крыса забралась в трубопровод. Кто-то в воздуховоде забыл телогрейку. Упали на сборку пассатижи... На решение задачи со множеством неизвестных порой отпускаются секунды. Как гром среди ясного неба, вдруг во время пуска раздается оглушительный рев пара, и наладчик мчится навстречу спасающимся машинистам водосмотра, обжигая руки, привязывает рычаг клапана и усмиряет пар.

Мне пришлось работать по наладке в 50-е годы. Тогда наладочные организации можно было по пальцам пересчитать: Энергохимпром, Энергоцветмет, Энергочермет, Энергобум и еще несколько контор. Пускали котлоагрегаты "Митчел", "Бабкок и Вилькокс" и, естественно, свои прямоточные системы Рамзина. Да всего и не припомнишь. Послевоенная суровая зима застала меня в Верхнем поселке Волгоградского тракторного завода. Комната в общежитии с дырой от снаряда, заткнутой старым одеялом. На самодельной электроплитке -- общая наша трапеза.

Субподрядчиками нас называли потому, что в Волгоград мы приехали по договору со строительной организацией, которая величалась генподрядчиком, для наладки вентиляции и доведения ее до проектных данных.

Кто же учил наладчиков того времени? Да, по сути дела, никто. Одна надежда -- разберешь, потом поймешь. Была у нас книга инженера В. И. Поликовского "Вентиляторы, воздуходувки и компрессоры", изданная в 1938г. Энергоиздатом. Эта первая наша книга по сей день нам кажется образцом того, как нужно писать на научно-технические темы. Вот ее начало: "Состояние воздуха определяется: 1) давлением; 2) температурой; 3) влажностью". Ясная и четко изложенная мысль. У Поликовского говорилось, что для измерения давления воздуха служат микроманометры, подсоединенные к трубкам Пито. Обошли все заводские лаборатории, о подобных приборах никто не слышал. Как быть?

Когда формировалась бригада наладчиков, начальник теплотехнического цеха предложил нам взять к себе с испытательным сроком одного выпускника ремесленного училища. С образованием у парня было не ахти (наладчику нужно иметь хотя бы техникум), но по специальности -- слесарь-лекальщик пятого разряда.. Вот он-то и взялся сделать без чертежей, только по картинке из книжки, трубку Пито и микроманометр.

Когда же он взялся за дело и за полдня смастерил великолепную трубку, все только ахнули. Вот это парень! С таким же блеском был сделан и микроманометр. Часть деталей он сам и выточил на токарном станке, сам и отфрезеровал и сварил газовой сваркой. Теперь можно проводить замеры. Кстати, сейчас он кандидат наук, доцент.

Микроманометр и трубка Пито -- классические приборы. Без изменений они сохранились и у теперешних наладчиков. Трубки Пито служат для измерения давления воздуха, проходящего через короба и трубопроводы. Особенность таких трубок в том, что они разделены на два канала: один соединен с носиком, направленным навстречу потоку воздуха, другой -- с боковыми отверстиями. Первым отверстием, направленным навстречу потоку, измеряется полный напор воздуха, состоящий из динамического и статического давлений, боковыми отверстиями -- только статический напор. Микроманометр -- прибор с резервуаром, залить спиртом, и стеклянной наклонной трубкой. Резервуар подсоединяется резиновым шлангом к носику трубки Пито, а стеклянная трубка -- к ее боковым отверстиям. Конечно, в книжку Поликовского мы уверовали от "а" до "я", но все же где-то шевелился червь сомнения. А вдруг что-то не так, а вдруг не получится. Наконец установили в воздуховоде трубку Пито, подключили ее к микроманометру и нажали кнопку "Пуск". Вентилятор взвыл, и спирт в стеклянной трубке поднялся до деления 20 мм. Это обозначало разницу между полным и статическим давлением и называлось динамическим напором. Нужно было извлечь из этой величины квадратный корень и умножить на 4,04. Получилась скорость, равная 18 м/с. Оставалось помножить эту величину на площадь сечения воздуховода, равную 1 м2, и на 3600 с, содержащихся в часе. Получилось, что производительность вентилятора равна 64800 м3/ч. Еще и еще мы проводили это нехитрое измерение. В ту пору оно казалось нам замечательным. По проекту полагалось, чтобы производительность этого вентилятора составляла только 50 тыс. м3/ч. Отрегулировать производительность вентилятора изменением числа оборотов не составляло труда.

После тракторного завода были еще десятки объектов, но до мелочей запомнился именно он -- первый, неповторимый.

Наладчики -- народ кочевой. Приехали на один завод к самому пуску. Осмотрели оборудование, все ли соответствует проекту. Составили ведомость дефектов и недоделок, если таковые обнаружатся, отбалансировали роторы вентиляторов, проверили работу, шиберов. В эти первые дни наладчики работают "на авторитет". Сумели обнаружить серьезные дефекты монтажа -- эксплуатационники будут их уважать, и в дальнейшем слово наладчиков для них -- закон. А если проглядели, растерялись беда. Долго еще придется завоевывать популярность.

СЛЕСАРИ ИЛИ ИНЖЕНЕРЫ

Наладчик на заводе, как врач у больного. Он должен уметь во что бы то ни стало поставить правильный диагноз. В одном московском пусконаладочном управлении наладчики, чтобы быстрее поставить диагноз работе вентиляторов, сконструировали зонд точь-в-точь, как у врачей. На одном конце лампочка, на другом -- окуляр. Зонд вводится внутрь вентилятора, зажигается лампочка, и через окуляр наладчик просматривает ротор и диффузор. Большое значение придается зазору между краем диффузора и кольцом ротора. Если этот зазор слишком велик, через него будет вхолостую циркулировать поток воздуха. Практически величину этого зазора нужно отрегулировать до 0,01 диаметра ротора. Например, при диаметре 1000 мм зазор должен быть равен 10 мм. Этим же зондом можно проверить правильность установки лопастей вентилятора, степень их износа и чистоту. Кроме того, был разработан еще ряд приспособлений для измерения давления, скорости и влажности воздуха. Вот, например, устройство, позволяющее измерять размеры воздуховодов одному человеку без помощника. К концу рулетки крепится маленький магнитик. Стоит приложить его к металлическому воздуховоду, и он буквально прилипает к нему. Остается протягивать ленту рулетки и измерять длину и окружность воздуховодов.

Как-то я беседовал с начальником управления Мосстроймашавтоматизация.

-- Наша организация,-- сказал он,-- обслуживает машиностроительные заводы Москвы и области. Круг заказчиков сложился. Наладчиков же наши учебные заведения не готовят. Для них самое главное -- опыт, интуиция, глубокое знание производства и умение творчески и порой на лету решать вопросы, которые ставит эксплуатация.

Где берем таких? И сами приходят, и мы ищем, приглашаем из наиболее способных производственников, монтажников, проектировщиков.

Наладчики -- специалисты высшей квалификации. Оно и понятно, ведь наладчик одновременно и проектант, и исследователь, и слесарь, и жестянщик. Воспитать такого специалиста нелегко и нескоро. Трудно сказать, легче ли изучить аэродинамические и теплотехнические расчеты или мастерство жестянщика. Ведь кроить железные листы нужно тоже по формулам. Ребята, пришедшие из ГПТУ и получившие там специальность слесарей-вентиляционников, геометрию знают назубок и могут по науке раскроить и сделать воздуховоды любой сложности. Рядом с ними работают и старые мастера, которые не заглядывают в справочники и не утруждают себя расчетами. Крой и соединение "в замок" превратились для них в своего рода автоматизм. Чувство металла само подсказывает, с какой силой и куда нужно ударить киянкой. Но вот окончили изготовление системы воздуховодов, .смонтировали вентилятор, подключили калориферы. Остается пуск. Те же самые слесари-наладчики превращаются в испытателей.

По уровню устанавливается микроманометр, теперь уж не самодельный, а фирменный, резиновыми шлангами к нему подключается трубка Пито, включается вентилятор и начинается снятие аэродинамических характеристик. Один наладчик устанавливает в воздуховоде трубку Пито, другой командует ему: "Раз!" В ответ слышит: "Есть -- раз!" -- и записывает показание динамического напора. "Два!" Тот передвигает трубку в другое место воздуховода. "Есть -- два!"

Зачастую слесари-наладчики работают рядом с техниками и инженерами. Вопрос о том, кто главней, здесь не возникает. Принцип такой: кто лучше умеет в данное время выполнять данную работу -- тот и главнее. Того и слушают остальные. Когда, к примеру, жестянщик ведет разметку железного листа, он как хирург в операционной. Ловкие взмахи острой чертилки, жужжание виброножниц. Остальные только успевают ему помогать. Но вот пришло время устанавливать на пружинные опоры вентилятор, тут главный -- слесарь. Если необходимо составить чертежи, к кульману встает тот, кто силен в этом деле. Но узкой специализации здесь нет. Каждый наладчик может и кроить металл, и делать воздуховоды, и выполнять расчеты.

Одна из бригад вела наладку вентиляции на крупном машиностроительном заводе. Завод постоянно растет. Отсюда и увеличение выделяющихся в атмосферу цехов вредных газов. Следовательно, нужно постоянное совершенствование вентиляции.

-- Довольны ли вы работой наладчиков? -- задал я вопрос главному энергетику завода.

-- Конечно, ведь если действовать по всем правилам науки и техники, прежде всего нужно, чтобы проектный институт разработал тома чертежей, на основании которых СМУ смонтирует вентиляцию, а НИИ испытает ее и сдаст санэпидстанции, которая определит санитарно-гигиенический эффект. Но для выполнения этих работ потребуются годы. Бригада же наладчиков все эти работы выполняет в течение нескольких месяцев, а то и недель. Правда, зачастую они работают по эскизам, а не по настоящему проекту. Эскизы тут же составляют сами инженеры-наладчики, зато поправки в эти эскизы вносятся в процессе работы, обсуждаются тут же на месте. Сразу же после изготовления вентиляционной системы ее испытывают и налаживают. Конечный результат -- отбор проб воздуха и химический анализ. Проведение работ такими комплексными наладочными бригадами, пожалуй, и есть наиболее оперативный и современный метод борьбы за чистый воздух на производстве.

А вот мнение главного инженера московского пуско-наладочного управления:

-- Для успешной работы бригад наладчиков необходимо прежде всего доверие к исполнителям. Мелочная опека, многоступенчатое согласование каждого чертежа приводят к потере времени, во-первых, и к притуплению личной инициативы, во-вторых. Оценку труда наладчиков необходимо вести по конечному результату. Зачастую наиболее активные товарищи приносят в наше бюро изобретательства и рационализации свои предложения, направленные на повышение эффективности вентиляции. Порой бывает трудно сразу правильно оценить их эффективность. Действительно, ведь рационализаторское предложение -- это новинка, судить о которой можно лишь умозрительно. Но, как правило, рацпредложения наладчиков на техническом совете принимаются.

ВИХРЕВОЙ ОТСОС И... РОМАНС ЧАЙКОВСКОГО

История с этим изобретением начиналась так. Работал я тогда на машиностроительном заводе. Механосборочный цех повысил производительность труда. Сам по себе факт отрадный. В цехе изготовлялись пневмотранспортеры для перекачки цемента, заменяющие труд десятков, даже сотен тысяч грузчиков. Но... одновременно с производительностью труда возросло и количество выделяемых в цех вредностей: окиси углерода, марганца и Других аэрозолей. Над рабочими местами электросварщиков стояло марево, а люди продолжали перевыполнять план.

Заместитель главного энергетика О. А. Сергиенко много лет проработал инженером на этом заводе и знал производство досконально. К нему-то и обратились наладчики за советом. Все методы по регулировке вентиляции сварочного отделения были перепробованы, производительность вентилятора доведена до максимума.

-- Попробуйте сконструировать для электросварочных постов новый, более эффективный отсос,-- посоветовал Сергиенко наладчикам.-- Покопайтесь в патентах, поэкспериментируйте. Помните, что надежно действующая панель для вентиляции сварочных постов нужна всем предприятиям нашего министерства. И, вообще, давайте добиваться того, чтобы наш завод превратился в образцовое предприятие по состоянию воздушной среды на рабочих местах. Тресту такая задача оказалась по плечу.

Поисковые работы в Государственной научно-технической патентной библиотеке на первых порах не дали ничего. Среди описаний изобретений встречались наклонные зонты с решетками из уголкового железа, нижние, спрятанные под полом системы отсосов, эжекторы, прикрепляемые к свариваемой детали. Мои блокноты, которые я взял с собой в библиотеку, заполнились набором вентиляционных устройств. Но однажды в очередной визит в библиотеку в моих руках оказалось описание местного отсоса "Торнадо", разработанного в США. Все устройство было не больше суповой тарелки и закреплялось на электрододержателе. Наутро показали чертеж главному энергетику.

-- Нет, ребята,-- печально заметил он,-- это дело не пойдет. Сварщиков раздражают каждые лишние граммы, которые прибавляются к весу электрододержателей. А тут шланг для сжатого воздуха, улитка. Вообще-то, идея использования вихря хороша, но нужно сделать так, чтобы сам вихрь действовал где-нибудь в стороне, не утяжеляя инструмента.

Вечером по радио передавали концерт из произведений Чайковского:

Растворил я окно,-- стало грустно невмочь,

Опустился пред ним на колени,

И в лицо мне пахнула весенняя ночь

Благовонным дыханьем сирени.

"Интересно,--думаю,--почему человек опустился на колени перед окном? У окна удобней стоять, можно сесть на подоконник. В чем же секрет? Может быть, все дело в законах вентиляции?" Открытый проем окна не может весь работать на приток или на вытяжку. И в том и в другом случае в комнате скоро наступит равновесие воздушной среды. Давление воздуха в комнате или повысится до такой величины, когда дальнейший приток воздуха прекратится или, наоборот, снизится настолько, что его станет невозможно отсасывать. Но ведь с незапамятных времен люди проветривали помещения через окна, и форточки. Как распределяется в комнате температура? Естественно, теплый воздух скапливается вверху. Открыли окна -- теплый воздух из-под потолка, как более легкий, потянулся на улицу. В помещении создалось разрежение. Следовательно, с улицы начнется приток свежего воздуха. И поступать Он будет через нижнюю часть оконного проема. Итак, единственно правильное положение, при котором человек вдыхает максимум аромата сирени,-- это коленопреклоненная поза...

Видимо, по этому же принципу должна работать и система вентиляции на посту электросварщика? Горячие газы, как более легкие, начнут подниматься вверх. При этом возникнет восходящий ток. Для возмещения его снизу начнется подсос окружающего воздуха. Поскольку поблизости цветущей сирени не предвидится, взамен нее подсосутся успевшая остыть сварочная аэрозоль и окись углерода, попросту -- угарный газ. Чем ниже сварщик склоняется над свариваемой деталью, тем больше вероятности попадания под щиток вредностей. А в отсосе "Торнадо" работает вихрь. Прямо от электросварочной дуги, как воронка в ванне, поток аэрозолей устремляется в улитку. Вот если бы заставить такой вихрь работать не в электрододержателе, а под зонтом электросварочного поста...

Отдаленно вихревой отсос напоминал раскрытое окно со встроенными в него сильно увеличенными цветками сирени. Их пестики буквально свисали над сварочным столом, похожим на подоконник. Вокруг пестиков жестянщик наклепал по шесть лепесткрв. Идея заключалась в том, что при возбуждении тяги горячих газов возникнет четыре потока. Два больших с малой скоростью войдут между лепестками и образуют вихри, а два меньших, увлекаемые вихрями, ворвутся в пестики. Вначале по этой идее переделали только один отсос от электросварочного поста. Работу закончили поздно, но уходили неохотно.

Бывают такие моменты в жизни наладчиков, когда они с нетерпением ждут утра. Скорей бы началась смена,

Рис. 10. Вихревой отсос:

1 -- стол электросварщика; 2 --

сопло; 3 -- панель; 4 -- конус;

5 -- завихривающие лопасти

чтобы включить вентиляцию и увидеть эффект от ее работы. Электросварщики пришли в цех и немножко оторопели при виде необычной вентиляции (рис. 10). Когда же включили тягу, удивление достигло предела. Поток газов, ранее уходивший вверх, вдруг сгруппировался в плотный жгут, повернулся почти под прямым углом и нырнул в пестики.

"Не может быть! Здесь что-то не так!" Прибавили ток, но эффект от этого только усилился. Чем сильнее горела сварочная дуга, тем эффективней ее засасывали пестики "цветков сирени". Как бы ненароком наладчики один за другим подходили посмотреть на дело рук своих. Наконец, кого-то из сварщиков прорвало: "Ну что ходите? Делайте еще такие отсосы! Люди жизнь наконец увидели!"

У представителей каждой специальности есть свои звездные часы. У артистов -- удачные выступления, у врачей -- моменты, когда в болезни пациентов наступают переломы к выздоровлению, у портных -- радость заказчика, впервые увидевшего отлично сидящий на нем костюм. Счастье наладчиков не сравнить ни с чем. По нескольку раз в день они могут подходить к установке, которая облегчает людям дыхание.

В течение нескольких дней все панели равномерного всасывания, которые до этого применялись в сварочном отделении, были заменены на вихревые отсосы. Об этом было рассказано в технической литературе. На завод началось паломничество специалистов.

А наладчики? На одном и том же объекте подолгу они не работают. Одного направили на чугунолитейный завод, где нужно было срочно разработать новую систему пылеулавливания, другого -- помогать совхозным механизаторам пустить в действие центральные ремонтные мастерские, третьего -- на ВДНХ СССР для наладки системы кондиционирования воздуха в павильоне "Научно-техническое творчество молодежи".

Для наладчиков вентиляции малых дел нет. И уметь они должны все, начиная с замысла, кончая пуском. Недаром же каждый начальник монтажно-наладочного участка воспитание специалиста-наладчика считает своим наипервейшим делом.

Отбор подходящих кандидатов в наладчики ведется постоянно. Здесь важно все: и общая развитость, и умение быстро принять правильное решение, и легкость на подъем, и усидчивость. Ведь после выполнения наладочных работ нужно суметь подсчитать эффективность и написать толковый отчет...

Да, лучшие наладчики все же получаются из лучших слесарей-монтажников.

МОНТАЖНИК -- СПЕЦИАЛЬНОСТЬ ТВОРЧЕСКАЯ

Раздался телефонный звонок: "Собирайся, завтра нужно срочно выехать на завод, где внедряется твой пылеуловитель!" Что поделаешь, хоть и не входило это в мои планы, а ехать нужно. Ведь монтировались газоочистные сооружения с автоматикой и контрольно-измерительными приборами. Утром я был уже на объекте.

Бригадира монтажников Анатолия Кучеренко застал в общежитии за странным занятием: он мастерил из детского конструктора какую-то лестницу.

-- Я к вашим услугам. Как говорил у нас в ПТУ один преподаватель, готов дать на любой вопрос любой ответ. Как стал монтажником? Честно говоря, никогда и не мечтал и не думал. С детства хотел быть электронщиком. Схемки собирал, диоды, триоды, проволочки. По окончании ПТУ меня в одну солидную фирму хотели направить. А тут ребята из нашего же училища приглашают: "Давай, с нами на Волгу! Будем автоматику импортную монтировать". Приняли меня слесарем-монтажником третьего разряда. Жить устроили всех в заводском общежитии. На заводе выделили бытовку, мастерскую и комнату для прораба. Всей гурьбой пошли в только что построенный корпус. Огромное здание, чистое, пустое. Эхо как в горах. Прораб разложил на подоконнике чертеж. Тут будет щит для приборов, тут труба. Вот тут тоже труба и сверху другая труба: система очистки типа "труба в трубе".

С тех пор более 20 объектов закончил и каждый раз робость берет. Голое здание, строительный мусор, а предстоит сделать настоящий цех. Зато когда уходим с объекта, на душе птицы поют. Бросишь последний взгляд на заводские трубы, увидишь их чистое дыхание -- и радостно делается.

Когда я впервые на монтаж приехал, думал, приборами займусь, а предстояло сваривать из уголкового железа фланцы, монтировать кронштейны и разгружать машины со стальными листами. Разметили мы панель под приборы и давай автогеном резать. Не понравилось мне это дело. Автоген быстро режет, а получается некрасиво, Края отверстий все в подтеках, металл покороблен. "Давайте,-- говорю прорабу,-- я лучше дрелью высверлю по окружности. Все равно, пока сварщик режет, мы все стоим и глазеем". Начертил на панели окружность, накернил и просверлил по окружности 50 отверстий. А когда перемычки между ними зубилом вырубил, круг выпал. Еще предстояло обработать отверстие напильником. Измучился, зато окно получилось аккуратное. Один недостаток-- тяжело и .долго. Вечером у прораба в гостинице собрались всей бригадой. Как быть дальше: высверливать окна или все же резать автогеном? Нам ведь предстояло смонтировать 500 приборов. Если по половине человеко-часа тратить на каждый, год уйдет лишь на подготовку к монтажу. А нам за полгода нужно все смонтировать и под наладку сдать. Прораб сидит и задумчиво циркулем окружности на газете чертит. А я смотрю, как "козья ножка" пируэты выписывает, и глаз отвести не могу. А что если сделать большой циркуль, к нему прикрепить дрель вместо карандаша, сначала одно отверстие высверлить, а потом цилиндрической фрезой пройти по всему периметру...

На следующий день приспособление для фрезерования отверстий было готово. Скорость резания не меньше, чем у автогена, а качество и не сравнить: Ни волн, ни заусенцев! Прихожу в общежитие, а там -- сюрприз. Накрыт праздничный стол. Прораб монтажную каску мне вручает, а на ней гравировка в честь успешного окончания моего испытательного срока.

К сожалению, нередко бывает и по-другому. Поступит человек на работу, а в бригаде не приживается. Здесь он как на ладони, со всеми своими достоинствами и недостатками. А главное для бригады -- отношение к труду. Старается человек, не отлынивает -- свой. Если же, выполнив задание, другому помочь не хочет и новой работы не ищет, у него коэффициент трудового участия всегда будет меньше единицы.

Иной раз кто-нибудь посмотрит на бригаду и диву дается: "Сидят курят..." А это не "перекур". Опытные прорабы это понимают. Ошибочно думают некоторые, что на монтаже только физический труд в почете, а думать лишь инженерам положено. Мол, для монтажников есть строительные нормы и правила (СНиП), в которых все предусмотрено. Это верно, но никакие СНиП не могут предусмотреть всех обстоятельств монтажа. Поэтому, прежде чем поднимать тяжелую колонну, нелишне посидеть, подумать сообща. Один скажет, другой поправит, третий новую идею предложит. Час "прокурили" -- день сэкономили. Ведь потом, когда на крюке крана висит многотонный груз, спорить и обсуждать поздно.

Настоящий монтажник всегда в поиске. Как вы думаете, что за лестницу строил Анатолий из детского конструктора? Ему предстояло смонтировать насос для кондиционера. А все проходы закрыты. Побежал в "Детский мир", купил конструктор и собрал козлы в масштабе 1:10. Потом на спичечной коробке проверил, как переместятся нагрузки, если настоящими козлами перебросить насос.

Прораб Юрий Киселев в свое время закончил строительный техникум. Учился заочно. Вечные задолженности из-за командировок. И казалось, что много приходится изучать такого, что в жизни никогда и не пригодится. Например, какую нагрузку выдержит лед на сжатие.

Но вот однажды пришлось Киселеву монтировать мощный турбоциклон. Огромный ротор нужно было с величайшей осторожностью положить на подшипники, а мостовой кран так расположен, что целых 1,5 метра от него до фундамента не хватает. Тащить расчалками? Можно повредить шейки вала. Тут-то и возникло у Киселева оригинальное решение. Сделали из досок две опалубки, выключили отопление в цехе, открыли ворота и залили опабулки не бетоном, а водой. Получились две ледяные призмы. На них-то и положили ротор, а потом легко подвинули его на место. Вот и все. Осталось только растопить лед. Ротор нежно, как ребеночка в люльку, положили, слегка подогревая шейки вала газовыми горелками.

Нет ничего практичнее, чем хорошая теория. Знание физических законов слесарю всегда может пригодиться. Как-то новичку поручили проверить гору гальванометров, предназначенных для монтажа. Работа не мудреная, но хлопотная. Пока все приборы к стенду перетащишь, пока обратно. Однако без проверки никак нельзя -- в дороге приборы могли пострадать. Думали, дня три парень будет этим делом заниматься. А он через час докладывает: "Задание выполнил!" Оказывается, взял он два куска провода: один медный, другой алюминиевый, поплевал на пальцы и давай прикладывать импровизированную термопару к клеммам приборов. Отклонилась стрелка -- рамка и катушка при перевозке не пострадали; стоит на месте -- нужен ремонт.

-- Как же ты додумался?-- спрашивает бригадир.

А новичок применил эффект Зеебека, который в ПТУ изучали. Прибор, соединенные с его клеммами два провода из разных металлов и человек, играющий роль "горячего спая", с температурой 36,6 °С -- вот и вся термоэлектродвижущая сила!

Конечно, всех случайностей не предусмотришь. Но в бригадах издавна заведен обычай разыгрывать новичков. Это как бы проверка на сообразительность и своеобразный тренинг. Даст, к примеру, бригадир лист тонкой жести и круглый напильник: выпили, мол, квадратное отверстие пятьдесят на пятьдесят.

Крутит, вертит новичок лист жести и круглый напильник, чувствует подвох, а сообразить не может.

-- Ну что, сдаешься? -- смеется бригадир.-- Смотри и запоминай. В будущем пригодится. На монтаже с инструментом негусто. Порой и круг выпиливаем плоским рашпилем и квадрат -- круглым! -- Складывает жесть вчетверо и зажимает в тиски так, что из них выглядывает только уголок. Потом берет круглый напильник и спиливает уголок заподлицо с губками тисков. Разворачивает жесть -- и вправду в центре листа выпилен аккуратный квадратик.

Научиться творческому подходу к решению технических задач вузовский учебник не поможет. Допустим, бригаде поручено поднять дымовую трубу. Все на местах, лебедки уже приподняли вершину, основание уперлось в подпятник, а одна расчалка зацепилась за болт. "Руби!"-- кричит бригадир. А поблизости никакого упора. Думать бесполезно -- в горячке не придумаешь. Тут нужно четко знать, что в таких случаях зубило подставляют сзади проволоки, а молотком бьют спереди.

Хорошо, если с юных лет человек нашел свое призвание. Тогда на работу он спешит как на праздник. У него и рабочее место всегда в порядке, и инструмент, и сам он всегда подтянут. Настоящий слесарь за тисками не горбится, молоток держит за нижнюю часть черенка, бьет, глядя на деталь, а не на зубило. Напильник держит строго параллельно.

Анатолия Кучеренко, когда он пришел в бригаду, тоже хотели разыграть. Поручили высверлить в стекле отверстие для прибора. Задание на проверку находчивости. Мастер дает стекло и пальцем показывает: мол, сверли здесь. Если новичок несообразительный, он пойдет к станку и будет мучиться, пока стекло не разобьется. А Анатолий взял стекло, положил на доску, насыпал на него наждачного порошка, а вместо сверла зажал в патрон медную трубку. Крупицы абразива попали между медью и стеклом, внедрились в срез трубки и образовали как бы алмазную коронку. Минута -- и готово отверстие в. стекле. Да такое ровненькое, залюбуешься! Вот тут-то и поняли в бригаде, что за человек Кучеренко. И рука у него поставлена, и голова соображает.

В ПТУ Анатолий Кучеренко учился на прибориста-электронщика, а работать ему пришлось на монтаже систем газоочистки и пылеулавливания. Не будучи скованным цеховыми предрассудками, он каждый раз по-новому решал возникающие в процессе работы вопросы. Мой приезд был вызван тем, что заказчик не смог вовремя доставить на монтажную площадку уголковое железо. А нужно было собирать аппараты, каркасы которых делают из уголка. Получался простой. В обед Анатолий забежал ко мне и прорабу Киселеву.

-- Вы все тут специалисты-монтажники, а я электронщик, и поэтому мне не стыдно чушь сморозить. Раз каркас делать не из чего, давайте аппараты собирать вообще без каркаса. Они будут легче и, конечно, дешевле.

Тут же у стола взял он лист бумаги, свернул по диагонали и склеил. Вот и все. Вместо уголка -- напряженная конструкция. А жесткость ей придает сам газ, который находится в ней под избыточным давлением. Когда подсчитали устойчивость аппарата, выяснилось, что без каркаса он даже стал прочнее. Сэкономлена не одна тонна металла.

Монтажник -- одна из самых распространенных слесарных специальностей. И простор для творчества тут необъятный. Современный рабочий -- образованный человек с широким кругозором, заинтересованный не только в заработке, но и в конечном результате своего труда. Как-то раз спросил я у Кучеренко:

-- Не жалеешь, что монтажником стал?

-- Нет,-- ответил он,-- работу свою ни на что не променяю. Она не менее интересна, чем у прибориста. Главное же в том, что после нас небо над городами становится голубее!

ДЛЯ ТЕХ, КТО СРАЗУ ЗАГЛЯНУЛ В КОНЕЦ

Всю свою сознательную жизнь я налаживал, монтировал, совершенствовал, изобретал и пропагандировал устройства, очищающие воздушную среду. Накопился большой опыт. Я написал книгу. Она не относится к тем, которые можно читать за один присест. Предвижу, что иной деловой нетерпеливый инженер захочет сразу отыскать в книге тот раздел, где описываются новинки пылеулавливающей техники. Но у меня получилось так, что эти крупицы опыта я разнес по всему тексту. В главе о "Наладчиках чистого воздуха" рассказал о вихревом отсосе, хотя, казалось бы, его место там, где говорится об устройствах, работающих на вихревом принципе. В разделе о вентиляции, я, к слову, затронул тему о мокрых пылеуловителях, а в "Ассорти из ротора и улитки" описал потерявшего рассудок безвестного итальянского кузнеца. Конечно же, есть в книге и определенная система: это спираль, по которой расположен собранный материал. И в каждом витке разговор вновь и вновь касается циклонов, вихрей, вновь изобретенных систем пылеулавливания. Больше всего мне хотелось познакомить читателя с такими разработками, которые в научных трудах еще не упоминались и классифицированы никем не были.

Возможно, пылеулавливание как предмет легче усвоить по учебникам и специальным трудам. Читателям, желающим основательнее изучить этот вопрос, рекомендую книгу В. Н. Ужова, А. Ю. Вальдберга, Б. И. Мягкова и И. К. Решидова "Очистка промышленных газов от пыли" (Москва, "Химия", 1981).

Я не стремился к предельному упрощению описания техники воздухоочистки, вместе с тем пытался избежать специальных терминов, инженерных штампов и формулировок. Как мне это удалось, пусть судит читатель, я же буду счастлив, если, прочитав эту книгу, несведущий в области воздухоочистки человек заинтересуется ею, а специалист -- найдет мысли, созвучные собственным, или случайно прошедшие мимо его внимания описания изобретений.

содержание

ВВЕДЕНИЕ В ПЫЛЕВЫВЕДЕНИЕ

ловцы пылинок

СМОГ: ТРЕВОГА НОМЕР ОДИН

ЧАСОВЫЕ ЗДОРОВЬЯ

СЛУЖБУ ОЧИСТКИ -- В ОСНОВУ ПРОЕКТИРОВАНИЯ

ЭКСКУРСИЯ по КРЫШАМ

НЕМНОГО О ВИХРЯХ

В ЛАБОРАТОРИЯХ ИССЛЕДОВАТЕЛЕЙ

ПЕРИОДИЧЕСКИЕ СИСТЕМЫ ПЫЛЕУЛОВИТЕЛЕЙ

НАЛАДЧИКИ ЧИСТОГО ВОЗДУХА

ИБ No> 2931

Олег Ильич Жолондковский

ВНИМАНИЕ, ВОЗДУХ!

Заведующий редакцией М.Тесленко

Редактор В.Милехин

Художник В. Карпов

Художественный редактор А.Савельев

Технический редактор В. Дубатова

Корректоры Л. Одинцова, Е. Ишаева

Сдано в набор 26.11.84. Подписано к печати 24.05.85. Л76584. Формат 84Х1081/32. Бумага типографская No 3. Гарнитура "Литературная". Печать высокая. Усл. печ. л. 8,40. Усл. кр.-отт. 8,82. Уч.-изд. л. 8,85. Тираж 50 000 экз. Заказ 158. Цена 25 коп. Ордена Трудового Красного Знамени издательство "Московский рабочий". 101854, ГСП, Москва, Центр, Чистопрудный бульвар, 8. Ордена Ленина типография "Красный пролетарий". 103473, Москва, И-473, Краснопролетарская, 16.


Популярность: 71, Last-modified: Mon, 25 Feb 2002 10:05:14 GmT